| Номер на схеме | Каталожный номер | Название | Количество | Детали | |||
|---|---|---|---|---|---|---|---|
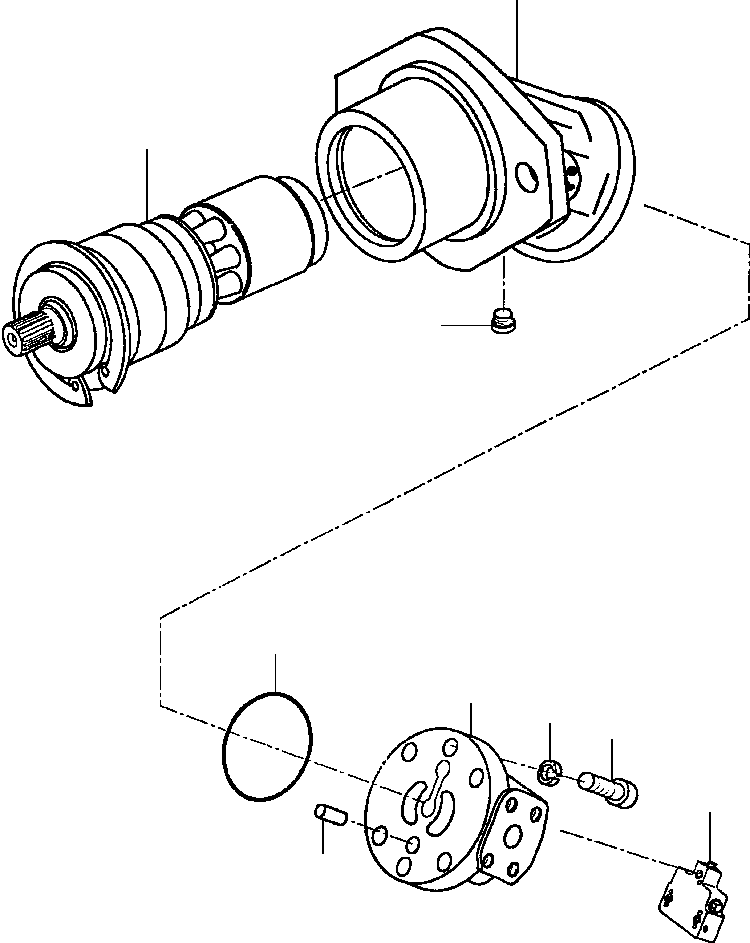
| ? | 1280 436 H91 | MOTOR, DRUM DRIVE | 1 | F2 | |||
| ? | • ROTARY GROUP (SEE PG 10-072) | -29 | 10-072 | ||||
| ? | (NSS) | • HOUSING | 1 | ||||
| ? | 1430 903 H1 | • PLUG | 1 | ||||
| ? | 22 410 R1 | • O-RING | 1 | F1 | |||
| ? | 1430 904 H1 | • PIN, DOWELL | 1 | ||||
| ? | (NSS) | • PLATE, PORT | 1 | ||||
| ? | 933 965 R1 | • WASHER, LOCK | 6 | ||||
| ? | 930 265 R1 | • BOLT | 6 | ||||
| ? | • VALVE, FLUSHING (SEE PG 10-074) | -29 | 10-074 | ||||
| ? | |||||||
| ? | F1 - INCLUDED IN THE FOLLOWING KIT: | ||||||
| ? | 1279 058 H91 | KIT, SEAL | 1 | ||||
| ? | |||||||
| ? | F2 - FOR MOUNTING HARDWARE SEE PG 15-005 OR 15-007 | ||||||
| ? |