| Номер на схеме | Каталожный номер | Название | Количество | Детали | |||
|---|---|---|---|---|---|---|---|
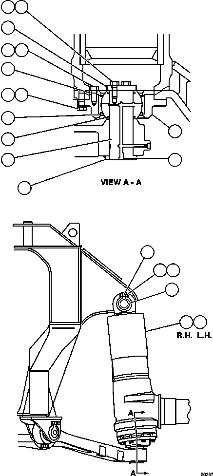
| ? | 01010-81435 | CAPSCREW - M14 X 2.00 X 35 (1) | 4 | ||||
| ? | 01643-31445 | FLAT WASHER - M14 (1) | 4 | ||||
| ? | 281-70-15870 | PLATE (1) | 2 | ||||
| ? | EL5690 | PIN (1) | 1 | ||||
| ? | EG8910 | PIN (2) | 1 | ||||
| ? | 07000-42115 | O-RING (2) | 2 | ||||
| ? | 581-40-21350 | BUSHING (2) | 1 | ||||
| ? | 01010-82470 | CAPSCREW - M24 | 8 | ||||
| ? | 01643-32460 | FLAT WASHER - M24 | 8 | ||||
| ? | 581-40-11171 | COVER (2) | 1 | ||||
| ? | 01010-82455 | CAPSCREW - M24 (2) | 9 | ||||
| ? | 566-30-11250 | PLATE, LOCK (2) | 3 | ||||
| ? | 581-40-11151 | COVER (2) | 1 | ||||
| ? | 581-40-11161 | LOCK (2) | 1 | ||||
| ? | 581-40-11360 | RETAINER | 1 | ||||
| ? | 07043-00211 | PLUG (2)\(3) | 1 | ||||
| ? | EM5220 | FRONT SUSPENSION ASSEMBLY - R.H. (SEE FOLLOWING PAGE) | 1 | ||||
| ? | EM5221 | FRONT SUSPENSION ASSEMBLY - L.H. (SEE FOLLOWING PAGE) | 1 | ||||
| ? | 581-40-11311-02 | BLOCK (2) | 1 | ||||
| ? | AK3668 | NOTE: (1) INCLUDED IN AK3668 FRONT SUSPENSION | |||||
| ? | UPPER PIN KIT. | ||||||
| ? | AK3663 | (2) INCLUDED IN AK3663 FRONT SUSPENSION | |||||
| ? | LOWER PIN KIT. | ||||||
| ? | (3) SUPPLIED WITH EG8910 PIN. | ||||||
| ? | (QUANTITIES SHOWN ARE FOR ONE SIDE ONLY.) |