| Номер на схеме | Каталожный номер | Название | Количество | Детали | |||
|---|---|---|---|---|---|---|---|
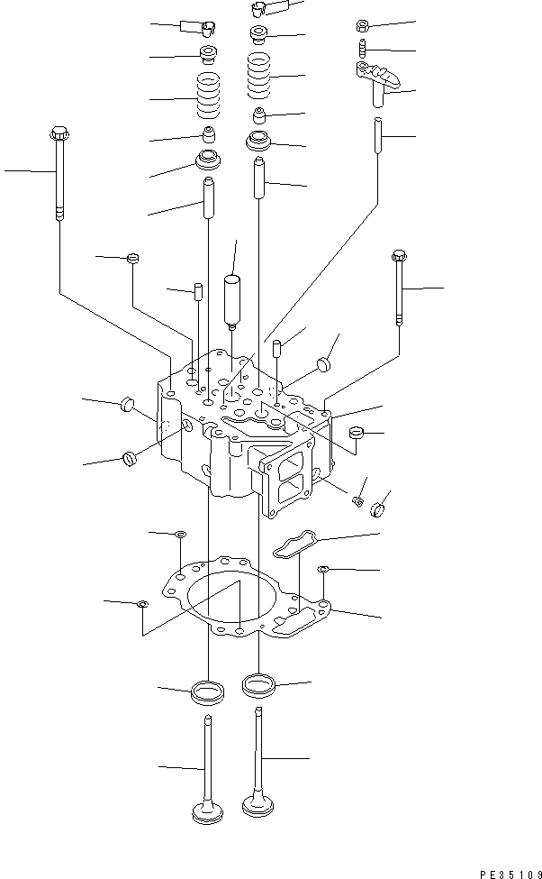
| ? | 6150-12-1100 | CYLINDER HEAD ASS'Y,VALVE LESS | 6 | SN: 61779-67991 |
|||
| ? | ☆ | • HEAD,CYLINDER | 1 | SN: 61779-@ |
|||
| ? | 6136-11-1130 | • SLEEVE | 1 | SN: 61779-@ |
|||
| ? | 6150-11-1320 | • INSERT,EXHAUST VALVE (STD) | 2 | SN: 61779-@ |
|||
| ? | 6150-19-1320 | • INSERT¤ 0.25MM,EXHAUST VALVE (OS) | 2 | SN: 61779-@ |
|||
| ? | 6150-18-1320 | • INSERT¤ 0.50MM,EXHAUST VALVE (OS) | 2 | SN: 61779-@ |
|||
| ? | 6150-17-1320 | • INSERT¤ 0.75MM,EXHAUST VALVE (OS) | 2 | SN: 61779-@ |
|||
| ? | 6150-16-1320 | • INSERT¤ 1.00MM,EXHAUST VALVE (OS) | 2 | SN: 61779-@ |
|||
| ? | 6150-11-1331 | • INSERT,INTAKE VALVE (STD) | 2 | SN: 61779-67991 |
|||
| ? | 6150-19-1331 | • INSERT¤ 0.25MM,INTAKE VALVE (OS) | 2 | SN: 61779-67991 |
|||
| ? | 6150-18-1331 | • INSERT¤ 0.50MM,INTAKE VALVE (OS) | 2 | SN: 61779-67991 |
|||
| ? | 6150-17-1331 | • INSERT¤ 0.75MM,INTAKE VALVE (OS) | 2 | SN: 61779-67991 |
|||
| ? | 6150-16-1331 | • INSERT¤ 1.00MM,INTAKE VALVE (OS) | 2 | SN: 61779-67991 |
|||
| ? | 6150-12-1370 | • GUIDE,VALVE (FOR SERVICE PARTS) | 4 | SN: 61779-@ |
|||
| ? | 07043-70108 | • PLUG | 1 | SN: 61779-@ |
|||
| ? | 6162-13-1150 | • PLUG | 10 | SN: 61779-@ |
|||
| ? | 6150-11-1140 | • GUIDE | 2 | SN: 61779-@ |
|||
| ? | 04020-00820 | • PIN,DOWEL | 2 | SN: 61779-@ |
|||
| ? | 07046-41810 | • PLUG | 1 | SN: 61779-@ |
|||
| ? | 6150-42-4110 | VALVE,INTAKE | 12 | SN: 61779-@ |
|||
| ? | 6150-42-4210 | VALVE,EXHAUST | 12 | SN: 61779-@ |
|||
| ? | 6150-41-4510 | SEAT,UPPER | 24 | SN: 61779-@ |
|||
| ? | 6150-41-4430 | SEAT,LOWER | 24 | SN: 61779-@ |
|||
| ? | 6136-42-4520 | COTTER,VALVE | 48 | SN: 61779-@ |
|||
| ? | 6150-41-4450 | SPRING | 24 | SN: 61779-@ |
|||
| ? | 6150-41-4570 | SEAL,VALVE STEM (K1) | 24 | SN: 61779-@ |
|||
| ? | 6150-42-5600 | CROSSHEAD ASS'Y | 12 | SN: 61779-@ |
|||
| ? | 6150-42-5610 | • CROSSHEAD | 1 | SN: 61779-@ |
|||
| ? | 6150-41-5620 | • SCREW | 1 | SN: 61779-@ |
|||
| ? | 6150-41-5630 | • NUT | 1 | SN: 61779-@ |
|||
| ? | 6150-12-1810 | GASKET,HEAD (K1) | 6 | SN: 61779-@ |
|||
| ? | 6150-11-1920 | • GROMMET,OIL | 1 | SN: 61779-@ |
|||
| ? | 6150-11-1930 | • GROMMET,OIL | 1 | SN: 61779-@ |
|||
| ? | 6150-11-1950 | • GROMMET,WATER | 4 | SN: 61779-@ |
|||
| ? | 6150-12-1960 | • GROMMET,WATER | 1 | SN: 61779-@ |
|||
| ? | 6150-11-1610 | BOLT | 36 | SN: 61779-@ |
|||
| ? | 01438-01020 | BOLT | 6 | SN: 61779-@ |