| Номер на схеме | Каталожный номер | Название | Количество | Детали | |||
|---|---|---|---|---|---|---|---|
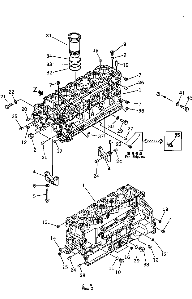
| ? | 6150-21-1103 | CYLINDER BLOCK ASS'Y | 1 | SN: 28631- |
|||
| ? | ▩6150-21-1102 | CYLINDER BLOCK ASS'Y | 1 | SN: 26276-28630 |
|||
| ? | (6150-21-1103{6150-21-2411¤} | ||||||
| ? | 6150-21-2421{6150-21-2431)} | ||||||
| ? | ☆ | • BLOCK,CYLINDER | 1 | SN: 28631- |
|||
| ? | ☆ | • BLOCK,CYLINDER | 1 | SN: 26276-28630 |
|||
| ? | 6150-21-1490 | • BUSHING,CAMSHAFT | 7 | SN: 26276- |
|||
| ? | \5\6150-29-1220 | • CAP,MAIN METAL¤ NO.1¤2¤3¤4¤5¤6 | 6 | SN: 26276- |
|||
| ? | \5\6150-29-1260 | • CAP,MAIN METAL¤ NO.7 | 1 | SN: 26276- |
|||
| ? | 6150-21-1710 | • BOLT | 14 | SN: 26276- |
|||
| ? | 01643-31645 | • WASHER | 14 | SN: 26276- |
|||
| ? | 07043-50108 | • PLUG | 6 | SN: 26276- |
|||
| ? | 07040-12414 | • PLUG | 1 | SN: 26276- |
|||
| ? | 07002-22434 | • O-RING (K2) | 1 | SN: 26276- |
|||
| ? | 07040-13016 | • PLUG | 1 | SN: 26276- |
|||
| ? | 07002-23034 | • O-RING (K2) | 1 | SN: 26276- |
|||
| ? | 07043-50617 | • PLUG | 3 | SN: 26276- |
|||
| ? | 07046-43016 | • PLUG | 2 | SN: 26276- |
|||
| ? | 07046-44016 | • PLUG | 1 | SN: 26276- |
|||
| ? | 07046-22516 | • PLUG | 1 | SN: 26276- |
|||
| ? | 07046-42816 | • PLUG | 2 | SN: 26276- |
|||
| ? | 07046-21210 | • PLUG | 4 | SN: 26276- |
|||
| ? | 04020-00820 | • PIN,DOWEL | 12 | SN: 26276- |
|||
| ? | 6150-21-1170 | • TUBE | 1 | SN: 26276- |
|||
| ? | 6150-41-2430 | • PIN,DOWEL | 3 | SN: 26276- |
|||
| ? | 6110-53-5910 | • PLUG | 1 | SN: 26276- |
|||
| ? | 07005-01412 | • GASKET (K2) | 1 | SN: 26276- |
|||
| ? | 04020-00514 | • PIN,DOWEL | 2 | SN: 26276- |
|||
| ? | 04025-00408 | • PIN,SPRING | 6 | SN: 26276- |
|||
| ? | 04025-00512 | • PIN,SPRING | 1 | SN: 26276- |
|||
| ? | 6150-41-2430 | • PIN,DOWEL | 12 | SN: 26276- |
|||
| ? | 04020-01024 | • PIN,DOWEL | 2 | SN: 26276- |
|||
| ? | 6150-21-4770 | • PIN,DOWEL | 2 | SN: 26276- |
|||
| ? | 01050-51012 | • BOLT | 2 | SN: 26276- |
|||
| ? | 07005-01012 | • GASKET (K2) | 2 | SN: 26276- |
|||
| ? | 6150-21-2222 | LINER,CYLINDER | 6 | SN: 26276- |
|||
| ? | 6150-21-2230 | O-RING,LOWER (K2) | 6 | SN: 26276- |
|||
| ? | 6150-21-2240 | O-RING,UPPER (K2) | 6 | SN: 26276- |
|||
| ? | 6150-21-2250 | SEAL,CREVICE (K2) | 6 | SN: 26276- |
|||
| ? | 08073-00505 | SWITCH | 1 | SN: 26276- |
|||
| ? | 07046-22010 | PLUG | 1 | SN: 26276- |
|||
| ? | 6150-21-5910 | BUSHING | 1 | SN: 26276- |
|||
| ? | 6150-21-1180 | PLUG | 2 | SN: 26276- |
|||
| ? | 6150-21-1190 | O-RING (K2) | 2 | SN: 26276- |
|||
| ? | 01050-51012 | BOLT | 1 | SN: 26276- |
|||
| ? | 07005-01012 | GASKET (K2) | 1 | SN: 26276- |
