| Номер на схеме | Каталожный номер | Название | Количество | Детали | |||
|---|---|---|---|---|---|---|---|
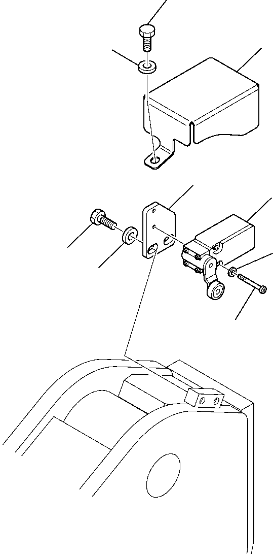
| ? | 395-06-11081 | SENSOR | 1 | SN: 395F70241- |
|||
| ? | 01252-70435 | SCREW | 2 | SN: 395F70241- |
|||
| ? | 01601-20410 | SPRING WASHER | 2 | SN: 395F70241- |
|||
| ? | 395-720-1310 | PLATE | 1 | SN: 395F70241- |
|||
| ? | 01010-80820 | BOLT | 2 | SN: 395F70241- |
|||
| ? | 01643-10823 | WASHER | 4 | SN: 395F70241- |
|||
| ? | 395-720-1300 | PROTECTION | 1 | SN: 395F70241- |
|||
| ? | 01010-80816 | BOLT | 2 | SN: 395F70241- |