k-part
Номер на схеме Каталожный номер Название Количество Детали
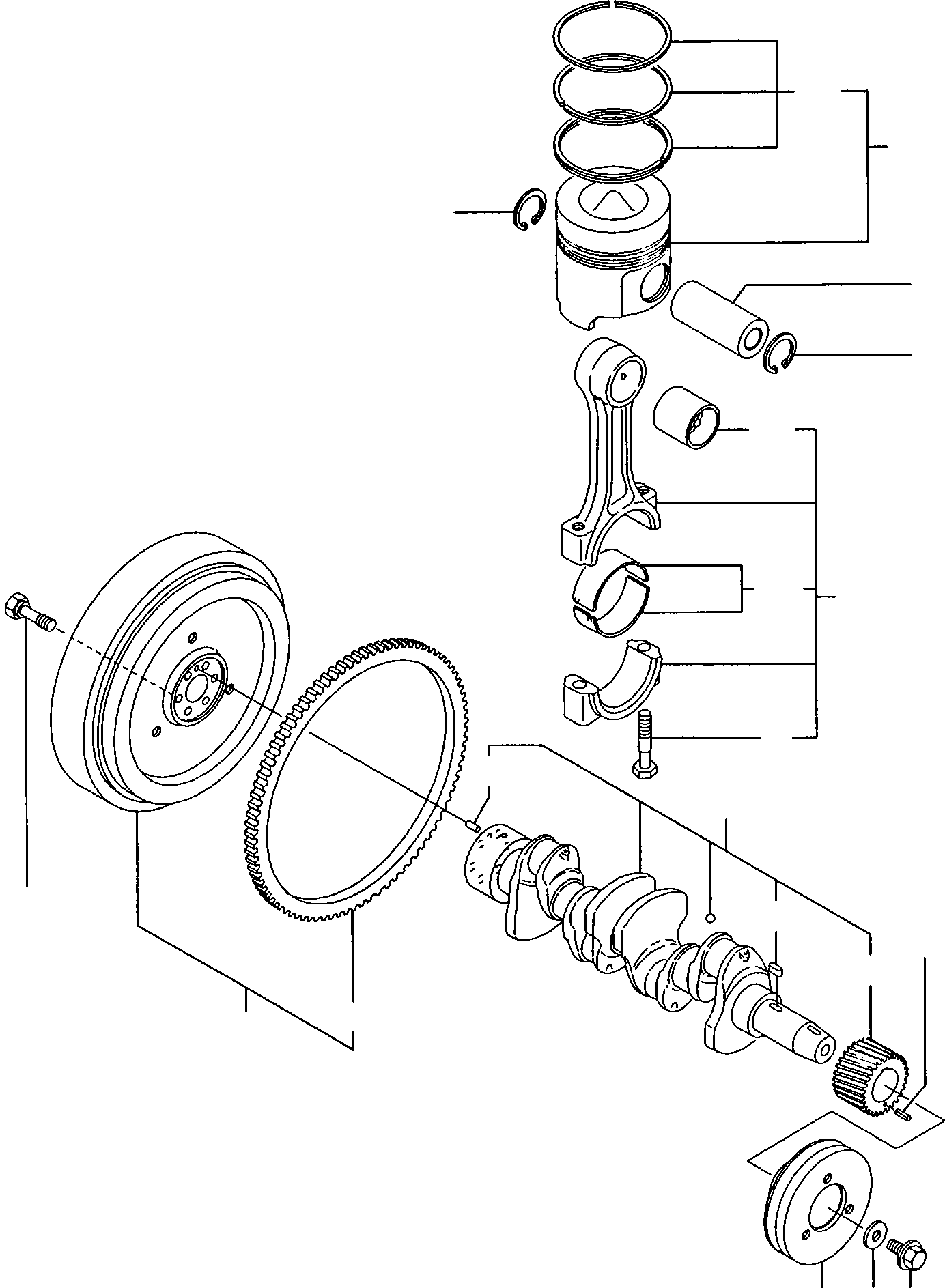
? (37B-01-11201) ENGINE, ASSY.
ENSN: 14180-
? YM129407-21100 • CRANKSHAFT, ASSY. 1
ENSN: 14180-
? YM129100-01580 • • SPRING PIN 1
ENSN: 14180-
? YM129150-21200 • • GEAR 1
ENSN: 14180-
? YM22512-070140 • • KEY 1
ENSN: 14180-
? YM22351-040010 • SPRING PIN 1
ENSN: 14180-
? YM119823-21650 • PULLEY 1
ENSN: 14180-
? YM129795-21661 • WASHER 1
ENSN: 14180-
? YM121850-21680 • BOLT 1
ENSN: 14180-
? YM121111-21501 • SCREW 6
ENSN: 14180-
? YM129489-21590 • FLYWHEEL 1
ENSN: 14180-
? YM119865-21600 • • GEAR, RING 1
ENSN: 14180-
? YM129002-22090 • PISTON, ASSY. 4
ENSN: 14180-
A
? YM129002-22910 • ASSY, PISTON (+0.25 mm) 4
ENSN: 14180-
B
? YM129002-22510 • • RING SET, PISTON 4
ENSN: 14180-
A
? YM129002-22960 • • RING SET (+0.25 mm) 4
ENSN: 14180-
B
? YM129202-22300 • PIN 4
ENSN: 14180-
? YM22252-000260 • CIRCLIP 8
ENSN: 14180-
? YM729402-23100 • CONNECTING ROD, ASSY. 4
ENSN: 14180-
? YM129100-23910 • • BUSHING 4
ENSN: 14180-
? YM121550-23200 • • SCREW 8
ENSN: 14180-
? YM129150-23600 • • BEARING 4
ENSN: 14180-
A
? YM129150-23610 • BEARING (--0.25 mm) 4
ENSN: 14180-
B

Skid Steer Loaders Komatsu / SK815-5 turbo S/N 37BTF00003-Up(sk815t) / CRANKSHAFT AND PISTON(A-0090 : 0241)
?
?
?
?
?
?
?
?
?
?
?
?
?
?
?
?
?
?
?
?