k-part
Номер на схеме Каталожный номер Название Количество Детали
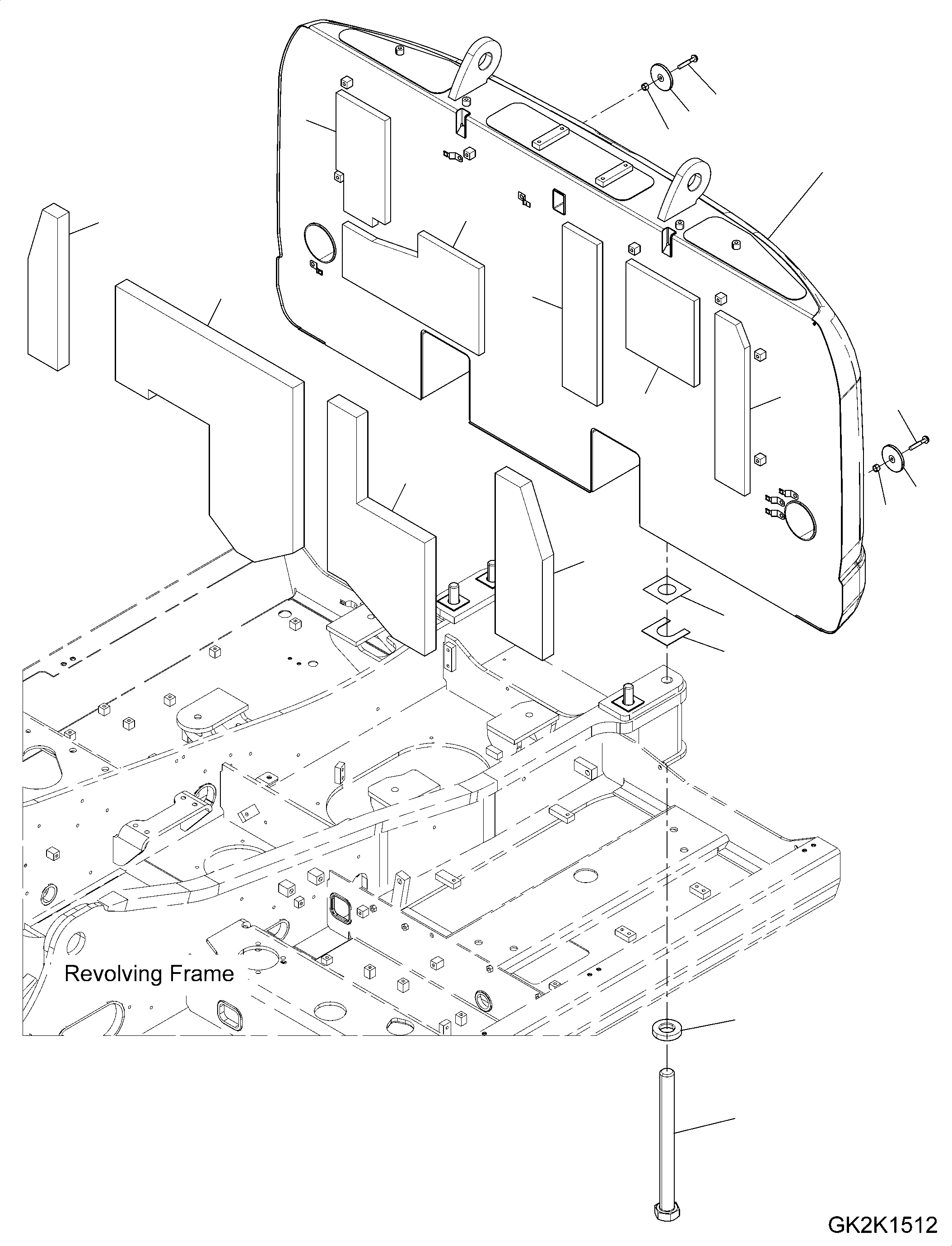
? 20J-46-54111 Counterweight 1
SN: H60051-
KIT-FLAG: _-
SCC:
SERIALNO: H60051-
? 20J-46-55121 Sheet 1
SN: H60051-
KIT-FLAG: _-
SCC:
SERIALNO: H60051-
? 20J-46-55110 Sheet 1
SN: H60051-
KIT-FLAG: _-
SCC:
SERIALNO: H60051-
? 20J-46-55131 Sheet 1
SN: H60051-
KIT-FLAG: _-
SCC:
SERIALNO: H60051-
? 20J-46-55141 Sheet 1
SN: H60051-
KIT-FLAG: _-
SCC:
SERIALNO: H60051-
? 20J-46-55151 Sheet 1
SN: H60051-
KIT-FLAG: _-
SCC:
SERIALNO: H60051-
? 20J-46-55161 Sheet 1
SN: H60051-
KIT-FLAG: _-
SCC:
SERIALNO: H60051-
? 20J-46-55181 Sheet 1
SN: H60051-
KIT-FLAG: _-
SCC:
SERIALNO: H60051-
? 20J-46-55191 Sheet 1
SN: H60051-
KIT-FLAG: _-
SCC:
SERIALNO: H60051-
? 20J-46-55211 Sheet 1
SN: H60051-
KIT-FLAG: _-
SCC:
SERIALNO: H60051-
? 20G-47-K1690 Reflector 2
SN: H60051-
KIT-FLAG: _-
SCC:
SERIALNO: H60051-
? 01023-10530 Screw 2
SN: H60051-
KIT-FLAG: _-
SCC:
SERIALNO: H60051-
? 426-56-31890 Washer 2
SN: H60051-
KIT-FLAG: _-
SCC:
SERIALNO: H60051-
? 207-46-52130 Washer 4
SN: H60051-
KIT-FLAG: _-
SCC:
SERIALNO: H60051-
? 20G-46-41490 Bolt 4
SN: H60051-
KIT-FLAG: _-
SCC:
SERIALNO: H60051-
? 20Y-46-11410 Plate 4
SN: H60051-
KIT-FLAG: _-
SCC:
SERIALNO: H60051-
? 21P-46-K1780 Plate 4
SN: H60051-
KIT-FLAG: _-
SCC:
SERIALNO: H60051-

Excavators Komatsu / PW180-10 S/N H60051-UP(PW18010H) / Counterweight(M010001 : M1510-001001)
?
?
?
?
?
?
?
?
?
?
?
?
?
?
?
?
?
?
?
?