k-part
Номер на схеме Каталожный номер Название Количество Детали
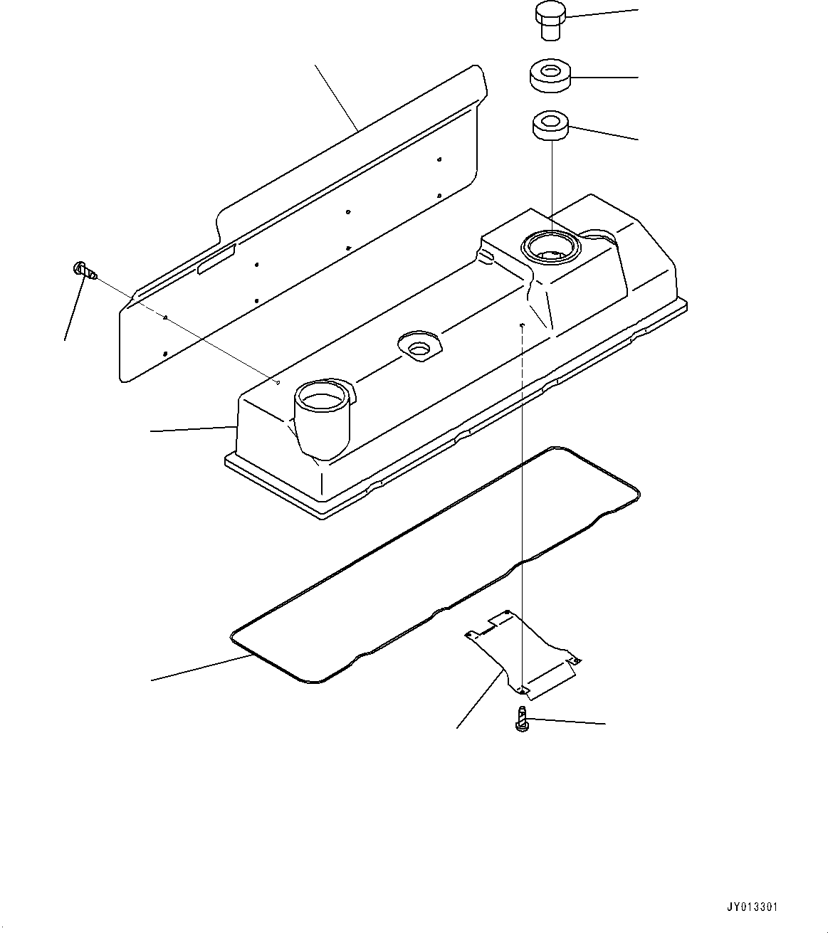
? 6271-11-8200 HEAD COVER ASSEMBLY 1
SN: 504690-
? 6271-11-8210 • COVER, HEAD 1
SN: 504690-
? 6207-11-8140 • PLATE 1
SN: 504690-
? 04418-02550 • SCREW 4
SN: 504690-
? 6204-11-8810 • O-RING 1
SN: 504690-
? 6136-11-8120 NUT 3
SN: 504690-
? 6136-11-8130 WASHER 3
SN: 504690-
? 6136-11-8142 PACKING 3
SN: 504690-
? 6271-11-9120 PLATE 1
SN: 504690-
? 04418-02550 SCREW 8
SN: 504690-

Engines Komatsu / SAA4D95LE_5A S/N 500001-UP(saa4d91u) / HEAD COVER (#504690-)(001004 : A111P-01C8A)
?
?
?
?
?
?
?
?
?