| Номер на схеме | Каталожный номер | Название | Количество | Детали | |||
|---|---|---|---|---|---|---|---|
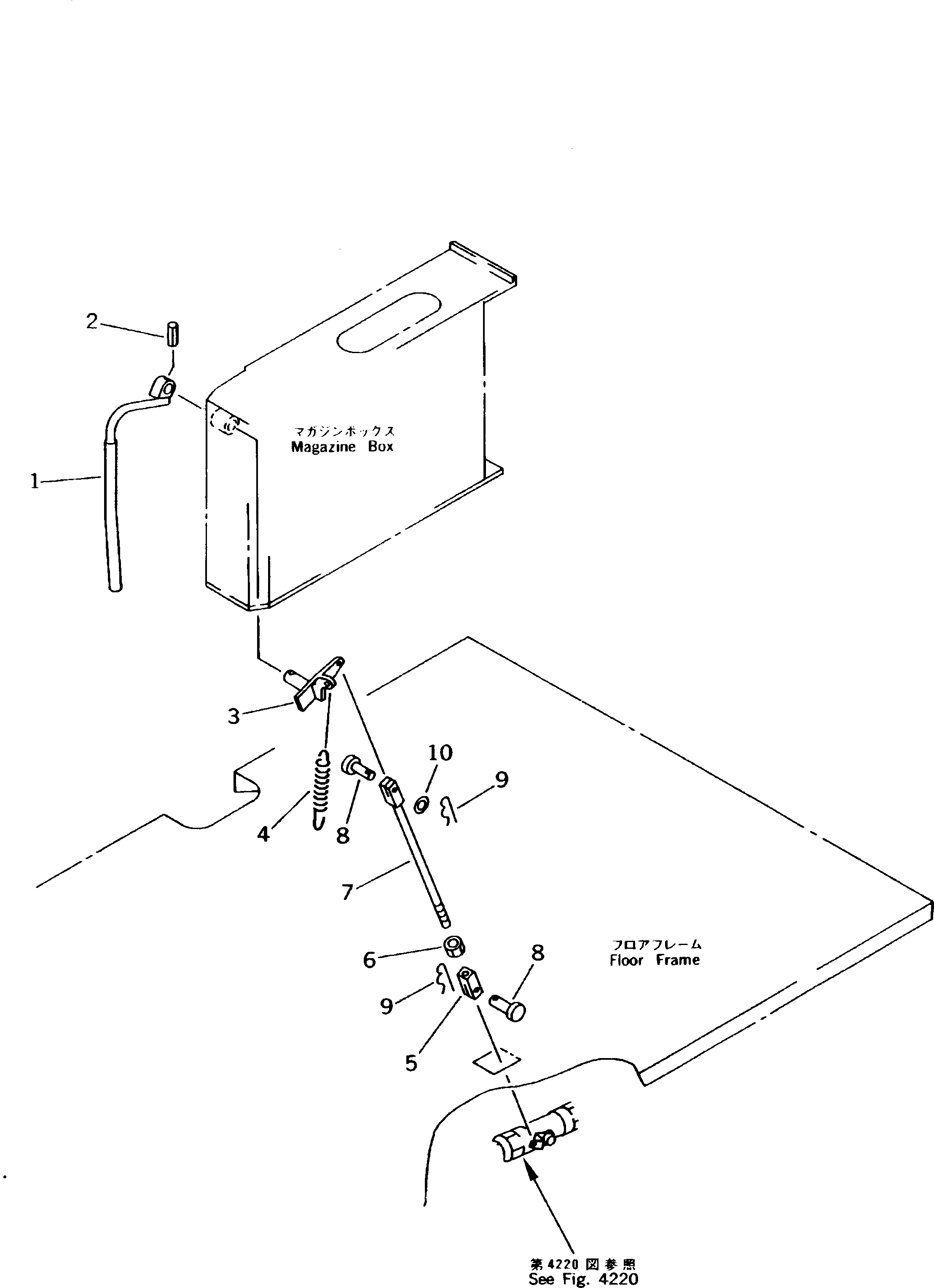
| ? | 20Y-43-K1320 | HANDLE | 1 | SN: K20001- |
|||
| ? | 04025-00632 | PIN,SPRING | 1 | SN: K20001- |
|||
| ? | 20Y-43-K1330 | LEVER | 1 | SN: K20001- |
|||
| ? | 20Y-43-K1310 | SPRING | 1 | SN: K20001- |
|||
| ? | 04211-20634 | YOKE | 1 | SN: K20001- |
|||
| ? | 01580-10605 | NUT | 1 | SN: K20001- |
|||
| ? | 04244-50630 | ROD | 1 | SN: K20001- |
|||
| ? | 04205-10618 | PIN | 2 | SN: K20001- |
|||
| ? | 04052-10633 | PIN,SNAP | 2 | SN: K20001- |
|||
| ? | 01641-20608 | WASHER | 1 | SN: K20001- |
