| Номер на схеме | Каталожный номер | Название | Количество | Детали | |||
|---|---|---|---|---|---|---|---|
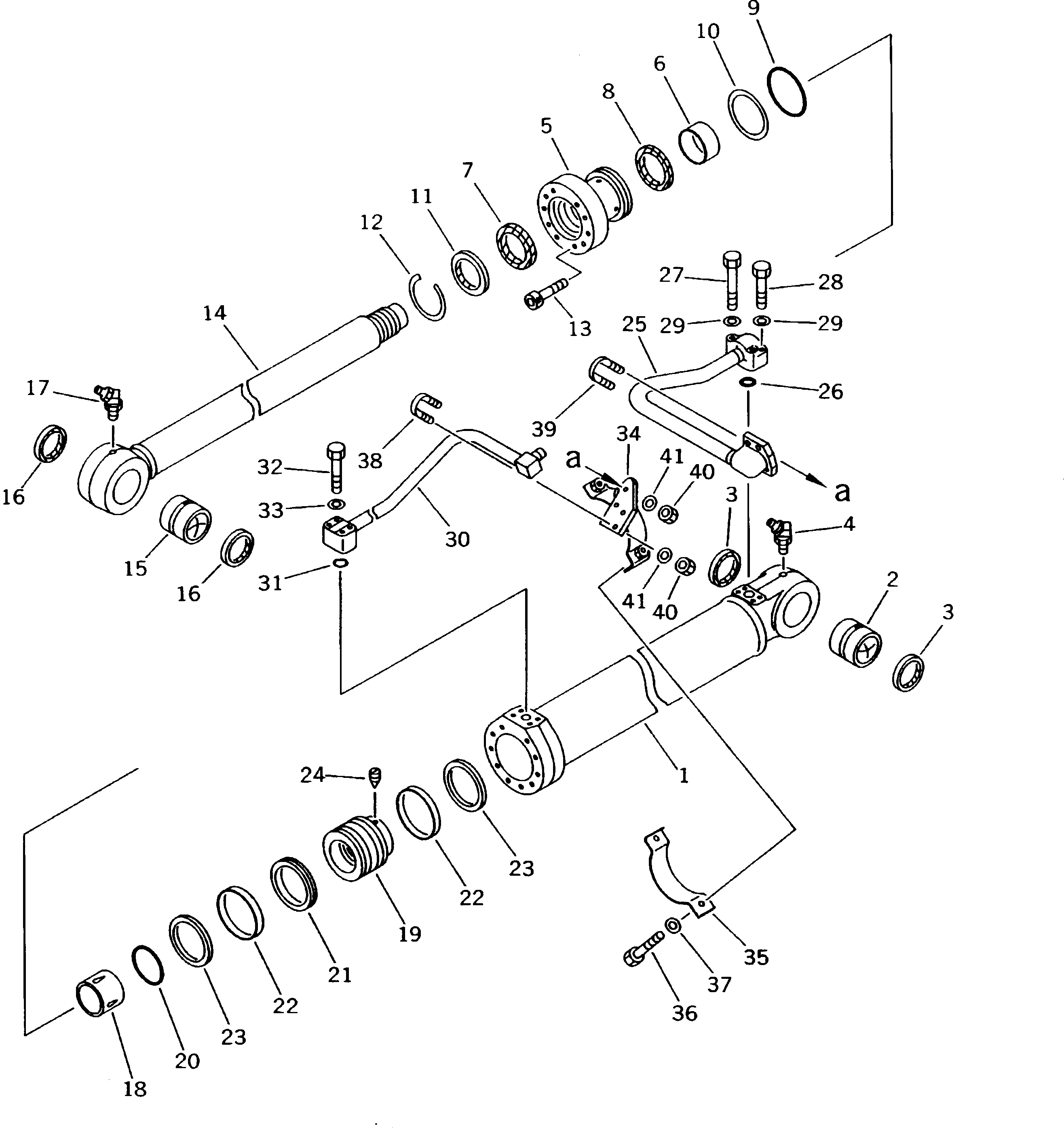
| ? | 20G-63-K1140 | CYLINDER ASS'Y,1ST BOOM | 2 | SN: K20001- |
|||
| ? | 20G-63-K1160 | • CYLINDER | 1 | SN: K20001- |
|||
| ? | 707-76-70330 | • BUSHING | 1 | SN: K20001- |
|||
| ? | 07145-00070 | • SEAL,DUST | 2 | SN: K20001- |
|||
| ? | 203-63-K2370 | • FITTING,GREASE | 1 | SN: K20001- |
|||
| ? | 20G-63-K1190 | • HEAD,CYLINDER | 1 | SN: K20001- |
|||
| ? | 707-52-90500 | • BUSHING | 1 | SN: K20001- |
|||
| ? | 707-51-75030 | • PACKING,ROD | 1 | SN: K20001- |
|||
| ? | 707-51-75630 | • RING,BUFFER | 1 | SN: K20001- |
|||
| ? | 21P-63-K1690 | • O-RING | 1 | SN: K20001- |
|||
| ? | 21P-63-K1660 | • RING,BACK-UP | 1 | SN: K20001- |
|||
| ? | 144-63-94170 | • SEAL,DUST | 1 | SN: K20001- |
|||
| ? | 203-63-K2090 | • RING,SNAP | 1 | SN: K20001- |
|||
| ? | 203-63-K2120 | • BOLT | 10 | SN: K20001- |
|||
| ? | 20G-63-K1170 | • ROD,PISTON | 1 | SN: K20001- |
|||
| ? | 707-76-80230 | • BUSHING | 1 | SN: K20001- |
|||
| ? | 07145-00080 | • SEAL,DUST | 2 | SN: K20001- |
|||
| ? | 203-63-K2370 | • FITTING,GREASE | 1 | SN: K20001- |
|||
| ? | 707-52-90500 | • BUSHING | 1 | SN: K20001- |
|||
| ? | 20G-63-K1210 | • PISTON | 1 | SN: K20001- |
|||
| ? | 20G-63-K1240 | • O-RING | 1 | SN: K20001- |
|||
| ? | 707-44-11180 | • RING,PISTON | 1 | SN: K20001- |
|||
| ? | 707-39-11110 | • RING,WEAR | 2 | SN: K20001- |
|||
| ? | 707-44-11911 | • RING | 2 | SN: K20001- |
|||
| ? | 203-63-K2050 | • SCREW,SET | 1 | SN: K20001- |
|||
| ? | 20G-62-K1640 | TUBE,L.H. | 1 | SN: K20001- |
|||
| ? | 20G-63-K1650 | COLLAR,R.H. | 1 | SN: K20001- |
|||
| ? | 07000-13030 | O-RING | 2 | SN: K20001- |
|||
| ? | 01010-51060 | BOLT | 4 | SN: K20001- |
|||
| ? | 01010-51045 | BOLT | 4 | SN: K20001- |
|||
| ? | 01643-51032 | WASHER | 8 | SN: K20001- |
|||
| ? | 20G-62-K1660 | TUBE,L.H. | 1 | SN: K20001- |
|||
| ? | 20G-62-K1670 | TUBE,R.H. | 1 | SN: K20001- |
|||
| ? | 07000-13025 | O-RING | 2 | SN: K20001- |
|||
| ? | 01010-50850 | BOLT | 8 | SN: K20001- |
|||
| ? | 01643-50823 | WASHER | 8 | SN: K20001- |
|||
| ? | 20G-62-K1680 | BRACKET,L.H. | 1 | SN: K20001- |
|||
| ? | 20G-62-K1690 | BRACKET,R.H. | 1 | SN: K20001- |
|||
| ? | 707-88-97750 | BAND | 2 | SN: K20001- |
|||
| ? | 01010-51035 | BOLT | 4 | SN: K20001- |
|||
| ? | 01643-51032 | WASHER | 4 | SN: K20001- |
|||
| ? | 07283-22738 | CLIP | 2 | SN: K20001- |
|||
| ? | 07283-22236 | CLIP | 2 | SN: K20001- |
|||
| ? | 01599-01011 | NUT | 8 | SN: K20001- |
|||
| ? | 01643-31032 | WASHER | 8 | SN: K20001- |
