k-part
Номер на схеме Каталожный номер Название Количество Детали
? (723-48-21101) VALVE ASS'Y 1
SN: K40062-
? (723-48-21100) VALVE ASS'Y 1
SN: K40001-K40061
? THESE ASSEMBLIES CONSIST OF ALL PARTS SHOWN IN FIGS.Y1664-01A0 TO Y1664-20A0.
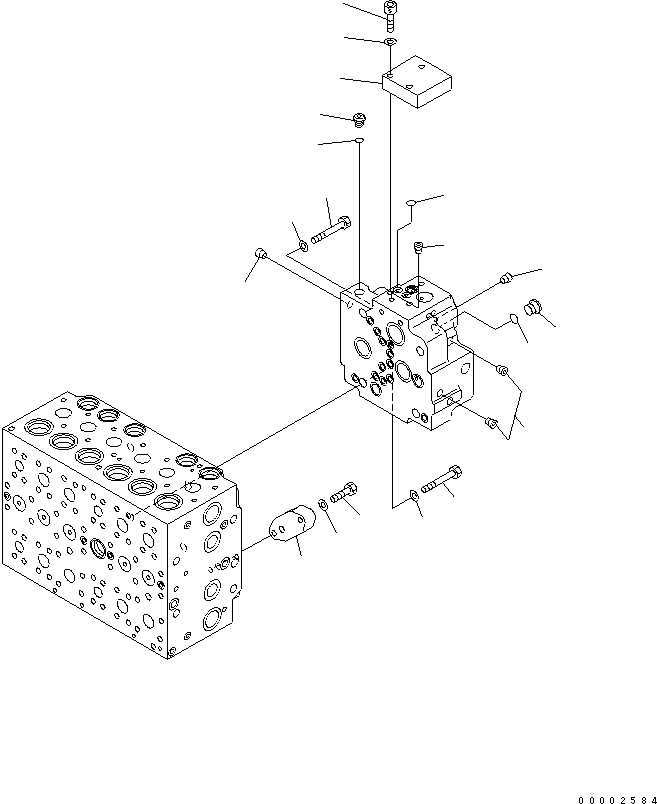
? (723-40-71301) • VALVE ASS'Y 1
SN: K40001-
? THIS ASSEMBLY CONSISTS OF ALL PARTS SHOWN IN FIGS.Y1664-13A0 AND Y1664-14A0.
? • • BLOCK 1
SN: K40001-
? 01252-61040 • • BOLT 3
SN: K40001-
? 01643-51032 • • WASHER 3
SN: K40001-
? 702-21-55620 • • PLUG 1
SN: K40001-
? 07002-11423 • • O-RING 1
SN: K40001-
? 708-8E-16160 • • PLUG 1
SN: K40001-
? 07002-11023 • • O-RING 1
SN: K40001-
? 07000-12011 • • O-RING 1
SN: K40001-
? • • PLUG 5
SN: K40001-
? 01010-61470 • BOLT 3
SN: K40001-
? 01010-61460 • BOLT 1
SN: K40001-
? 01643-31445 • WASHER 4
SN: K40001-
? 723-46-17560 • PLATE 1
SN: K40001-
? 01643-51032 • WASHER 2
SN: K40001-
? 01010-81040 • BOLT 2
SN: K40001-

Excavators Komatsu / PW220-7K-KA S/N K40001-UP(pw220-0u) / MAIN VALVE (8-SPOOL) (14/20) (FOR 2-PIECE BOOM)(540630 : Y1664-14A0)
?
?
?
?
?
?
?
?
?
?
?
?
?
?
?
?
?
?
?