| Номер на схеме | Каталожный номер | Название | Количество | Детали | |||
|---|---|---|---|---|---|---|---|
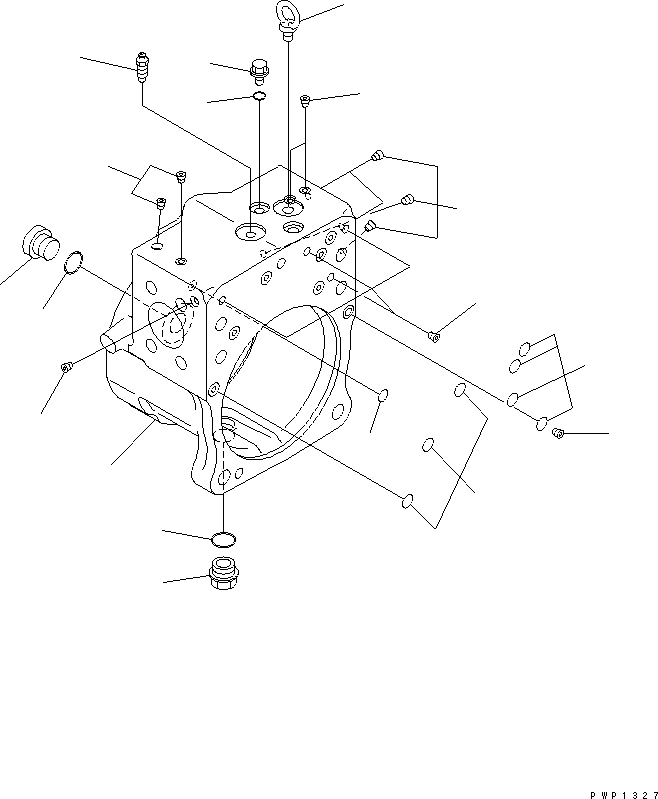
| ? | (708-2L-00202) | PUMP ASS'Y | 1 | SN: K40014- |
|||
| ? | (708-2L-00200) | PUMP ASS'Y | 1 | SN: K40001-K40013 |
|||
| ? | THESE ASSEMBLIES CONSIST OF ALL PARTS SHOWN IN FIGS.Y1600-01A0 TO Y1600-11A0. | ||||||
| ? | (708-2L-01203) | • PUMP SUB ASS'Y | 1 | SN: K40014- |
|||
| ? | (708-2L-01201) | • PUMP SUB ASS'Y | 1 | SN: K40001-K40013 |
|||
| ? | (★708-2L-06252) | • • CASE ASS'Y,REAR | 1 | SN: K40001- |
|||
| ? | ☆ | • • • CASE,REAR | 1 | SN: K40001- |
|||
| ? | ☆ | • • • PLUG | 13 | SN: K40001- |
|||
| ? | (★07000-B1009) | • • O-RING | 1 | SN: K40001- |
|||
| ? | (★708-1L-29340) | • • ORIFICE | 1 | SN: K40001- |
|||
| ? | (★708-2L-41170) | • • O-RING | 7 | SN: K40001- |
|||
| ? | 07044-12412 | • • PLUG | 1 | SN: K40001- |
|||
| ? | 07002-62434 | • • O-RING | 1 | SN: K40001- |
|||
| ? | 04530-11222 | • • BOLT,EYE | 1 | SN: K40014- |
|||
| ? | 04530-01222 | • • BOLT,EYE | 1 | SN: K40001-K40013 |
|||
| ? | 20B-27-11210 | • • BLEEDER | 1 | SN: K40001- |
|||
| ? | 708-8E-16150 | • • PLUG | 1 | SN: K40001- |
|||
| ? | 07002-61023 | • • O-RING | 1 | SN: K40001- |
|||
| ? | 07040-12414 | • • PLUG | 1 | SN: K40001- |
|||
| ? | 07002-62434 | • • O-RING | 1 | SN: K40001- |