| Номер на схеме | Каталожный номер | Название | Количество | Детали | |||
|---|---|---|---|---|---|---|---|
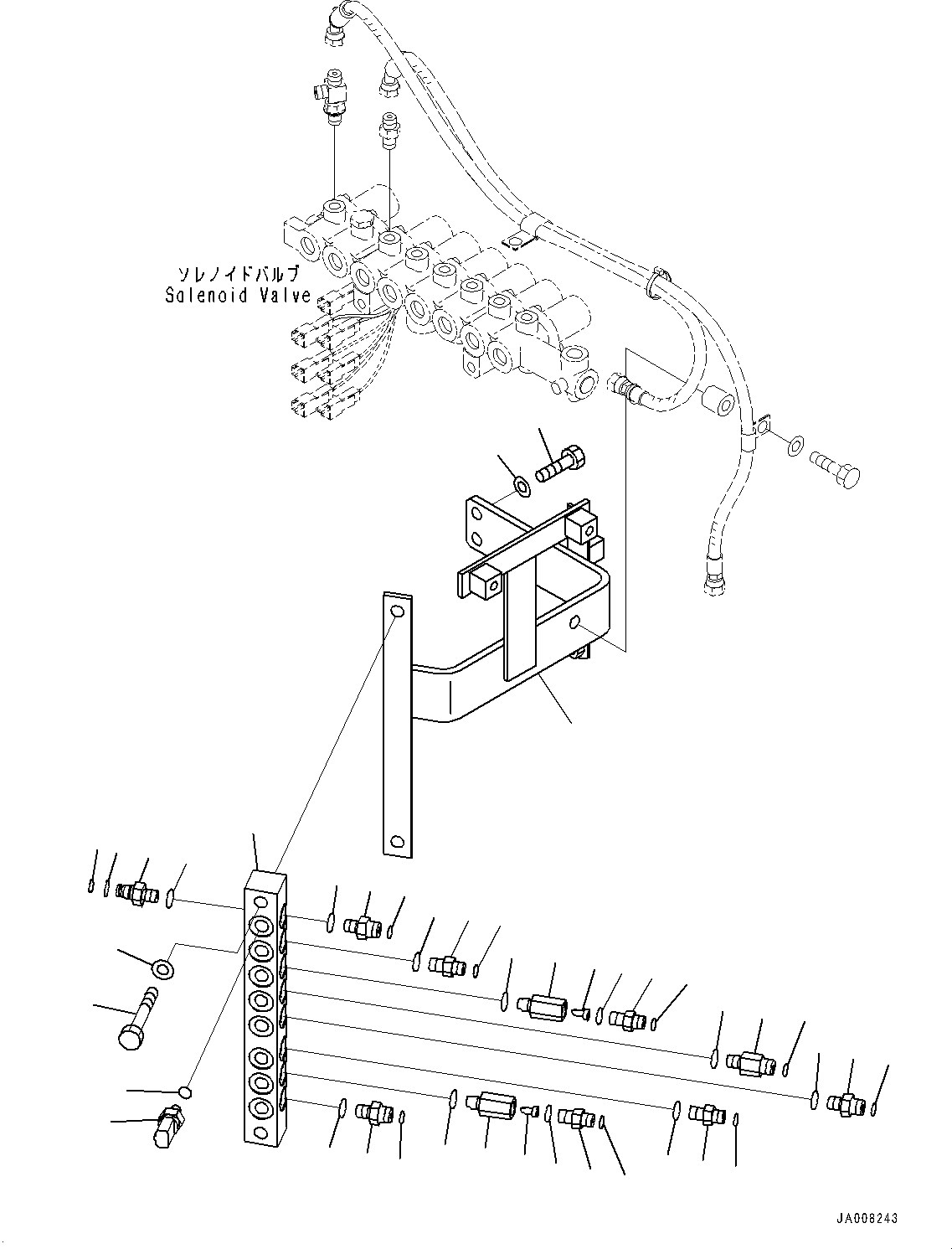
| ? | 2A5-62-12771 | Block | 1 | SN: K60001- KIT-FLAG: _- SCC: SERIALNO: K60001- |
|||
| ? | 7861-93-1840 | Sensor | 8 | SN: K60001- KIT-FLAG: _- SCC: SERIALNO: K60001- |
|||
| ? | 07000-12011 | • O-Ring | 1 | SN: K60001- KIT-FLAG: _- SCC: SERIALNO: K60001- |
|||
| ? | 20Y-62-16630 | Nipple | 8 | SN: K60001- KIT-FLAG: _- SCC: SERIALNO: K60001- |
|||
| ? | 201-60-11390 | • O-Ring | 1 | SN: K60001- KIT-FLAG: _- SCC: SERIALNO: K60001- |
|||
| ? | 20Y-62-19560 | • O-Ring | 1 | SN: K60001- KIT-FLAG: _- SCC: SERIALNO: K60001- |
|||
| ? | 07002-11423 | O-Ring | 8 | SN: K60001- KIT-FLAG: _- SCC: SERIALNO: K60001- |
|||
| ? | 11Y-62-12130 | Nipple | 2 | SN: K60001- KIT-FLAG: _- SCC: SERIALNO: K60001- |
|||
| ? | 11Y-62-12520 | Union | 3 | SN: K60001- KIT-FLAG: _- SCC: SERIALNO: K60001- |
|||
| ? | 207-60-71400 | Valve Assembly | 2 | SN: K60001- KIT-FLAG: _- SCC: SERIALNO: K60001- |
|||
| ? | 20Y-60-11750 | • Poppet | 1 | SN: K60001- KIT-FLAG: _- SCC: SERIALNO: K60001- |
|||
| ? | • Body | 1 | SN: K60001- KIT-FLAG: _- SCC: C1 SERIALNO: K60001- |
||||
| ? | 21W-62-43930 | • Nipple | 1 | SN: K60001- KIT-FLAG: _- SCC: SERIALNO: K60001- |
|||
| ? | 07002-11423 | • O-Ring | 1 | SN: K60001- KIT-FLAG: _- SCC: SERIALNO: K60001- |
|||
| ? | 20U-62-41730 | Union | 1 | SN: K60001- KIT-FLAG: _- SCC: SERIALNO: K60001- |
|||
| ? | 07002-11423 | O-Ring | 8 | SN: K60001- KIT-FLAG: _- SCC: SERIALNO: K60001- |
|||
| ? | 02896-11008 | O-Ring | 4 | SN: K60001- KIT-FLAG: _- SCC: SERIALNO: K60001- |
|||
| ? | 02896-11009 | O-Ring | 4 | SN: K60001- KIT-FLAG: _- SCC: SERIALNO: K60001- |
|||
| ? | 207-62-45620 | Bracket | 1 | SN: K60001- KIT-FLAG: _- SCC: SERIALNO: K60001- |
|||
| ? | 01010-81235 | Bolt | 2 | SN: K60001- KIT-FLAG: _- SCC: SERIALNO: K60001- |
|||
| ? | 01643-31232 | Washer | 2 | SN: K60001- KIT-FLAG: _- SCC: SERIALNO: K60001- |
|||
| ? | 01010-81265 | Bolt | 2 | SN: K60001- KIT-FLAG: _- SCC: SERIALNO: K60001- |
|||
| ? | 01643-31232 | Washer | 2 | SN: K60001- KIT-FLAG: _- SCC: SERIALNO: K60001- |