k-part
Номер на схеме Каталожный номер Название Количество Детали
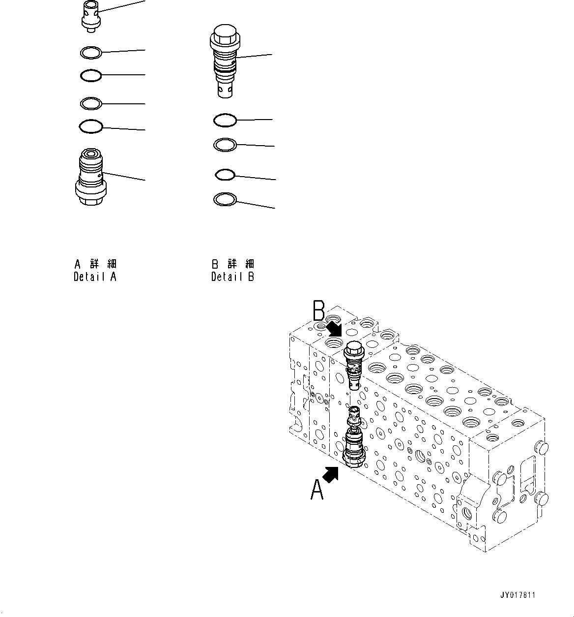
? 723-48-26900 Valve Assembly, Control 1
SN: K60001-
KIT-FLAG: _-
SCC:
SERIALNO: K60001-
? • Body Subassembly 1
SN: K60001-
KIT-FLAG: _-
SCC: C1
SERIALNO: K60001-
? 723-46-41210 • • Valve 1
SN: K60001-
KIT-FLAG: _-
SCC:
SERIALNO: K60001-
? 723-46-40601 • • Valve Assembly 1
SN: K60001-
KIT-FLAG: _-
SCC:
SERIALNO: K60001-
? 700-93-11320 • • • O-Ring 1
SN: K60001-
KIT-FLAG: _-
SCC:
SERIALNO: K60001-
? 723-46-41950 • • • Ring, Back-Up 2
SN: K60001-
KIT-FLAG: _-
SCC:
SERIALNO: K60001-
? 07002-13634 • • • O-Ring 1
SN: K60001-
KIT-FLAG: _-
SCC:
SERIALNO: K60001-
? 723-46-47500 • • Valve Assembly 1
SN: K60001-
KIT-FLAG: _-
SCC:
SERIALNO: K60001-
? 700-93-11320 • • • O-Ring 1
SN: K60001-
KIT-FLAG: _-
SCC:
SERIALNO: K60001-
? 723-46-41950 • • • Ring, Back-Up 2
SN: K60001-
KIT-FLAG: _-
SCC:
SERIALNO: K60001-
? 07002-13634 • • • O-Ring 1
SN: K60001-
KIT-FLAG: _-
SCC:
SERIALNO: K60001-

Excavators Komatsu / PC360LC-10 S/N K60001-UP(PC360L2U) / Main Control Valve, with 1-additional Actuator Piping, Accumulator, Anti-drop Valve, Boom and Arm, Inner Parts (16/23)(H004016 : H0120-003016)
?
?
?
?
?
?
?
?
?
?
?