| Номер на схеме | Каталожный номер | Название | Количество | Детали | |||
|---|---|---|---|---|---|---|---|
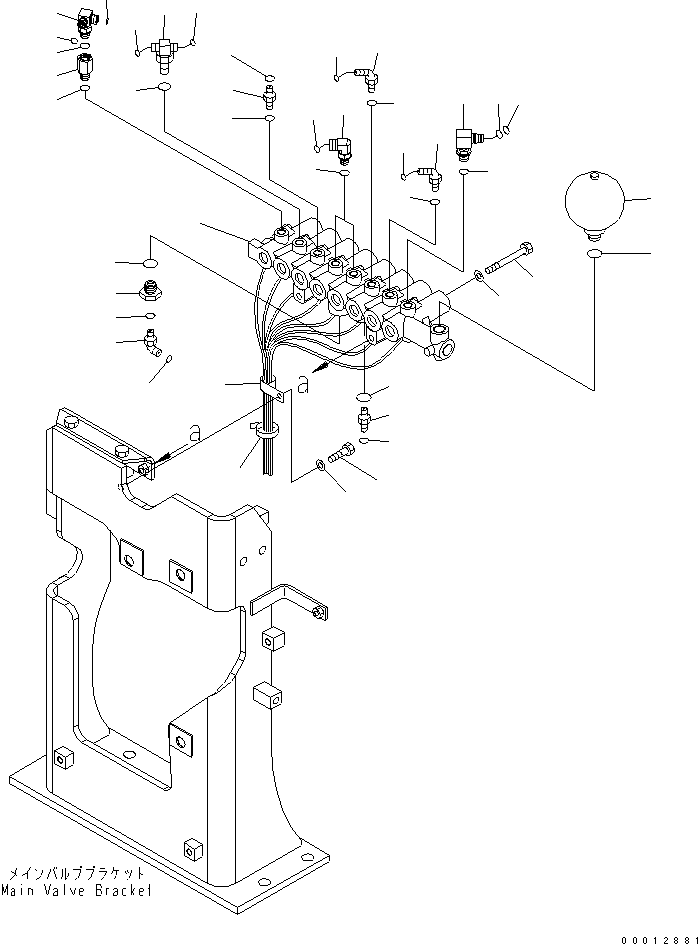
| ? | (207-60-71320) | VALVE ASS'Y,(SEE FIG.Y1860-01A0) | 1 | SN: K40001- |
|||
| ? | 04434-52112 | CLIP | 1 | SN: K40001- |
|||
| ? | 01010-81225 | BOLT | 1 | SN: K40001- |
|||
| ? | 01643-31232 | WASHER | 1 | SN: K40001- |
|||
| ? | 08034-20536 | BAND | 1 | SN: K40001- |
|||
| ? | 20Y-62-22271 | ELBOW | 1 | SN: K40001- |
|||
| ? | 201-60-11390 | • O-RING | 1 | SN: K40001- |
|||
| ? | 20Y-62-19560 | • O-RING | 1 | SN: K40001- |
|||
| ? | 208-62-71750 | ELBOW | 1 | SN: K40001- |
|||
| ? | 02896-11008 | O-RING | 1 | SN: K40001- |
|||
| ? | 02783-10210 | ELBOW | 1 | SN: K40001- |
|||
| ? | 02896-11008 | O-RING | 1 | SN: K40001- |
|||
| ? | 21W-62-42490 | ELBOW | 2 | SN: K40001- |
|||
| ? | 02896-11009 | O-RING | 2 | SN: K40001- |
|||
| ? | 11Y-62-12130 | NIPPLE | 1 | SN: K40001- |
|||
| ? | 02896-11008 | O-RING | 1 | SN: K40001- |
|||
| ? | 20Y-62-43690 | TEE | 1 | SN: K40001- |
|||
| ? | 02896-11008 | O-RING | 2 | SN: K40001- |
|||
| ? | 21M-62-16350 | ADAPTER | 1 | SN: K40001- |
|||
| ? | 207-62-72141 | ELBOW | 1 | SN: K40001- |
|||
| ? | 02896-11008 | O-RING | 2 | SN: K40001- |
|||
| ? | 07002-11423 | O-RING | 9 | SN: K40001- |
|||
| ? | 02781-00315 | UNION | 1 | SN: K40001- |
|||
| ? | 02896-11009 | O-RING | 1 | SN: K40001- |
|||
| ? | 07002-12034 | O-RING | 1 | SN: K40001- |
|||
| ? | 20Y-62-21940 | FILTER ASS'Y | 1 | SN: K40001- |
|||
| ? | 07002-12034 | O-RING | 1 | SN: K40001- |
|||
| ? | 21W-62-42490 | ELBOW | 1 | SN: K40001- |
|||
| ? | 02896-11009 | O-RING | 1 | SN: K40001- |
|||
| ? | 07002-11423 | O-RING | 1 | SN: K40001- |
|||
| ? | 01010-81090 | BOLT | 2 | SN: K40001- |
|||
| ? | 01643-31032 | WASHER | 2 | SN: K40001- |
|||
| ? | 22U-60-21330 | ACCUMULATOR | 1 | SN: K40001- |
|||
| ? | 07002-12034 | O-RING | 1 | SN: K40001- |