| Номер на схеме | Каталожный номер | Название | Количество | Детали | |||
|---|---|---|---|---|---|---|---|
| ? | (208-53-00363) | Cab Assembly | 1 | SN: K60106- KIT-FLAG: _- SCC: SERIALNO: K60106- |
|||
| ? | (208-53-00362) | Cab Assembly | 1 | SN: K60054-K60105 KIT-FLAG: _- SCC: A2 SERIALNO: K60054-K60105 |
|||
| ? | (208-53-00361) | Cab Assembly | 1 | SN: K60001-K60053 KIT-FLAG: _- SCC: SERIALNO: K60001-K60053 |
|||
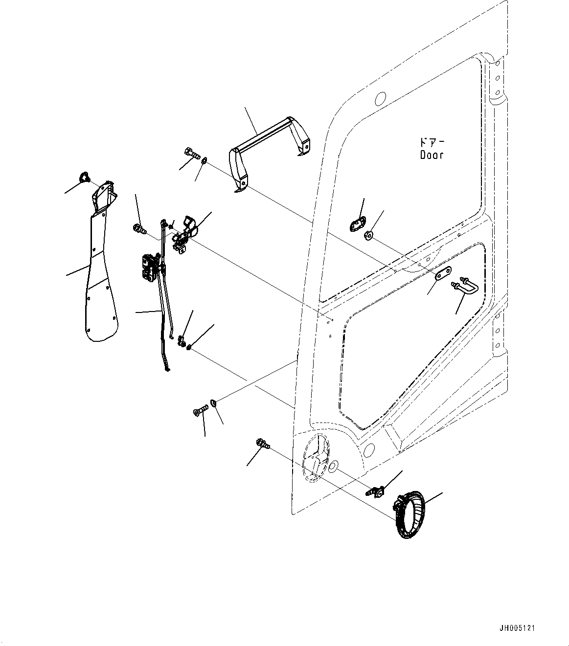
| ? | (2A5-53-00024) | • Door Assembly | 1 | SN: K60106- KIT-FLAG: _- SCC: SERIALNO: K60106- |
|||
| ? | (2A5-53-00023) | • Door Assembly | 1 | SN: K60054-K60105 KIT-FLAG: _- SCC: A2 SERIALNO: K60054-K60105 |
|||
| ? | (2A5-53-00022) | • Door Assembly | 1 | SN: K60001-K60053 KIT-FLAG: _- SCC: SERIALNO: K60001-K60053 |
|||
| ? | 20Y-53-12201 | • • Latch Assembly | 1 | SN: K60001- KIT-FLAG: _- SCC: SERIALNO: K60001- |
|||
| ? | 20Y-54-52300 | • • Handle Assembly | 1 | SN: K60001- KIT-FLAG: _- SCC: SERIALNO: K60001- |
|||
| ? | 22B-54-16340 | • • • Snap | 1 | SN: K60001- KIT-FLAG: _- SCC: SERIALNO: K60001- |
|||
| ? | 01023-10612 | • • Screw | 3 | SN: K60001- KIT-FLAG: _- SCC: SERIALNO: K60001- |
|||
| ? | 20Y-53-12991 | • • Handle | 1 | SN: K60001- KIT-FLAG: _- SCC: SERIALNO: K60001- |
|||
| ? | 01023-10612 | • • Screw | 3 | SN: K60001- KIT-FLAG: _- SCC: SERIALNO: K60001- |
|||
| ? | 01240-00616 | • • Screw | 3 | SN: K60001- KIT-FLAG: _- SCC: SERIALNO: K60001- |
|||
| ? | 195-Z11-1690 | • • Washer | 3 | SN: K60001- KIT-FLAG: _- SCC: SERIALNO: K60001- |
|||
| ? | 2A5-53-12710 | • • Lock Assembly | 1 | SN: K60001- KIT-FLAG: _- SCC: SERIALNO: K60001- |
|||
| ? | 22B-54-16330 | • • Snap | 1 | SN: K60001- KIT-FLAG: _- SCC: SERIALNO: K60001- |
|||
| ? | 20Y-53-11320 | • • Striker | 1 | SN: K60001- KIT-FLAG: _- SCC: SERIALNO: K60001- |
|||
| ? | 20Y-53-12940 | • • Plate | 1 | SN: K60001- KIT-FLAG: _- SCC: SERIALNO: K60001- |
|||
| ? | 01584-01008 | • • Nut | 2 | SN: K60001- KIT-FLAG: _- SCC: SERIALNO: K60001- |
|||
| ? | 20Y-53-12661 | • • Cover | 1 | SN: K60001- KIT-FLAG: _- SCC: SERIALNO: K60001- |
|||
| ? | 2A5-53-13130 | • • Grip | 1 | SN: K60054- KIT-FLAG: _- SCC: SERIALNO: K60054- |
|||
| ? | 20Y-54-51393 | • • Grip | 1 | SN: K60001-K60053 KIT-FLAG: _- SCC: SERIALNO: K60001-K60053 |
|||
| ? | 01010-80820 | • • Bolt | 2 | SN: K60001- KIT-FLAG: _- SCC: SERIALNO: K60001- |
|||
| ? | 01643-30823 | • • Washer | 2 | SN: K60001- KIT-FLAG: _- SCC: SERIALNO: K60001- |
|||
| ? | 20Y-53-11441 | • • Cover | 1 | SN: K60001- KIT-FLAG: _- SCC: SERIALNO: K60001- |
|||
| ? | 22B-54-16461 | • • Rivet | 7 | SN: K60001- KIT-FLAG: _- SCC: SERIALNO: K60001- |
|||
| ? | 145-Z79-6270 | • • Washer | 1 | SN: K60001- KIT-FLAG: _- SCC: SERIALNO: K60001- |