k-part
Номер на схеме Каталожный номер Название Количество Детали
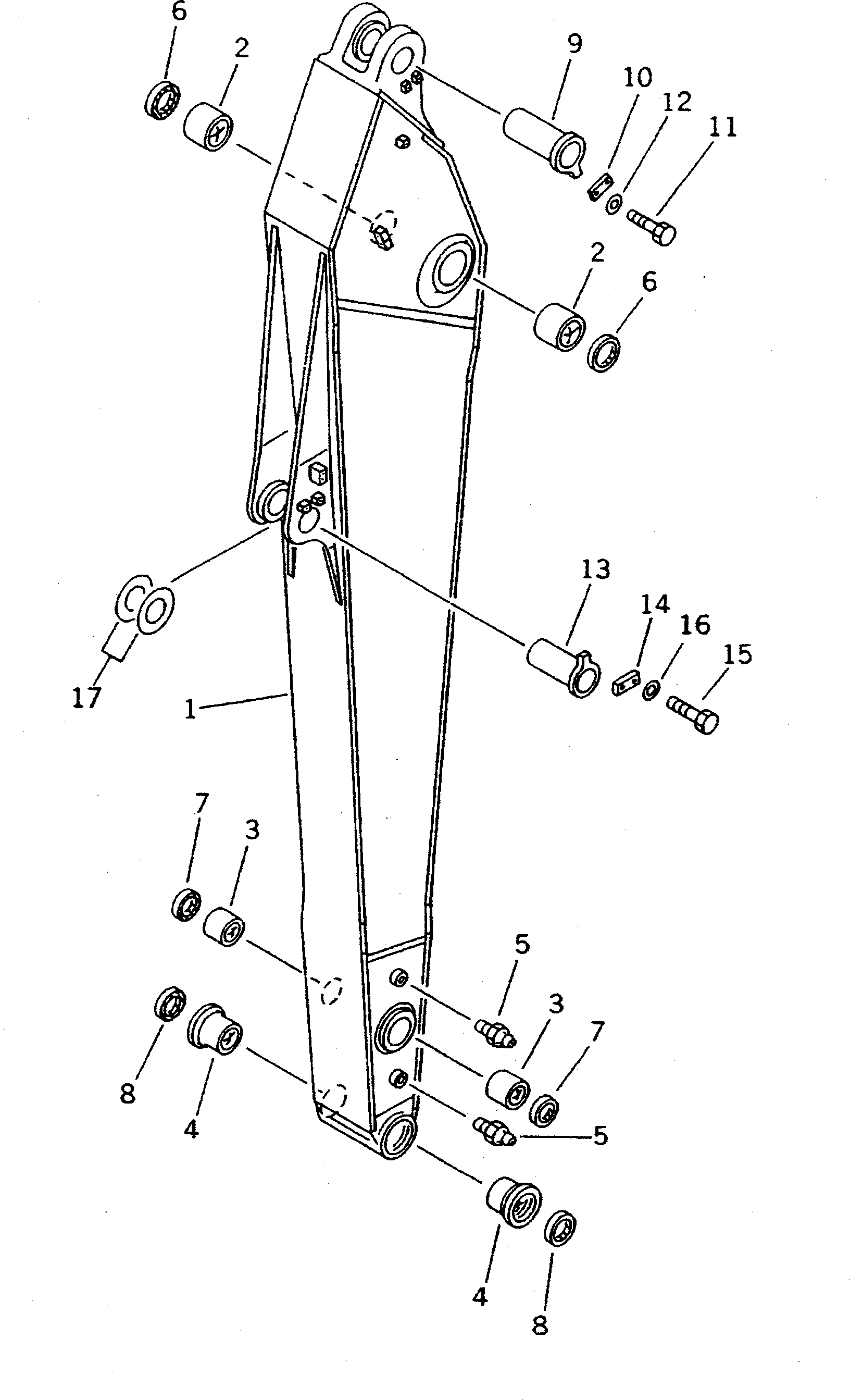
? 207-943-0100 LONG ARM ASS'Y 1
SN: K20001-
? • ARM 1
SN: K20001-
? 207-70-12161 • BUSHING 2
SN: K20001-
? 207-70-32150 • BUSHING 2
SN: K20001-
? 207-70-32140 • BUSHING 2
SN: K20001-
? 07020-00000 • FITTING,GREASE 2
SN: K20001-
? 07145-00110 SEAL,DUST 2
SN: K20001-
? 205-70-62180 SEAL,DUST 2
SN: K20001-
? 207-70-12270 SEAL,DUST 2
SN: K20001-
? 207-70-31190 PIN 1
SN: K20001-
? 203-46-56270 PLATE 1
SN: K20407-
? 205-70-66580 PLATE 1
SN: K20001-K20406
? 01010-51235 BOLT 2
SN: K20001-
? 01643-31232 WASHER 2
SN: K20001-
? 207-70-32160 PIN 1
SN: K20001-
? 205-70-66580 PLATE 1
SN: K20001-
? 01010-51235 BOLT 2
SN: K20001-
? 01643-31232 WASHER 2
SN: K20001-
? 07020-00900 FITTING,GREASE 1
SN: K20001-
? 207-70-24190 SPACER ? 0.8MM 3
SN: K20001-

Excavators Komatsu / PC300-5K S/N K20001-UP(pc300-5u) / LONG ARM ? 4.0M(210150 : 7211)