| Номер на схеме | Каталожный номер | Название | Количество | Детали | |||
|---|---|---|---|---|---|---|---|
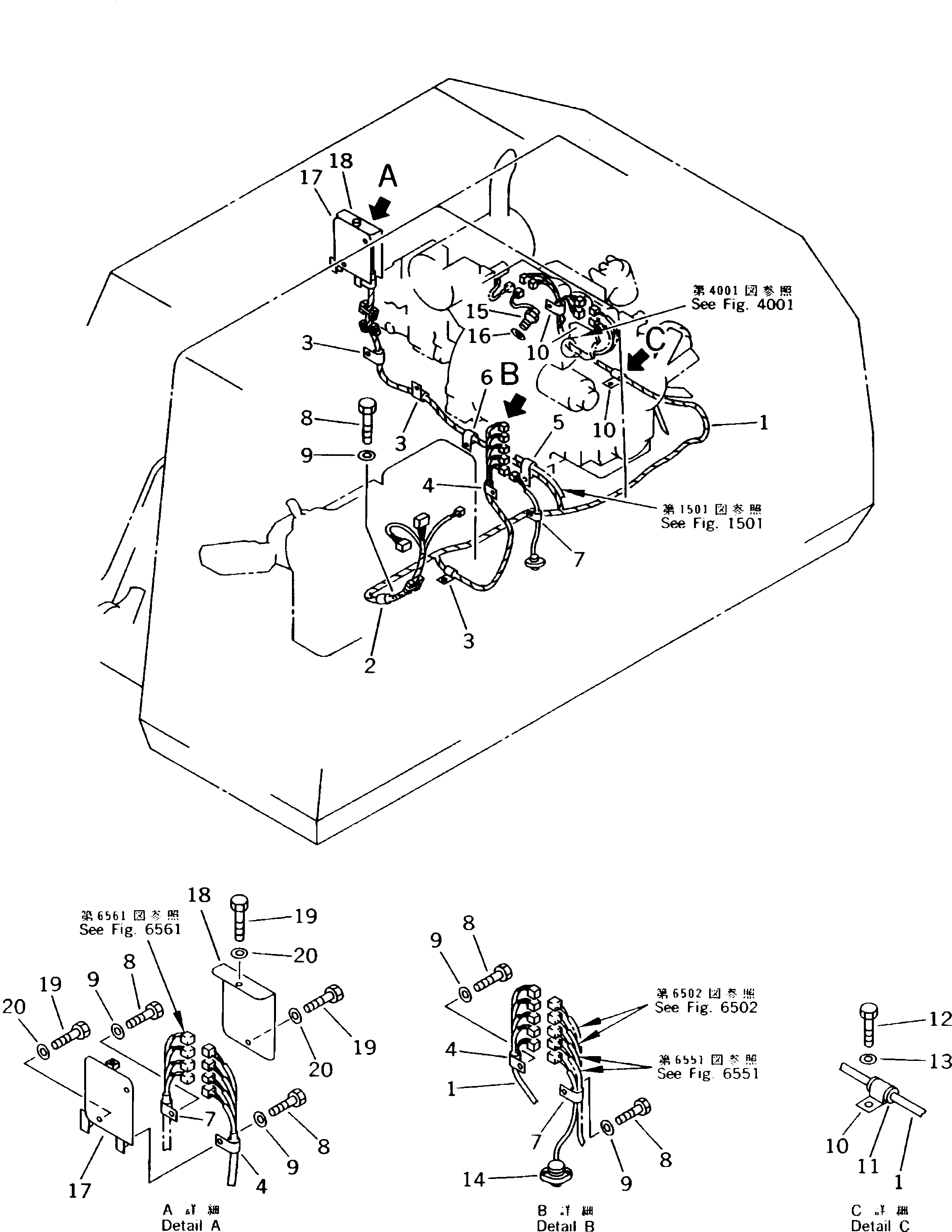
| ? | 203-06-59620 | WIRING HARNESS | 1 | SN: K20001-K20174 |
|||
| ? | 08020-00000 | • DIODE | 6 | SN: K20001-@ |
|||
| ? | 08036-02514 | CLIP | 1 | SN: K20001-@ |
|||
| ? | 08036-01414 | CLIP | 3 | SN: K20001-@ |
|||
| ? | 08036-01214 | CLIP | 2 | SN: K20001-@ |
|||
| ? | 209-06-12190 | CLIP | 1 | SN: K20001-@ |
|||
| ? | 424-09-12550 | CLIP | 1 | SN: K20001-@ |
|||
| ? | 08036-01814 | CLIP | 2 | SN: K20001-@ |
|||
| ? | 01010-51020 | BOLT | 10 | SN: K20001-@ |
|||
| ? | 01643-31032 | WASHER | 10 | SN: K20001-@ |
|||
| ? | 07095-20318 | CUSHION | 2 | SN: K20001-@ |
|||
| ? | 08036-02514 | CLIP | 2 | SN: K20001-@ |
|||
| ? | 01010-51016 | BOLT | 2 | SN: K20001-@ |
|||
| ? | 01643-31032 | WASHER | 2 | SN: K20001-@ |
|||
| ? | 7861-92-1540 | SENSOR,PUMP PRESSURE | 1 | SN: K20001-@ |
|||
| ? | 7861-92-2310 | SENSOR,ENGINE REVOLUTION | 1 | SN: K20001-@ |
|||
| ? | 07005-02216 | GASKET | 1 | SN: K20001-@ |
|||
| ? | 203-06-56311 | COVER | 1 | SN: K20001-@ |
|||
| ? | 203-06-56331 | COVER | 1 | SN: K20001-@ |
|||
| ? | 01010-51020 | BOLT | 4 | SN: K20001-@ |
|||
| ? | 01643-31032 | WASHER | 4 | SN: K20001-@ |
