| Номер на схеме | Каталожный номер | Название | Количество | Детали | |||
|---|---|---|---|---|---|---|---|
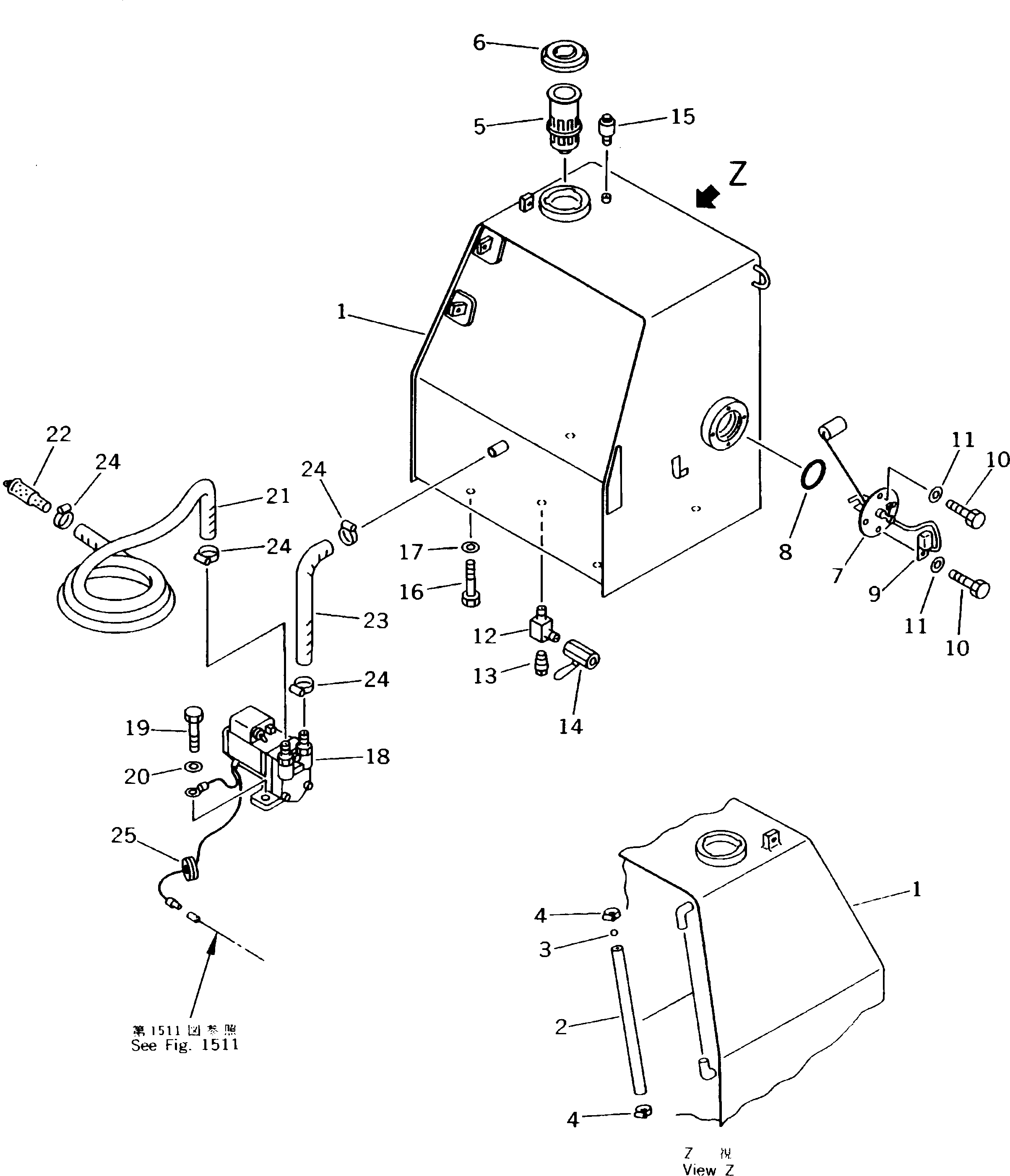
| ? | 203-04-K1130 | TANK,FUEL | 1 | SN: K20001-K20174 |
|||
| ? | 203-60-52140 | TUBE | 1 | SN: K20001-@ |
|||
| ? | 201-04-21160 | BALL,FLOAT | 1 | SN: K20001-@ |
|||
| ? | 07281-00197 | CLAMP | 2 | SN: K20001-@ |
|||
| ? | 07056-18416 | STRAINER | 1 | SN: K20001-@ |
|||
| ? | 20Y-04-11160 | CAP | 1 | SN: K20001-@ |
|||
| ? | 20Y-04-11240 | • PACKING | 1 | SN: K20001-@ |
|||
| ? | (7861-92-4800) | SENSOR,FUEL LEVEL (SEE FIG.1511) | 1 | SN: K20001-@ |
|||
| ? | 07000-02085 | O-RING | 1 | SN: K20001-@ |
|||
| ? | 08053-01512 | CLIP | 1 | SN: K20001-@ |
|||
| ? | 01010-51016 | BOLT | 2 | SN: K20001-@ |
|||
| ? | 01643-31032 | WASHER | 2 | SN: K20001-@ |
|||
| ? | 203-60-52240 | ELBOW | 1 | SN: K20001-@ |
|||
| ? | 07042-30108 | PLUG | 1 | SN: K20001-@ |
|||
| ? | 07700-40240 | VALVE | 1 | SN: K20001-@ |
|||
| ? | 07030-00252 | BREATHER | 1 | SN: K20001-@ |
|||
| ? | 01010-51440 | BOLT | 4 | SN: K20001-@ |
|||
| ? | 01643-31445 | WASHER | 4 | SN: K20001-@ |
|||
| ? | 205-04-K1160 | PUMP ASS'Y,SELF SUPPLY | 1 | SN: K20001-@ |
|||
| ? | 01010-51030 | BOLT | 2 | SN: K20001-@ |
|||
| ? | 01643-31032 | WASHER | 2 | SN: K20001-@ |
|||
| ? | 205-04-K1130 | HOSE | 1 | SN: K20001-@ |
|||
| ? | 205-04-K1120 | STRAINER | 1 | SN: K20001-@ |
|||
| ? | 203-04-K1120 | HOSE | 1 | SN: K20001-@ |
|||
| ? | 07281-00419 | CLAMP | 4 | SN: K20001-@ |
|||
| ? | 08037-02512 | GROMMET | 1 | SN: K20001-@ |
