k-part
Номер на схеме Каталожный номер Название Количество Детали
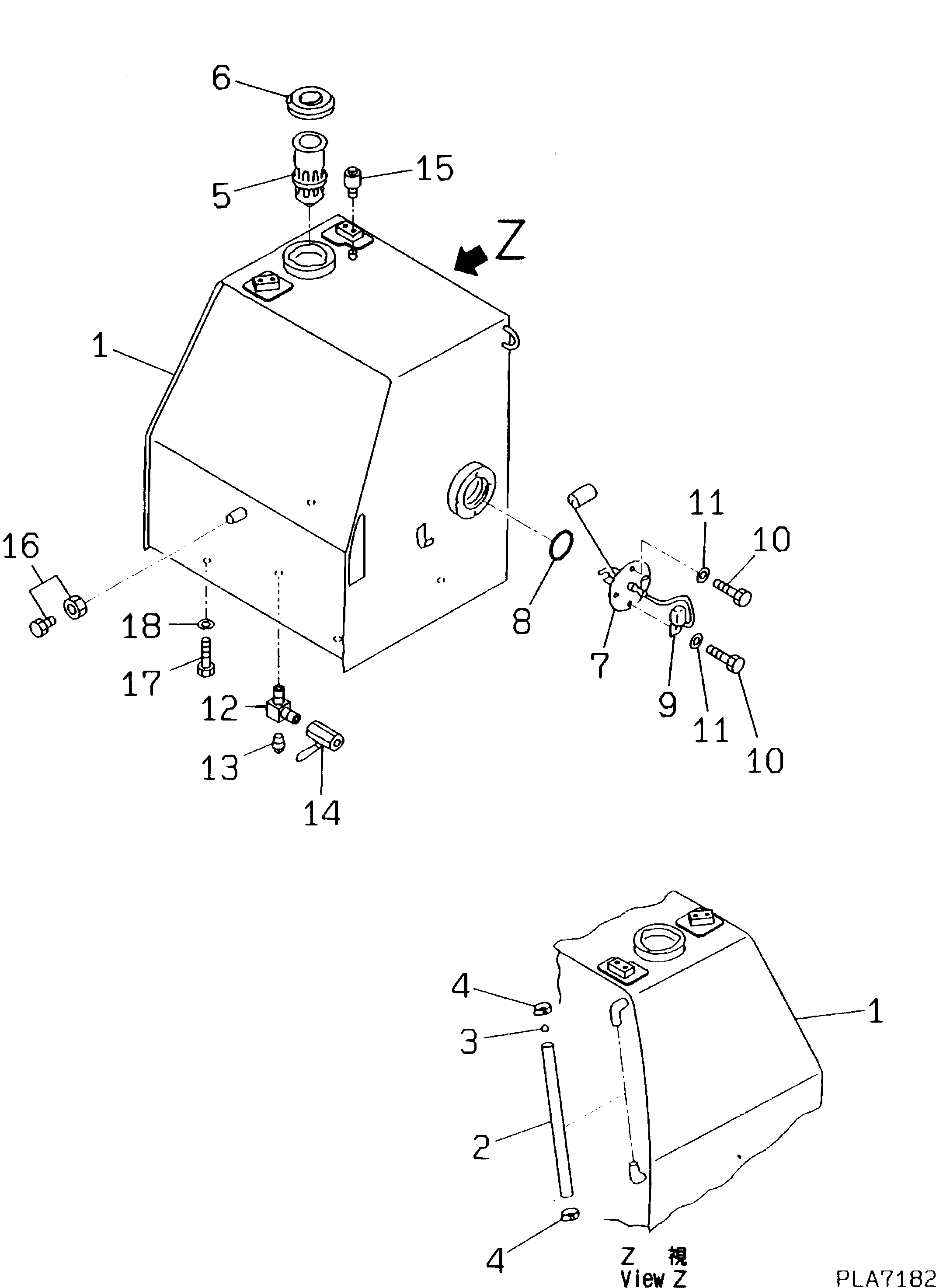
? 203-04-K1131 TANK,FUEL 1
SN: K20175-
? 203-60-52140 TUBE 1
SN: K20001-
? 201-04-21160 BALL,FLOAT 1
SN: K20001-
? 07281-00197 CLAMP 2
SN: K20001-
? 07056-18416 STRAINER 1
SN: K20001-
? 20Y-04-11160 CAP 1
SN: K20001-
? 20Y-04-11240 • PACKING 1
SN: K20001-
? (7861-92-4800) SENSOR,FUEL LEVEL (SEE FIG.1511A) 1
SN: K20001-
? 07000-02085 O-RING 1
SN: K20001-
? 08053-01512 CLIP 1
SN: K20001-
? 01010-51016 BOLT 2
SN: K20001-
? 01643-31032 WASHER 2
SN: K20001-
? 203-60-52240 ELBOW 1
SN: K20001-
? 07042-30108 PLUG 1
SN: K20001-
? 07700-40240 VALVE 1
SN: K20001-
? 07043-70211 PLUG 1
SN: K20001-
? 203-04-K1140 END,BLANKING 1
SN: K20001-
? 01010-51440 BOLT 4
SN: K20001-
? 01643-31445 WASHER 4
SN: K20001-

Excavators Komatsu / PC150NHD-5K S/N K20001-UP(pc150nhu) / FUEL TANK (EC SAFETY REGULATION)(#K20175-)(030110 : 1301A)