| Номер на схеме | Каталожный номер | Название | Количество | Детали | |||
|---|---|---|---|---|---|---|---|
| ? | (20Y-54-K1401) | OPERATOR'S CAB ASS'Y | 1 | SN: K20393- |
|||
| ? | (20Y-54-K1400) | OPERATOR'S CAB ASS'Y | 1 | SN: .-K20392 |
|||
| ? | (20Y-54-K1100) | OPERATOR'S CAB ASS'Y | 1 | SN: K20001-. |
|||
| ? | THESE ASSEMBLIES CONSIST OF ALL PARTS SHOWN IN FIGS.5201 TO 5206. | ||||||
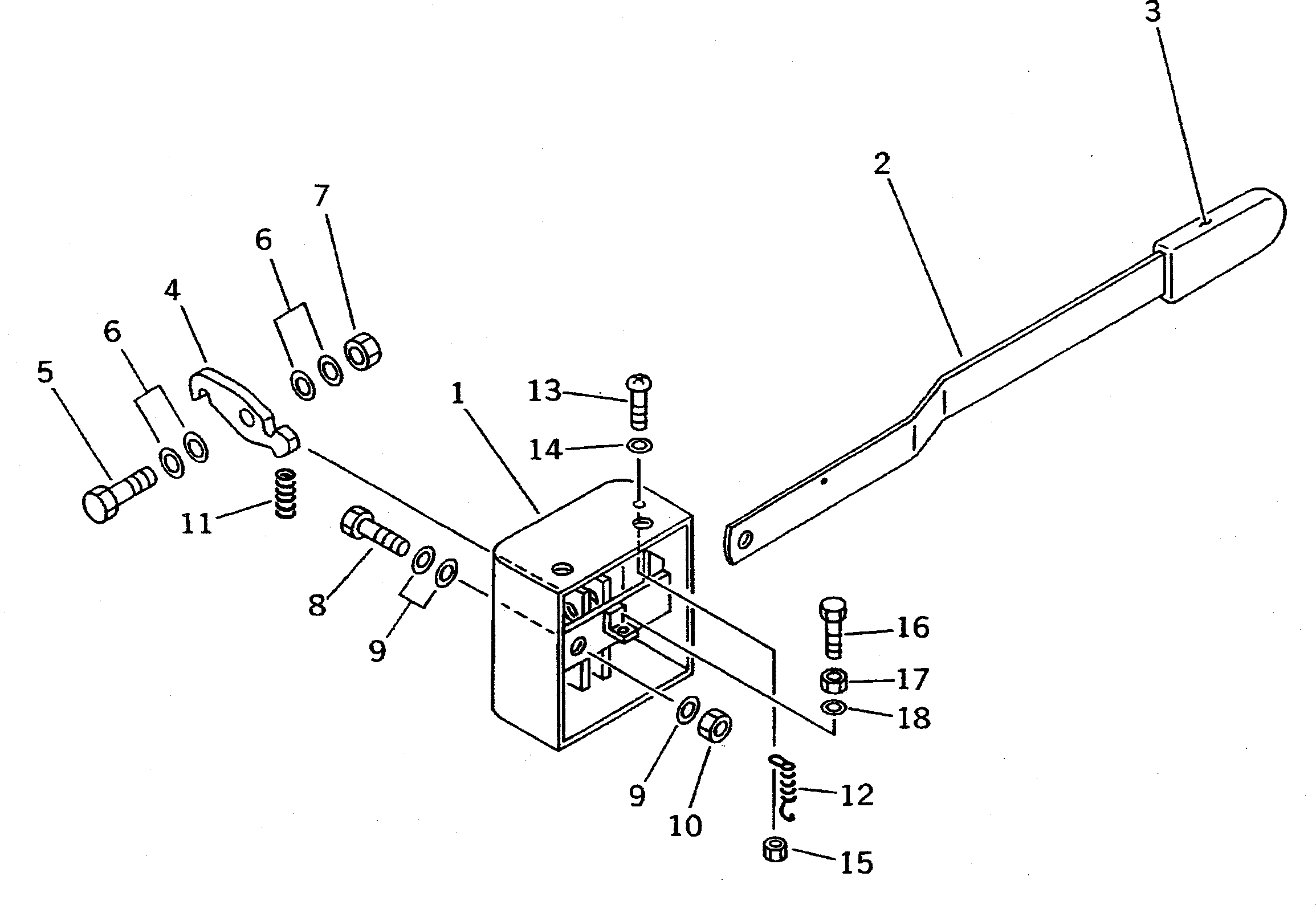
| ? | 20Y-54-K1330 | • LOCK BACK ASS'Y | 1 | SN: K20001- |
|||
| ? | 20Y-54-K1250 | • • HOUSING | 1 | SN: K20001- |
|||
| ? | 20Y-54-K1260 | • • HANDLE | 1 | SN: K20001- |
|||
| ? | 20Y-54-K1270 | • • GRIP,HANDLE | 1 | SN: K20001- |
|||
| ? | 20Y-54-K1280 | • • HOOK | 1 | SN: K20001- |
|||
| ? | 01010-81040 | • • BOLT | 1 | SN: K20001- |
|||
| ? | 01641-21016 | • • WASHER | 4 | SN: K20001- |
|||
| ? | 01598-01011 | • • NUT,LOCK | 1 | SN: K20001- |
|||
| ? | 01010-50825 | • • BOLT | 1 | SN: K20001- |
|||
| ? | 01641-20812 | • • WASHER | 3 | SN: K20001- |
|||
| ? | 01598-00809 | • • NUT,LOCK | 1 | SN: K20001- |
|||
| ? | 20Y-54-K1310 | • • SPRING | 1 | SN: K20001- |
|||
| ? | 20Y-54-K1290 | • • SPRING | 1 | SN: K20001- |
|||
| ? | 20Y-54-K2590 | • • SCREW | 1 | SN: K20001- |
|||
| ? | 01641-20608 | • • WASHER | 1 | SN: K20001- |
|||
| ? | 01598-00608 | • • NUT,LOCK | 1 | SN: K20001- |
|||
| ? | 01010-50635 | • • BOLT | 1 | SN: K20001- |
|||
| ? | 01580-10605 | • • NUT | 1 | SN: K20001- |
|||
| ? | 01641-20608 | • • WASHER | 1 | SN: K20001- |
