| Номер на схеме | Каталожный номер | Название | Количество | Детали | |||
|---|---|---|---|---|---|---|---|
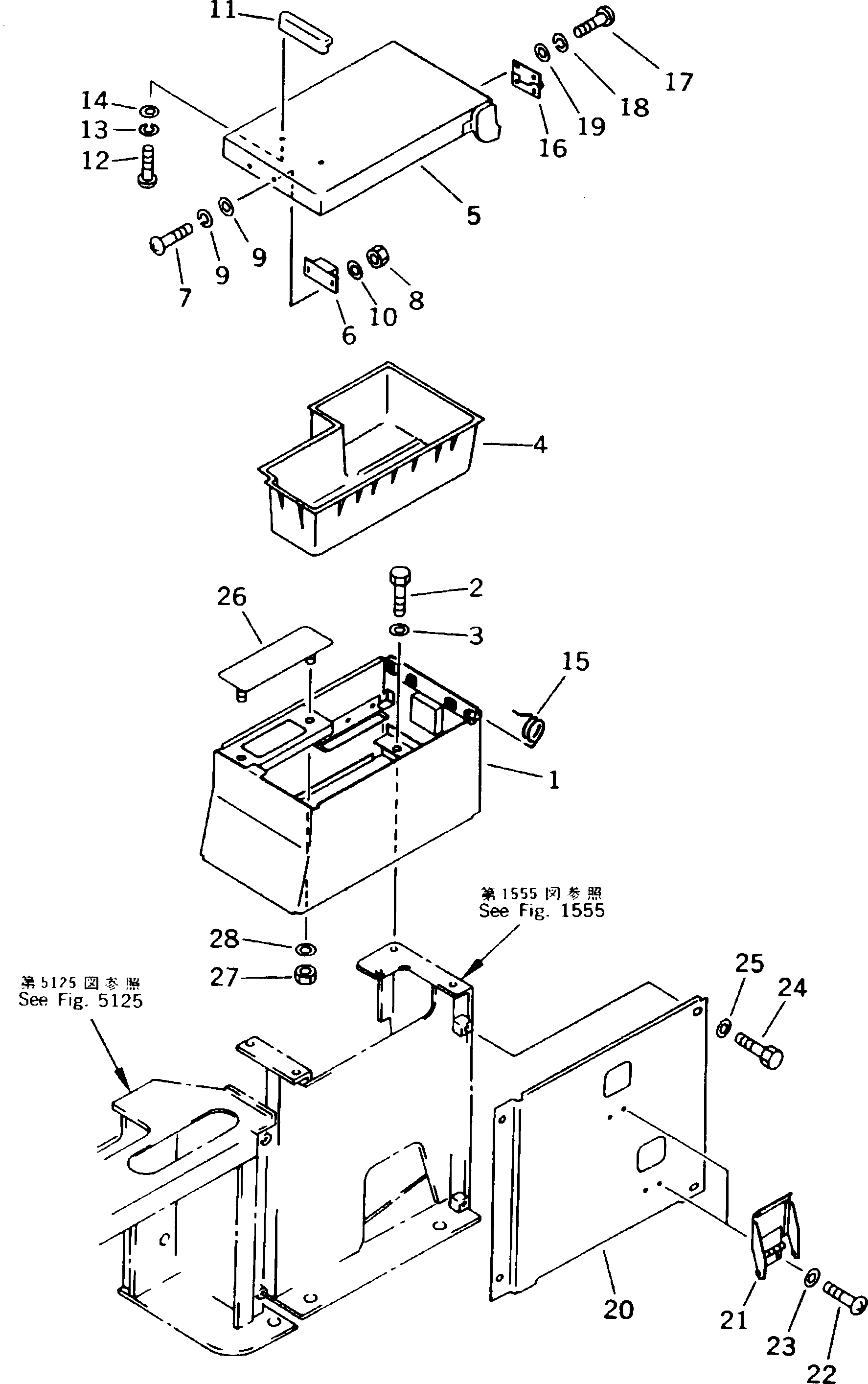
| ? | 20Y-06-K1460 | BOX | 1 | SN: K20001- |
|||
| ? | 01010-50816 | BOLT | 4 | SN: K20001- |
|||
| ? | 01643-30823 | WASHER | 4 | SN: K20001- |
|||
| ? | 20Y-06-K1110 | TRAY | 1 | SN: K20001- |
|||
| ? | 20Y-06-K1140 | COVER | 1 | SN: K20001- |
|||
| ? | 09452-14503 | CATCHER | 1 | SN: K20001- |
|||
| ? | 01220-40310 | SCREW | 2 | SN: K20001- |
|||
| ? | 01580-10302 | NUT | 2 | SN: K20001- |
|||
| ? | 01601-20307 | WASHER,SPRING | 2 | SN: K20001- |
|||
| ? | 01641-20305 | WASHER | 4 | SN: K20001- |
|||
| ? | 20Y-06-16330 | HANDLE | 1 | SN: K20001- |
|||
| ? | 01220-40510 | SCREW | 2 | SN: K20001- |
|||
| ? | 01601-20513 | WASHER,SPRING | 2 | SN: K20001- |
|||
| ? | 01641-20508 | WASHER | 2 | SN: K20001- |
|||
| ? | 20Y-43-K1260 | SPRING | 1 | SN: K20001- |
|||
| ? | 20Y-06-K1150 | HINGE | 2 | SN: K20001- |
|||
| ? | 01220-40510 | SCREW | 8 | SN: K20001- |
|||
| ? | 01601-20513 | WASHER,SPRING | 8 | SN: K20001- |
|||
| ? | 01641-20508 | WASHER | 8 | SN: K20001- |
|||
| ? | 20Y-06-16271 | COVER | 1 | SN: K20001- |
|||
| ? | 20Y-43-16250 | COVER | 2 | SN: K20001- |
|||
| ? | 01220-40408 | SCREW | 4 | SN: K20001- |
|||
| ? | 01641-20405 | WASHER | 4 | SN: K20001- |
|||
| ? | 01010-50820 | BOLT | 4 | SN: K20001- |
|||
| ? | 01643-30823 | WASHER | 4 | SN: K20001- |
|||
| ? | 203-06-59310 | COVER | 1 | SN: K20001- |
|||
| ? | 01580-10605 | NUT | 2 | SN: K20001- |
|||
| ? | 01643-30623 | WASHER | 2 | SN: K20001- |
