| Номер на схеме | Каталожный номер | Название | Количество | Детали | |||
|---|---|---|---|---|---|---|---|
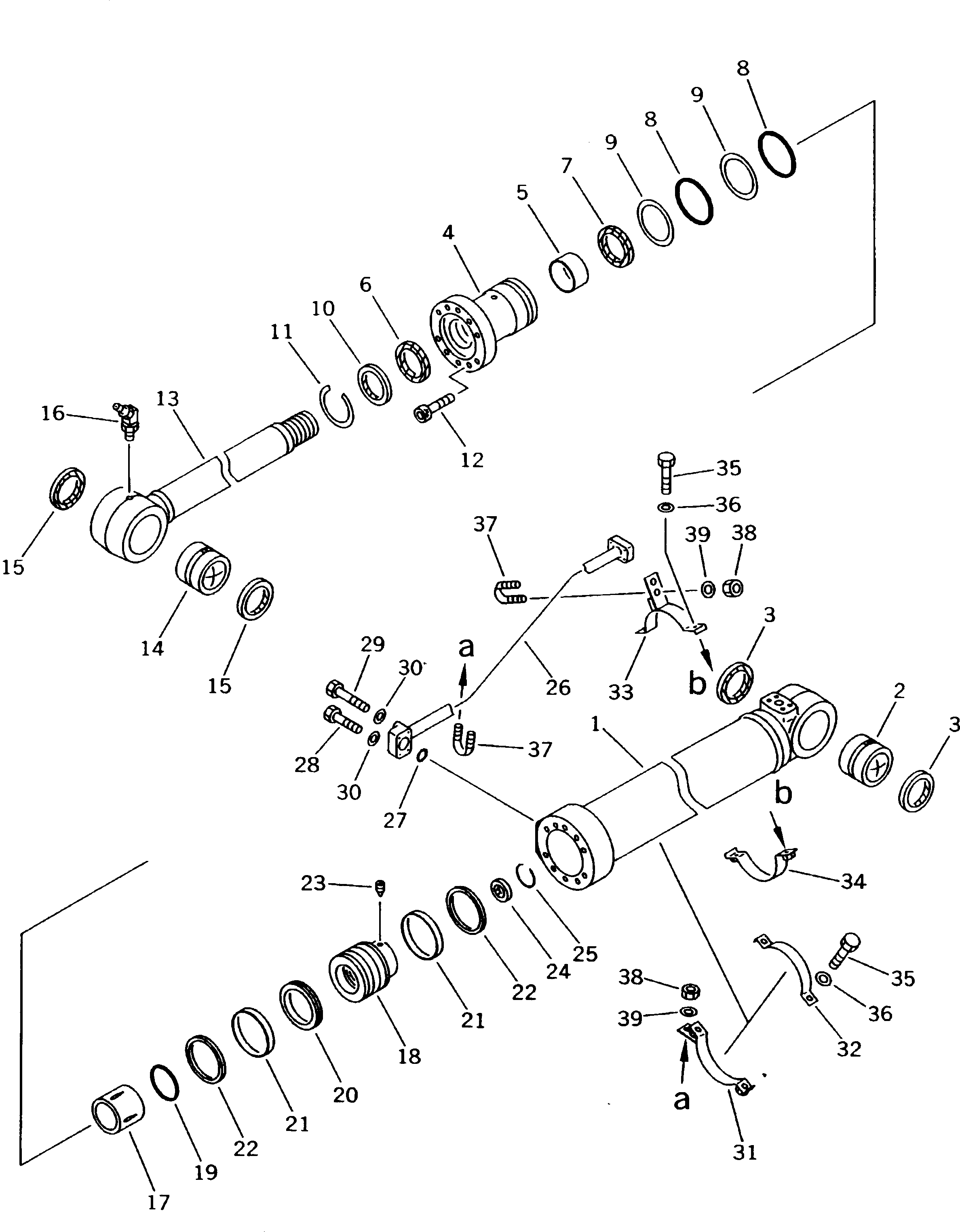
| ? | 21P-63-K1800 | CYLINDER ASS'Y,(WITH TUBE) | 1 | SN: K20001- |
|||
| ? | 21P-63-K1710 | • CYLINDER ASS'Y,ARM | 1 | SN: K20001- |
|||
| ? | 21P-63-K1720 | • • CYLINDER | 1 | SN: K20001- |
|||
| ? | 707-76-80230 | • • BUSHING | 1 | SN: K20001- |
|||
| ? | 07145-00080 | • • SEAL,DUST | 2 | SN: K20001- |
|||
| ? | 21P-63-K1740 | • • HEAD,CYLINDER | 1 | SN: K20001- |
|||
| ? | 707-52-90600 | • • BUSHING | 1 | SN: K20001- |
|||
| ? | 707-51-85030 | • • PACKING,ROD | 1 | SN: K20001- |
|||
| ? | 707-51-85630 | • • RING,BUFFER | 1 | SN: K20001- |
|||
| ? | 21P-63-K1770 | • • O-RING | 2 | SN: K20001- |
|||
| ? | 21P-63-K1760 | • • RING,BACK-UP | 2 | SN: K20001- |
|||
| ? | 07016-20858 | • • SEAL,DUST | 1 | SN: K20001- |
|||
| ? | 21P-63-K1750 | • • RING,SNAP | 1 | SN: K20001- |
|||
| ? | 203-63-K2120 | • • BOLT | 10 | SN: K20001- |
|||
| ? | 21P-63-K1730 | • • ROD,PISTON | 1 | SN: K20001- |
|||
| ? | 707-76-80230 | • • BUSHING | 1 | SN: K20001- |
|||
| ? | 07145-00080 | • • SEAL,DUST | 2 | SN: K20001- |
|||
| ? | 203-63-K2370 | • • FITTING,GREASE | 1 | SN: K20001- |
|||
| ? | 21P-63-K2340 | • • BUSHING,CUSHION | 1 | SN: K20001- |
|||
| ? | 21P-63-K1790 | • • PISTON | 1 | SN: K20001- |
|||
| ? | 21P-63-K1810 | • • O-RING | 1 | SN: K20001- |
|||
| ? | 707-44-12180 | • • RING,PISTON | 1 | SN: K20001- |
|||
| ? | 707-39-12110 | • • RING,WEAR | 2 | SN: K20001- |
|||
| ? | 707-44-12911 | • • RING | 2 | SN: K20001- |
|||
| ? | 203-63-K2050 | • • SCREW,SET | 1 | SN: K20001- |
|||
| ? | 203-63-K1230 | • • RING,CUSHION | 1 | SN: K20001- |
|||
| ? | 203-63-K2110 | • • RING,SNAP | 1 | SN: K20001- |
|||
| ? | 21P-63-K2210 | • TUBE | 1 | SN: K20001- |
|||
| ? | 07000-13030 | • O-RING | 1 | SN: K20001- |
|||
| ? | 07372-21045 | • BOLT | 2 | SN: K20393- |
|||
| ? | 21P-63-K2270 | • BOLT | 2 | SN: K20001-K20392 |
|||
| ? | 07372-21060 | • BOLT | 2 | SN: K20393- |
|||
| ? | 21P-63-K2280 | • BOLT | 2 | SN: K20001-K20392 |
|||
| ? | 01643-51032 | • WASHER | 4 | SN: K20393- |
|||
| ? | 203-63-K2220 | • WASHER | 4 | SN: K20001-K20392 |
|||
| ? | 707-88-95861 | • BRACKET | 1 | SN: K20393- |
|||
| ? | 21P-63-K2220 | • BRACKET | 1 | SN: K20001-K20392 |
|||
| ? | 707-88-99240 | • BAND | 1 | SN: K20393- |
|||
| ? | 21P-63-K2230 | • BAND | 1 | SN: K20001-K20392 |
|||
| ? | 707-88-95871 | • BRACKET | 1 | SN: K20393- |
|||
| ? | 21P-63-K2250 | • BRACKET | 1 | SN: K20001-K20392 |
|||
| ? | 707-88-99250 | • BAND | 1 | SN: K20393- |
|||
| ? | 21P-63-K2240 | • BAND | 1 | SN: K20001-K20392 |
|||
| ? | 01010-51035 | • BOLT | 4 | SN: K20393- |
|||
| ? | 203-63-K2210 | • BOLT | 4 | SN: K20001-K20392 |
|||
| ? | 01643-51032 | • WASHER | 4 | SN: K20393- |
|||
| ? | 203-63-K2220 | • WASHER | 4 | SN: K20001-K20392 |
|||
| ? | 07283-22738 | • CLIP | 2 | SN: K20393- |
|||
| ? | 21P-63-K1960 | • CLIP | 2 | SN: K20001-K20392 |
|||
| ? | 01599-01011 | • NUT | 4 | SN: K20393- |
|||
| ? | 203-63-K2790 | • NUT | 4 | SN: K20001-K20392 |
|||
| ? | 01643-31032 | • WASHER | 4 | SN: K20393- |
|||
| ? | 203-63-K2230 | • WASHER | 4 | SN: K20001-K20392 |
