k-part
Номер на схеме Каталожный номер Название Количество Детали
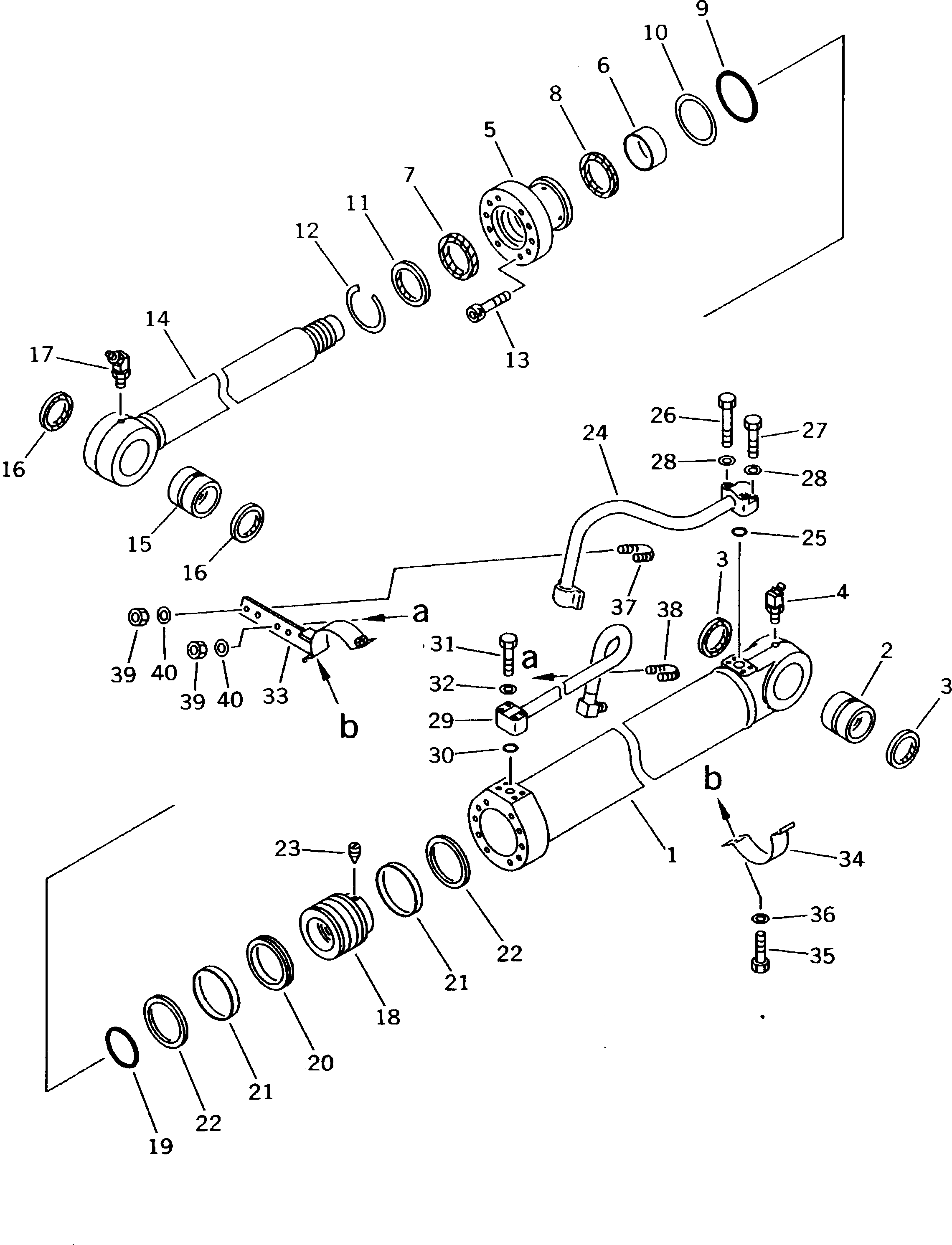
? 21P-63-K1600 CYLINDER ASS'Y,L.H. (WITH TUBE) 1
SN: K20001-
? 21P-63-K1700 CYLINDER ASS'Y,R.H. (WITH TUBE) 1
SN: K20001-
? 21P-63-K1610 • CYLINDER ASS'Y,BOOM 1
SN: K20001-
? 21P-63-K1620 • • CYLINDER 1
SN: K20001-
? 707-76-70040 • • BUSHING 1
SN: K20001-
? 07145-00070 • • SEAL,DUST 2
SN: K20001-
? 203-63-K2370 • • FITTING,GREASE 1
SN: K20001-
? 21P-63-K1650 • • HEAD,CYLINDER 1
SN: K20001-
? 707-52-90500 • • BUSHING 1
SN: K20001-
? 707-51-75030 • • PACKING,ROD 1
SN: K20001-
? 707-51-75630 • • RING,BUFFER 1
SN: K20001-
? 21P-63-K1670 • • O-RING 1
SN: K20001-
? 21P-63-K1660 • • RING,BACK-UP 1
SN: K20001-
? 144-63-94170 • • SEAL,DUST 1
SN: K20001-
? 203-63-K2090 • • RING,SNAP 1
SN: K20001-
? 203-63-K2120 • • BOLT 10
SN: K20001-
? 21P-63-K1640 • • ROD,PISTON 1
SN: K20001-
? 707-76-70040 • • BUSHING 1
SN: K20001-
? 07145-00070 • • SEAL,DUST 2
SN: K20001-
? 203-63-K2370 • • FITTING,GREASE 1
SN: K20001-
? 21P-63-K1680 • • PISTON 1
SN: K20001-
? 21P-63-K1690 • • O-RING 1
SN: K20001-
? 707-44-11180 • • RING,PISTON 1
SN: K20001-
? 707-39-11110 • • RING,WEAR 2
SN: K20001-
? 707-44-11911 • • RING 2
SN: K20001-
? 203-63-K2050 • • SCREW,SET 1
SN: K20001-
? 21P-63-K1910 • TUBE,L.H. 1
SN: K20001-
? 21K-63-54280 • TUBE,R.H. 1
SN: K20393-
? 21P-63-K1880 • TUBE,R.H. 1
SN: K20001-K20392
? 07000-13030 • O-RING 1
SN: K20001-
? 07372-21060 • BOLT 2
SN: K20393-
? 21P-63-K1970 • BOLT 2
SN: K20001-K20392
? 07372-21045 • BOLT 2
SN: K20393-
? 21P-63-K2110 • BOLT 2
SN: K20001-K20392
? 01643-51032 • WASHER 4
SN: K20393-
? 203-63-K2220 • WASHER 4
SN: K20001-K20392
? 21P-63-K1920 • TUBE,L.H. 1
SN: K20001-
? 21K-63-54270 • TUBE,R.H. 1
SN: K20393-
? 21P-63-K1890 • TUBE,R.H. 1
SN: K20001-K20392
? 07000-13025 • O-RING 1
SN: K20001-
? 01010-50850 • BOLT 4
SN: K20393-
? 203-63-K2240 • BOLT 4
SN: K20001-K20392
? 01643-50823 • WASHER 4
SN: K20393-
? 203-63-K2440 • WASHER 4
SN: K20001-K20392
? 21P-63-K1940 • BRACKET,L.H. 1
SN: K20001-
? C77-63-95850 • BRACKET,R.H. 1
SN: K20393-
? 21P-63-K1930 • BRACKET,R.H. 1
SN: K20001-K20392
? 707-88-97750 • BAND 1
SN: K20393-
? 21P-63-K1950 • BAND 1
SN: K20001-K20392
? 01010-51025 • BOLT 2
SN: K20393-
? 203-63-K2450 • BOLT 2
SN: K20001-K20392
? 01643-31032 • WASHER 2
SN: K20393-
? 203-63-K2230 • WASHER 2
SN: K20001-K20392
? 07283-22738 • CLIP 1
SN: K20393-
? 21P-63-K1960 • CLIP 1
SN: K20001-K20392
? 07283-22236 • CLIP 1
SN: K20393-
? 203-63-K2190 • CLIP 1
SN: K20001-K20392
? 203-63-K2790 • NUT 4
SN: K20001-K20392
? 01643-31032 • WASHER 4
SN: K20393-
? 203-63-K2230 • WASHER 4
SN: K20001-K20392

Excavators Komatsu / PC180NLC-5K S/N K20001-UP(pc180nlu) / BOOM CYLINDER(210060 : 7181)