k-part
Номер на схеме Каталожный номер Название Количество Детали
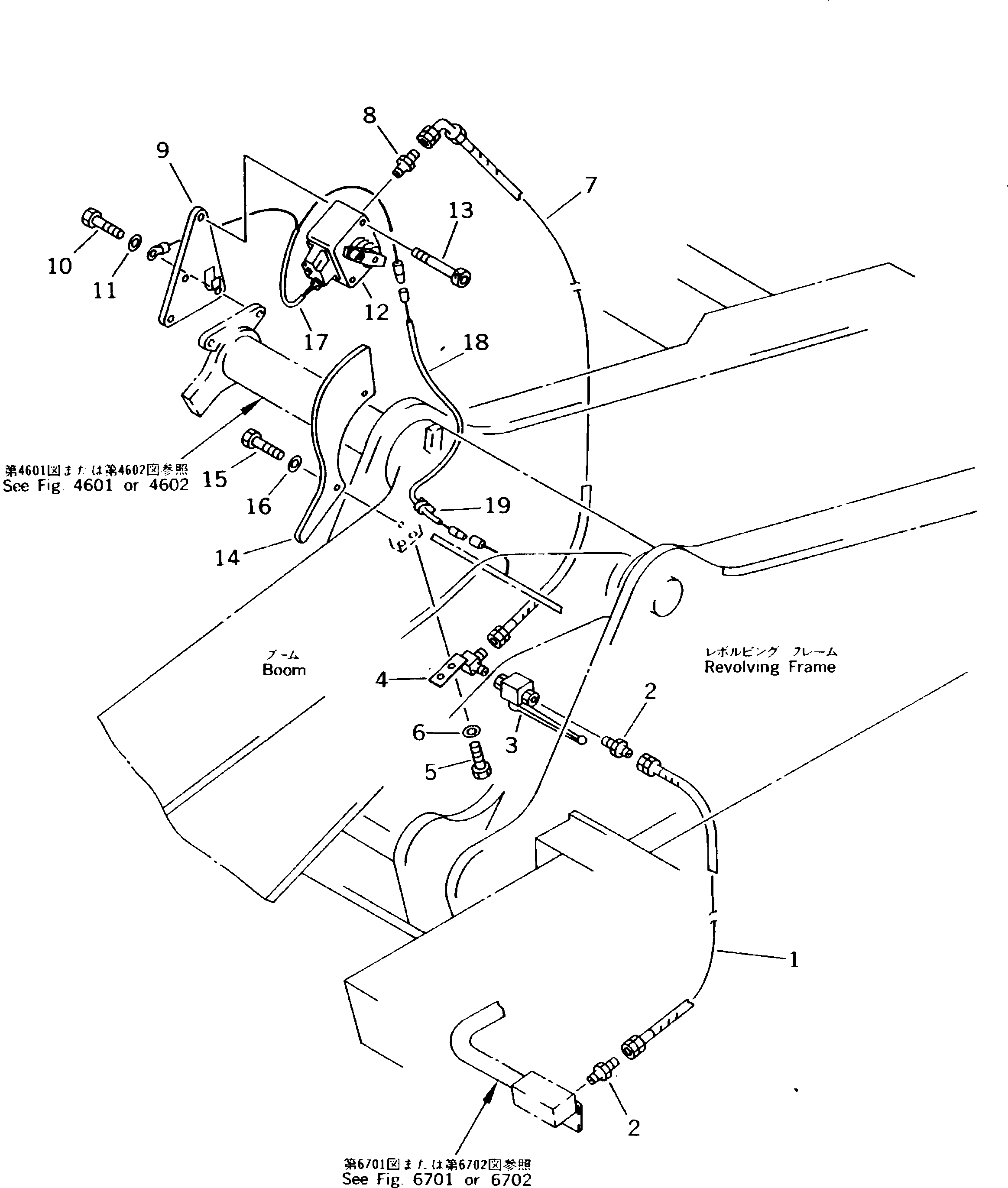
? 203-62-K2810 HOSE 1
SN: K20001-K20392
? 07238-10210 CONNECTOR 2
SN: K20001-K20392
? 205-62-69250 VALVE 1
SN: K20001-@
? 203-62-44690 ELBOW 1
SN: K20001-@
? 01010-51020 BOLT 2
SN: K20001-@
? 01643-31032 WASHER 2
SN: K20001-@
? 21P-62-23531 HOSE 1
SN: K20001-@
? 07238-10210 CONNECTOR 1
SN: K20001-@
? 21P-62-23520 PLATE 1
SN: K20001-@
? 01010-51030 BOLT 2
SN: K20001-@
? 01643-31032 WASHER 2
SN: K20001-@
? 205-62-69240 SWITCH 1
SN: K20001-@
? 01252-40616 BOLT 2
SN: K20001-@
? 21P-62-23512 PLATE,(PC180LC ? PC180NLC) 1
SN: K20001-@
? 21P-62-23612 PLATE,(PC180LLC) 1
SN: K20001-@
? 01010-51025 BOLT 2
SN: K20001-@
? 01643-31032 WASHER 2
SN: K20001-@
? 203-06-K1130 WIRE 1
SN: K20001-@
? 21P-06-21361 WIRING HARNESS 1
SN: K20001-@
? 20Y-54-K4340 CLIP 4
SN: K20001-@

Excavators Komatsu / PC180NLC-5K S/N K20001-UP(pc180nlu) / OVER LOAD WARNING DEVICE(#K20001-K20392)(180590 : 6801)