| Номер на схеме | Каталожный номер | Название | Количество | Детали | |||
|---|---|---|---|---|---|---|---|
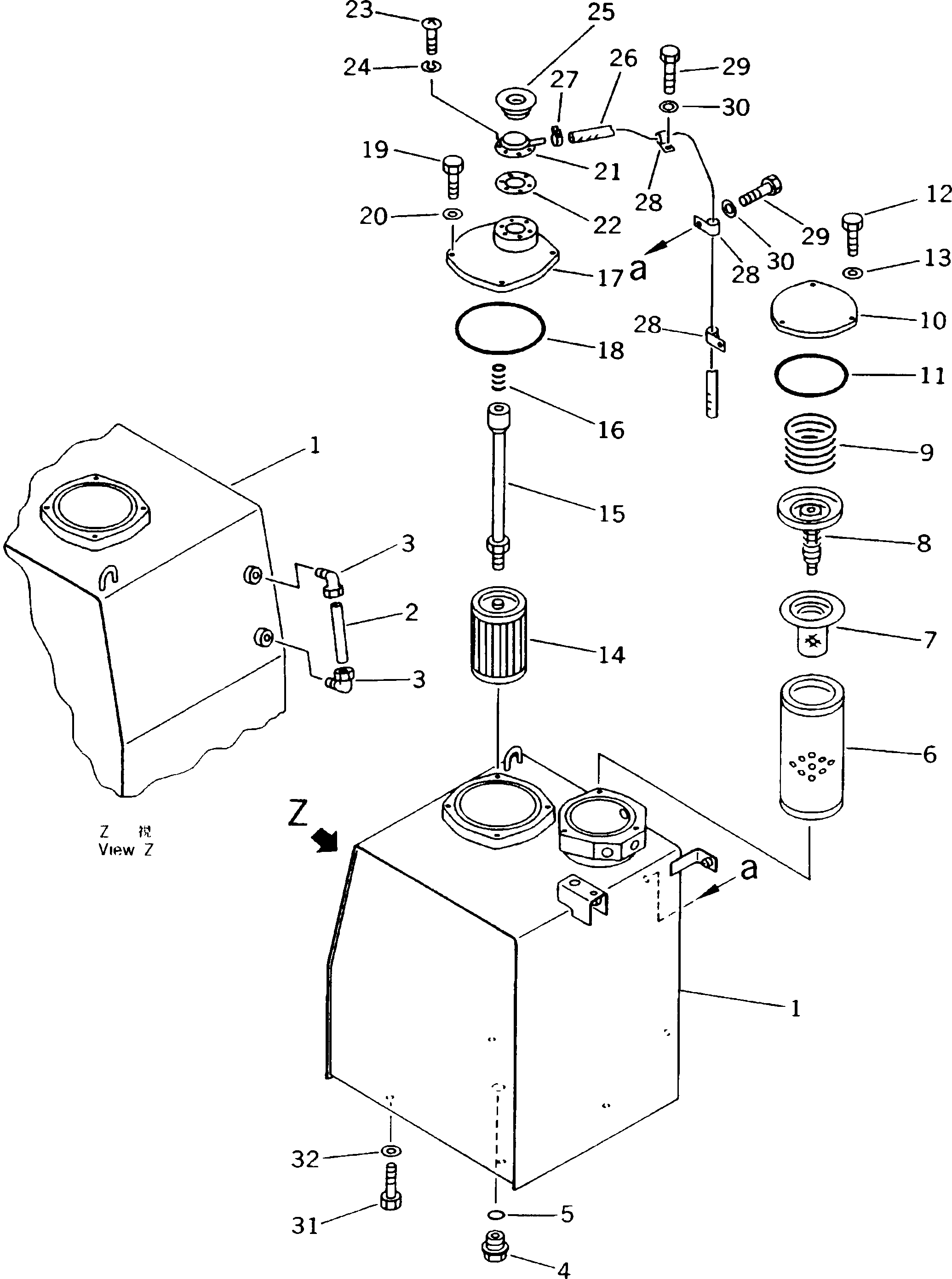
| ? | 21P-60-00010 | TANK ASS'Y,HYDRAULIC | 1 | SN: K20001- |
|||
| ? | ☆ | • TANK | 1 | SN: K20001- |
|||
| ? | 203-60-31160 | • TUBE | 1 | SN: K20001- |
|||
| ? | 203-60-31100 | • ELBOW ASS'Y | 2 | SN: K20001- |
|||
| ? | 07044-12412 | PLUG | 1 | SN: K20001- |
|||
| ? | 07002-02434 | O-RING | 1 | SN: K20001- |
|||
| ? | 07063-01100 | ELEMENT | 1 | SN: K20001- |
|||
| ? | 203-60-52260 | STRAINER | 1 | SN: K20001- |
|||
| ? | 203-60-52250 | VALVE ASS'Y | 1 | SN: K20001- |
|||
| ? | 175-60-27340 | SPRING | 1 | SN: K20001- |
|||
| ? | 203-60-52230 | PLATE | 1 | SN: K20001- |
|||
| ? | 07000-05155 | O-RING | 1 | SN: K20001- |
|||
| ? | 01010-51025 | BOLT | 3 | SN: K20001- |
|||
| ? | 01643-31032 | WASHER | 3 | SN: K20001- |
|||
| ? | 203-60-56250 | STRAINER | 1 | SN: K20001- |
|||
| ? | 21K-60-33120 | ROD | 1 | SN: K20001- |
|||
| ? | 12R-60-11230 | SPRING | 1 | SN: K20001- |
|||
| ? | 21K-60-33130 | COVER | 1 | SN: K20001- |
|||
| ? | 07000-05180 | O-RING | 1 | SN: K20001- |
|||
| ? | 01010-51025 | BOLT | 4 | SN: K20001- |
|||
| ? | 01643-31032 | WASHER | 4 | SN: K20001- |
|||
| ? | 201-60-12171 | FILLER | 1 | SN: K20001- |
|||
| ? | 205-60-51460 | GASKET | 1 | SN: K20001- |
|||
| ? | 01220-40516 | SCREW | 6 | SN: K20001- |
|||
| ? | 01601-20513 | WASHER,SPRING | 6 | SN: K20001- |
|||
| ? | 201-60-12190 | CAP ASS'Y | 1 | SN: K20001- |
|||
| ? | 07270-00895 | TUBE | 1 | SN: K20001- |
|||
| ? | 07280-01110 | CLAMP | 1 | SN: K20001- |
|||
| ? | 08036-01414 | CLIP | 3 | SN: K20001- |
|||
| ? | 01010-51016 | BOLT | 3 | SN: K20001- |
|||
| ? | 01643-31032 | WASHER | 3 | SN: K20001- |
|||
| ? | 01010-51435 | BOLT | 4 | SN: K20001- |
|||
| ? | 01643-31445 | WASHER | 4 | SN: K20001- |
