| Номер на схеме | Каталожный номер | Название | Количество | Детали | |||
|---|---|---|---|---|---|---|---|
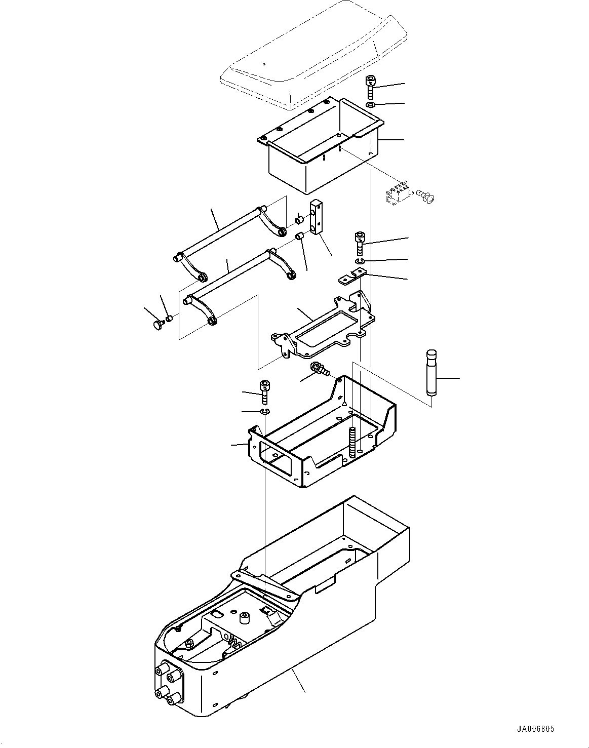
| ? | 14X-43-51211 | Box, Console | 1 | SN: 80001- KIT-FLAG: _- SCC: SERIALNO: 80001- |
|||
| ? | 14X-43-51501 | Bracket Assembly | 1 | SN: 80001- KIT-FLAG: _- SCC: SERIALNO: 80001- |
|||
| ? | • Bracket | 1 | SN: 80001- KIT-FLAG: _- SCC: C1 SERIALNO: 80001- |
||||
| ? | 19M-43-33720 | • Bracket | 1 | SN: 80001- KIT-FLAG: _- SCC: SERIALNO: 80001- |
|||
| ? | 19M-43-33730 | • Arm | 2 | SN: 80001- KIT-FLAG: _- SCC: SERIALNO: 80001- |
|||
| ? | 19M-43-33740 | • Block | 2 | SN: 80001- KIT-FLAG: _- SCC: SERIALNO: 80001- |
|||
| ? | 19M-43-33750 | • Pin | 4 | SN: 80001- KIT-FLAG: _- SCC: SERIALNO: 80001- |
|||
| ? | 19M-43-33760 | • Bushing | 4 | SN: 80001- KIT-FLAG: _- SCC: SERIALNO: 80001- |
|||
| ? | 19M-43-33770 | • Knob | 1 | SN: 80001- KIT-FLAG: _- SCC: SERIALNO: 80001- |
|||
| ? | 19M-43-33780 | • Plate | 1 | SN: 80001- KIT-FLAG: _- SCC: SERIALNO: 80001- |
|||
| ? | 19M-43-34330 | • Bushing | 4 | SN: 80001- KIT-FLAG: _- SCC: SERIALNO: 80001- |
|||
| ? | 01023-60516 | • Screw | 4 | SN: 80001- KIT-FLAG: _- SCC: SERIALNO: 80001- |
|||
| ? | 01252-80410 | • Bolt, Hexagon Socket Head | 2 | SN: 80001- KIT-FLAG: _- SCC: SERIALNO: 80001- |
|||
| ? | 01601-20410 | • Washer | 2 | SN: 80001- KIT-FLAG: _- SCC: SERIALNO: 80001- |
|||
| ? | 01252-80510 | Bolt | 4 | SN: 80001- KIT-FLAG: _- SCC: SERIALNO: 80001- |
|||
| ? | 01601-20512 | Washer | 4 | SN: 80001- KIT-FLAG: _- SCC: SERIALNO: 80001- |
|||
| ? | 14X-43-51691 | Bracket | 1 | SN: 80001- KIT-FLAG: _- SCC: SERIALNO: 80001- |
|||
| ? | 01252-B0510 | Bolt, Hexagon Socket Head | 4 | SN: 80001- KIT-FLAG: _- SCC: SERIALNO: 80001- |
|||
| ? | 01601-50513 | Washer, Spring | 4 | SN: 80001- KIT-FLAG: _- SCC: SERIALNO: 80001- |