| Номер на схеме | Каталожный номер | Название | Количество | Детали | |||
|---|---|---|---|---|---|---|---|
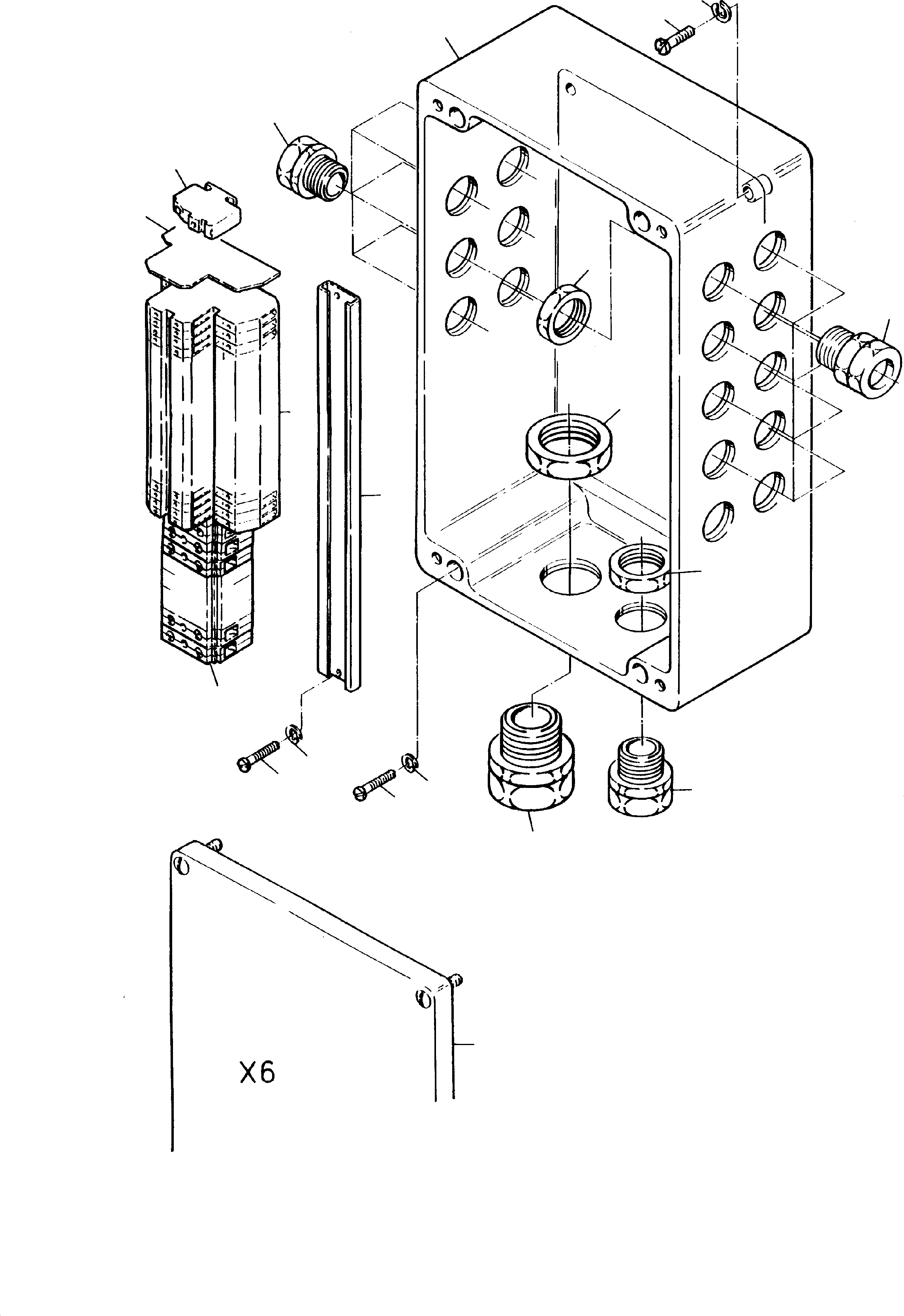
| ? | 255 032 40 | Housing, empty | 1 | EnglischBem: DeutschBem: DeutschDesc: Leergehдuse InternBDB: Bopla A 160 InternKon: SerienBem: Zwhead_Deu: Zwhead_Eng: |
|||
| ? | 356 266 40 | Cover plate | 1 | EnglischBem: DeutschBem: DeutschDesc: AbschluЯplatte InternBDB: Entrelec 118499.23 InternKon: SerienBem: Zwhead_Deu: Zwhead_Eng: |
|||
| ? | 356 264 40 | Twin terminal | 18 | EnglischBem: DeutschBem: DeutschDesc: Doppelstockklemme InternBDB: 115271-22 InternKon: SerienBem: Zwhead_Deu: Zwhead_Eng: |
|||
| ? | 356 265 40 | Clamp | 1 | EnglischBem: DeutschBem: DeutschDesc: Endklammer InternBDB: 103002-26 InternKon: SerienBem: Zwhead_Deu: Zwhead_Eng: |
|||
| ? | 505 940 99 | Assembly rail Bulk ware, state length required | A/R | EnglischBem: DeutschBem: DeutschDesc: Tragschiene
Meterware, bei Bestellung
Lдnge angeben InternBDB: Weidmьller TS 32
Weidmьller 1228.0 TS32 InternKon: SerienBem: Zwhead_Deu: Zwhead_Eng: |
|||
| ? | 323 354 40 | Cable union | 1 | EnglischBem: DeutschBem: DeutschDesc: Kabelverschraubung InternBDB: Sievert PG 21 5010.100.021 InternKon: SerienBem: Zwhead_Deu: Zwhead_Eng: |
|||
| ? | 323 950 40 | Cable union | 14 | EnglischBem: DeutschBem: DeutschDesc: Kabelverschraubung InternBDB: PG 9 5010.100.009 InternKon: SerienBem: Zwhead_Deu: Zwhead_Eng: |
|||
| ? | 323 952 40 | Cable union | 1 | EnglischBem: DeutschBem: DeutschDesc: Kabelverschraubung InternBDB: PG 13,5 5010.100.013 InternKon: SerienBem: Zwhead_Deu: Zwhead_Eng: |
|||
| ? | 059 200 40 | Ground wire-series terminal | 10 | EnglischBem: DeutschBem: DeutschDesc: Schutzleiter-Reihenklemme InternBDB: InternKon: SerienBem: Zwhead_Deu: Zwhead_Eng: |
|||
| ? | 320 816 99 | Screw | 6 | EnglischBem: DeutschBem: DeutschDesc: Schraube InternBDB: AM 5x10 /84 InternKon: SerienBem: Zwhead_Deu: Zwhead_Eng: |
|||
| ? | 343 852 99 | Lock washer | 6 | EnglischBem: DeutschBem: DeutschDesc: Federring InternBDB: 5 /7980 InternKon: SerienBem: Zwhead_Deu: Zwhead_Eng: |
|||
| ? | 320 975 99 | Screw | 4 | EnglischBem: DeutschBem: DeutschDesc: Schraube InternBDB: AM 4x16 /84 InternKon: SerienBem: Zwhead_Deu: Zwhead_Eng: |
|||
| ? | 346 508 99 | Lock washer | 4 | EnglischBem: DeutschBem: DeutschDesc: Federring InternBDB: 4 /128 InternKon: SerienBem: Zwhead_Deu: Zwhead_Eng: |
|||
| ? | 504 546 99 | Cable nut | 14 | EnglischBem: DeutschBem: DeutschDesc: Kabelmutter InternBDB: APG9 /46258 InternKon: SerienBem: Zwhead_Deu: Zwhead_Eng: |
|||
| ? | 600 804 99 | Cable nut | 1 | EnglischBem: DeutschBem: DeutschDesc: Kabelmutter InternBDB: APG 13,5/46258 InternKon: SerienBem: Zwhead_Deu: Zwhead_Eng: |
|||
| ? | 501 677 98 | Cable nut | 2 | EnglischBem: DeutschBem: DeutschDesc: Kabelmutter InternBDB: APG 21 /46258 InternKon: SerienBem: Zwhead_Deu: Zwhead_Eng: |