| Номер на схеме | Каталожный номер | Название | Количество | Детали | |||
|---|---|---|---|---|---|---|---|
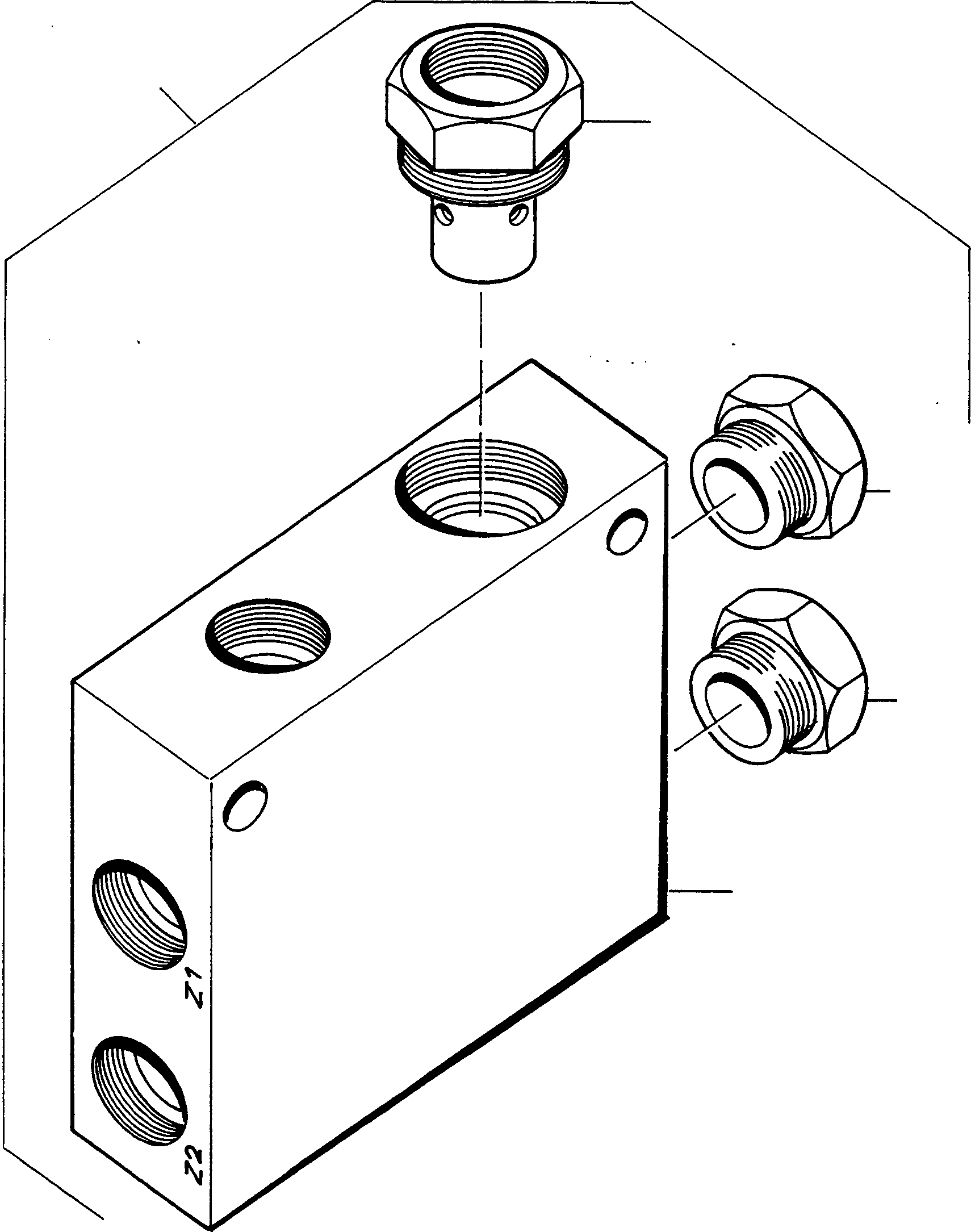
| ? | 4200746M91 | SERVO VALVE | 1 | EnglischBem: DeutschBem: FranzBem: ItalBem: SpanBem: DeutschDesc: SERVOVENTIL FranzDesc: SERVO DISTRIBUTEUR ItalDesc: VALVOLA SERVO SpanDesc: VALVULA SERVO |
|||
| ? | • HOUSING | 1 | EnglischBem: ORDER 4200 746 M91 DeutschBem: BESTELLE 4200 746 M91 FranzBem: COMMANDER 4200 746 M91 ItalBem: ORDINARE 4200 746 M91 SpanBem: PEDIR 4200 746 M91 DeutschDesc: GEHAEUSE FranzDesc: CARTER ItalDesc: CARCASSA SpanDesc: CARCASA |
||||
| ? | 3235277M1 | • VALVE | 2 | EnglischBem: DeutschBem: FranzBem: ItalBem: SpanBem: DeutschDesc: VENTIL FranzDesc: SOUPAPE ItalDesc: VALVOLA SpanDesc: VALVULA |
|||
| ? | 3230087M1 | • VALVE | 1 | EnglischBem: DeutschBem: FranzBem: ItalBem: SpanBem: DeutschDesc: VENTIL FranzDesc: SOUPAPE ItalDesc: VALVOLA SpanDesc: VALVULA |