k-part
Номер на схеме Каталожный номер Название Количество Детали
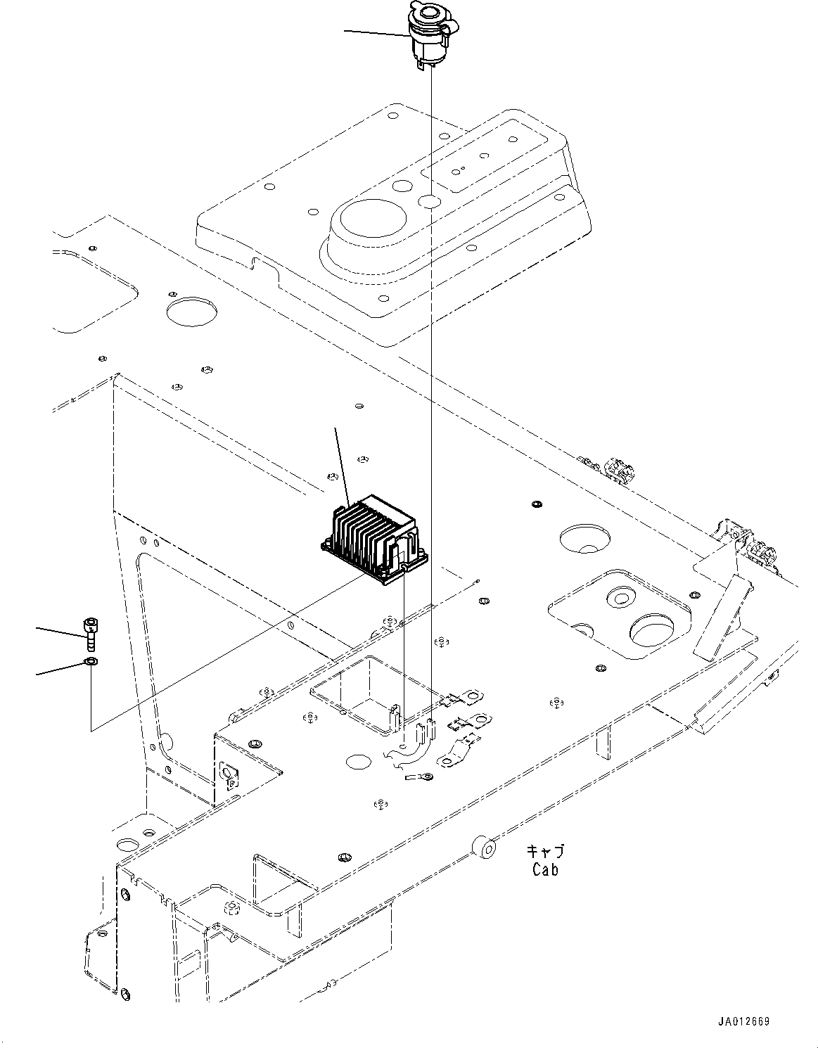
? 2A5-06-11881 Converter 1
SN: 61149-@
KIT-FLAG: _-
SCC:
SERIALNO: 61149-@
? 01252-B0520 Bolt 2
SN: 61149-@
KIT-FLAG: _-
SCC:
SERIALNO: 61149-@
? 01641-50508 Washer 2
SN: 60001-@
KIT-FLAG: _-
SCC:
SERIALNO: 60001-@
? 2A5-06-12530 Socket Assembly 1
SN: 61434-@
KIT-FLAG: _-
SCC:
SERIALNO: 61434-@
? 12Y-06-11640 Socket Assembly 1
SN: 60001-61433
KIT-FLAG: _-
SCC: A2
SERIALNO: 60001-61433

Bulldozers Komatsu / D37PX-22 S/N 60001-UP (EU Spec.)(0000142c) / Electric Converter For 12volt Power Source,  (#61149-61433)(E006002 : E0201-001001A)
?
?
?
?