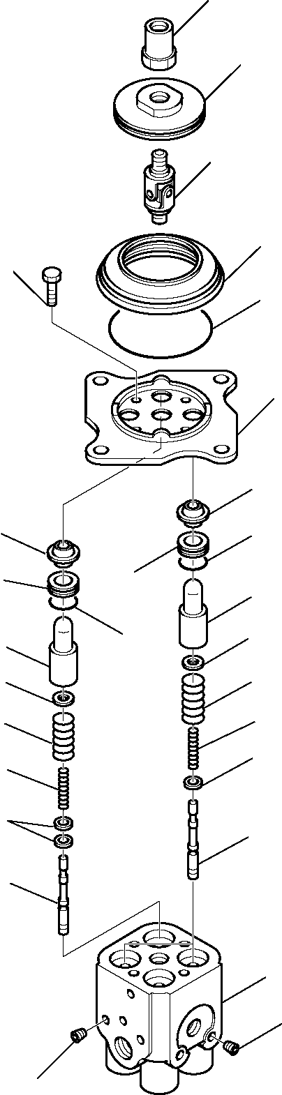
Найти k-part Содержание Skid Steer Loaders Komatsu HAND & FOOT CONTROLS SK815-5 turbo S/N 37BTF00003-Up(sk815thf) PPC VALVE (WORK EQUIPMENT)(A-0090 : 6412) Номер на схеме Каталожный номер Название Количество Детали ? PPC VALVE, ASSY. 1 SN: 37BTF00003- ? • HOLDER, VALVE W/CASE 1 SN: 37BTF00003- ? • PLUG 2 SN: 37BTF00003- ? • PLUG 2 SN: 37BTF00003- ? • VALVE 4 SN: 37BTF00003- ? • SHIM, 0.300 mm 6 SN: 37BTF00003- ? • SPRING 2 SN: 37BTF00003- ? • SPRING 2 SN: 37BTF00003- ? • STOPPER 4 SN: 37BTF00003- ? • SPRING 2 SN: 37BTF00003- ? • SPRING 2 SN: 37BTF00003- ? • PISTON 4 SN: 37BTF00003- ? • SEAL 4 SN: 37BTF00003- ? • O-RING 4 SN: 37BTF00003- ? • COLLAR 4 SN: 37BTF00003- ? • BOOT 1 SN: 37BTF00003- ? • PLATE 1 SN: 37BTF00003- ? • SCREW 4 SN: 37BTF00003- ? • JOINT 1 SN: 37BTF00003- ? • DISK 1 SN: 37BTF00003- ? • NUT 1 SN: 37BTF00003- ? • O-RING 1 SN: 37BTF00003- ? ? ? ? ? ? ? ? ? ? ? ? ? ? ? ? ? ? ? ? ? ? ? ? ? ? ? ?