| Номер на схеме | Каталожный номер | Название | Количество | Детали | |||
|---|---|---|---|---|---|---|---|
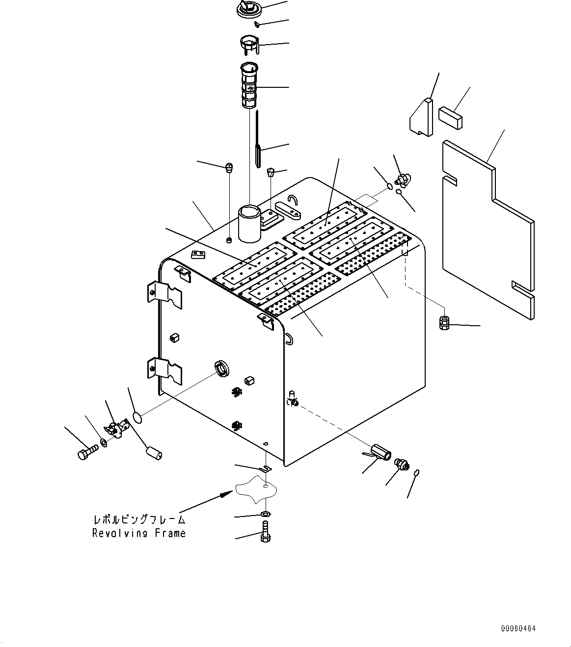
| ? | 208-04-75312 | Tank | 1 | SN: 70001- KIT-FLAG: _- SCC: SERIALNO: 70001- |
|||
| ? | 07700-40460 | Valve, Fuel Drain | 1 | SN: 70001- KIT-FLAG: _- SCC: SERIALNO: 70001- |
|||
| ? | 8255-62-4591 | Connector | 1 | SN: 70001- KIT-FLAG: _- SCC: SERIALNO: 70001- |
|||
| ? | 02896-11012 | O-ring | 1 | SN: 70001- KIT-FLAG: _- SCC: SERIALNO: 70001- |
|||
| ? | 02782-10315 | Elbow | 2 | SN: 70001- KIT-FLAG: _- SCC: SERIALNO: 70001- |
|||
| ? | 02896-11009 | O-ring | 2 | SN: 70001- KIT-FLAG: _- SCC: SERIALNO: 70001- |
|||
| ? | 07002-12034 | O-ring | 2 | SN: 70001- KIT-FLAG: _- SCC: SERIALNO: 70001- |
|||
| ? | 20Y-04-11161 | Cap | 1 | SN: 70001- KIT-FLAG: _- SCC: SERIALNO: 70001- |
|||
| ? | 20Y-04-11240 | Packing | 1 | SN: 70001- KIT-FLAG: _- SCC: SERIALNO: 70001- |
|||
| ? | 7861-92-5810 | Sensor | 1 | SN: 70001- KIT-FLAG: _- SCC: SERIALNO: 70001- |
|||
| ? | 07000-13050 | O-ring | 1 | SN: 70001- KIT-FLAG: _- SCC: SERIALNO: 70001- |
|||
| ? | 01010-80612 | Bolt | 4 | SN: 70001- KIT-FLAG: _- SCC: SERIALNO: 70001- |
|||
| ? | 01643-30623 | Washer | 4 | SN: 70001- KIT-FLAG: _- SCC: SERIALNO: 70001- |
|||
| ? | 22U-04-21241 | Strainer Assembly | 1 | SN: 70001- KIT-FLAG: _- SCC: SERIALNO: 70001- |
|||
| ? | 22U-04-21200 | • Float Assembly | 1 | SN: 70001- KIT-FLAG: _- SCC: SERIALNO: 70001- |
|||
| ? | 22U-04-21210 | • • Guide | 1 | SN: 70001- KIT-FLAG: _- SCC: SERIALNO: 70001- |
|||
| ? | 20Y-04-21580 | • • Cap | 1 | SN: 70001- KIT-FLAG: _- SCC: SERIALNO: 70001- |
|||
| ? | 22U-04-21220 | • • Float | 1 | SN: 70001- KIT-FLAG: _- SCC: SERIALNO: 70001- |
|||
| ? | 07056-18425 | • Strainer | 1 | SN: 70001- KIT-FLAG: _- SCC: SERIALNO: 70001- |
|||
| ? | 208-04-75220 | Sheet | 1 | SN: 70001- KIT-FLAG: _- SCC: SERIALNO: 70001- |
|||
| ? | 208-04-71231 | Sheet | 1 | SN: 70001- KIT-FLAG: _- SCC: SERIALNO: 70001- |
|||
| ? | 208-04-71241 | Sheet | 1 | SN: 70001- KIT-FLAG: _- SCC: SERIALNO: 70001- |
|||
| ? | 203-04-K1140 | End | 1 | SN: 70001- KIT-FLAG: _- SCC: SERIALNO: 70001- |
|||
| ? | 07042-30211 | Plug, Taper | 1 | SN: 70001- KIT-FLAG: _- SCC: SERIALNO: 70001- |
|||
| ? | 20Y-00-42120 | Plate | 4 | SN: 70001- KIT-FLAG: _- SCC: SERIALNO: 70001- |
|||
| ? | 01010-81635 | Bolt | 6 | SN: 70001- KIT-FLAG: _- SCC: SERIALNO: 70001- |
|||
| ? | 01643-31645 | Washer | 6 | SN: 70001- KIT-FLAG: _- SCC: SERIALNO: 70001- |
|||
| ? | 195-03-11570 | Shim, T=1.0mm | 2 | SN: 70001- KIT-FLAG: _- SCC: SERIALNO: 70001- |
|||
| ? | 07049-01215 | Plug | 2 | SN: 70001- KIT-FLAG: _- SCC: SERIALNO: 70001- |