k-part
Номер на схеме Каталожный номер Название Количество Детали
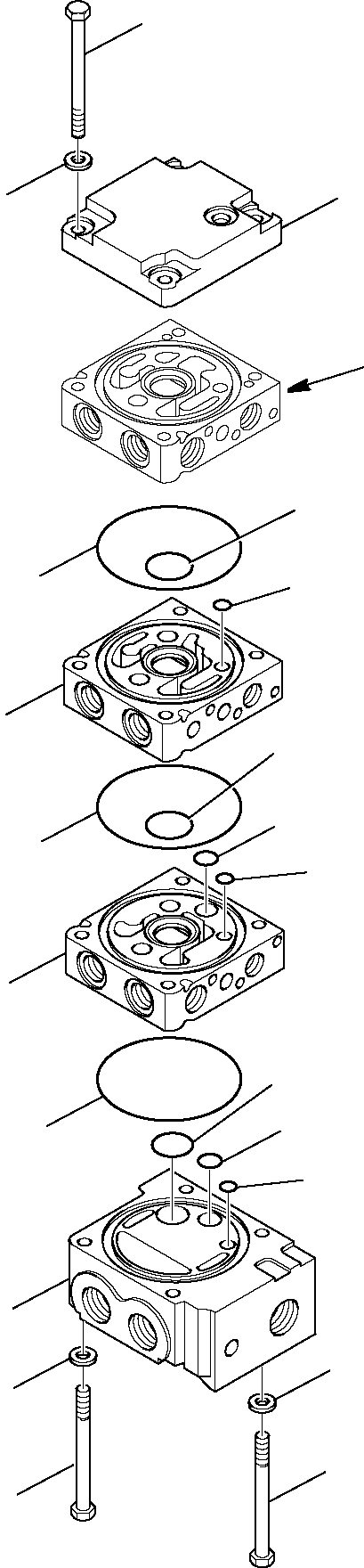
? 723-13-12700 CONTROL VALVE, ASSY. 1
SN: 37BTF50003-
? • BODY 1
SN: 37BTF50003-
? • BOOM BODY 1
SN: 37BTF50003-
? • BODY, BUCKET 1
SN: 37BTF50003-
? • COVER 1
SN: 37BTF50003-
? 01643-50823 • WASHER 8
SN: 37BTF50003-
? 723-11-29460 • BOLT 2
SN: 37BTF50003-
? 723-11-29470 • BOLT 2
SN: 37BTF50003-
? 01010-80865 • BOLT 4
SN: 37BTF50003-
? 07000-12100 • O-RING 3
SN: 37BTF50003-
? 723-11-19110 • O-RING 2
SN: 37BTF50003-
? 07000-11008 • O-RING 1
SN: 37BTF50003-
? 07000-11007 • O-RING 2
SN: 37BTF50003-
? 723-46-17530 • O-RING 2
SN: 37BTF50003-
? 723-11-29490 • O-RING 1
SN: 37BTF50003-
? SEE FIG. 6220 6220

Skid Steer Loaders Komatsu / SK820-5 USA turbo S/N 37BTF50003-Up(sk820ta) / CONTROL VALVE (STANDARD) (1/11)(F-0260 : 6200)
?
?
?
?
?
?
?
?
?
?
?
?
?
?
?
?
?
?
?
?
?
?