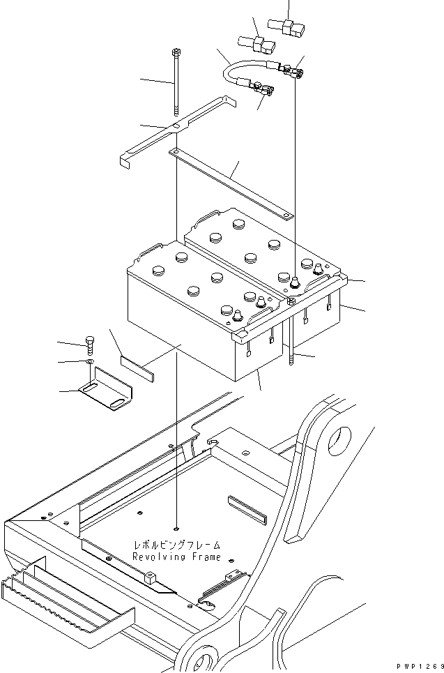
| Номер на схеме | Каталожный номер | Название | Количество | Детали | |||
|---|---|---|---|---|---|---|---|
| ? | 423-06-K1110 | BATTERY ? 12V 150AH,WET | 2 | SN: K40001- |
|||
| ? | 08000-00000 | TERMINAL ? (+) | 2 | SN: K40001- |
|||
| ? | 08000-00001 | TERMINAL ? (-) | 2 | SN: K40001- |
|||
| ? | 205-06-K1251 | CLAMP | 2 | SN: K40001- |
|||
| ? | 207-06-K1270 | PLATE | 1 | SN: K40001- |
|||
| ? | 205-06-K1730 | BOLT | 2 | SN: K40001- |
|||
| ? | 08038-42511 | CAP | 2 | SN: K40001- |
|||
| ? | 08028-63050 | WIRE | 1 | SN: K40001- |
|||
| ? | 207-06-61461 | BRACKET | 1 | SN: K40001- |
|||
| ? | 207-06-51330 | • SHEET | 1 | SN: K40001- |
|||
| ? | 01010-81225 | BOLT | 2 | SN: K40001- |
|||
| ? | 175-54-34170 | WASHER | 2 | SN: K40001- |