k-part
Номер на схеме Каталожный номер Название Количество Детали
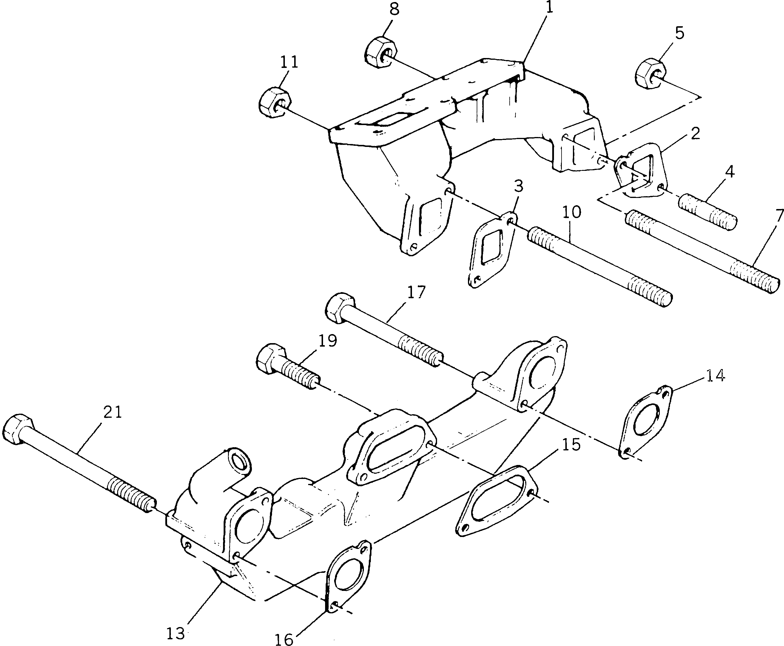
? PK3778H141 MANIFOLD,EXHAUST 1
SN: U604351W-
? PK36862159 JOINT 1
SN: U604351W-
? PK36862159 JOINT 1
SN: U604351W-
? PK2313C078 STUD 2
SN: .-
? PK2313M078 STUD 2
SN: U604351W-.
? PK2318A634 NUT 2
SN: U604351W-
? PK2313C091 STUD 1
SN: .-
? PK2313M091 STUD 1
SN: U604351W-.
? PK2318A634 NUT 1
SN: U604351W-
? PK2313C091 STUD 1
SN: .-
? PK2313M091 STUD 1
SN: U604351W-.
? PK2318A634 NUT 1
SN: U604351W-
? PK3777E182 MANIFOLD 1
SN: U604351W-
? PK3688C003 JOINT (KIT) 1
SN: U604351W-
? PK3688C002 JOINT (KIT) 1
SN: U604351W-
? PK3688C001 JOINT (KIT) 1
SN: U604351W-
? PK2314J042 SCREW 2
SN: U604351W-
? PK2314J034 SCREW 3
SN: U604351W-
? PK2314J046 SCREW 1
SN: U604351W-

Engines Komatsu / 1004-4TLR S/N U604351W-UP(1004-4tu) / MANIFOLDS(030060 : 0131)