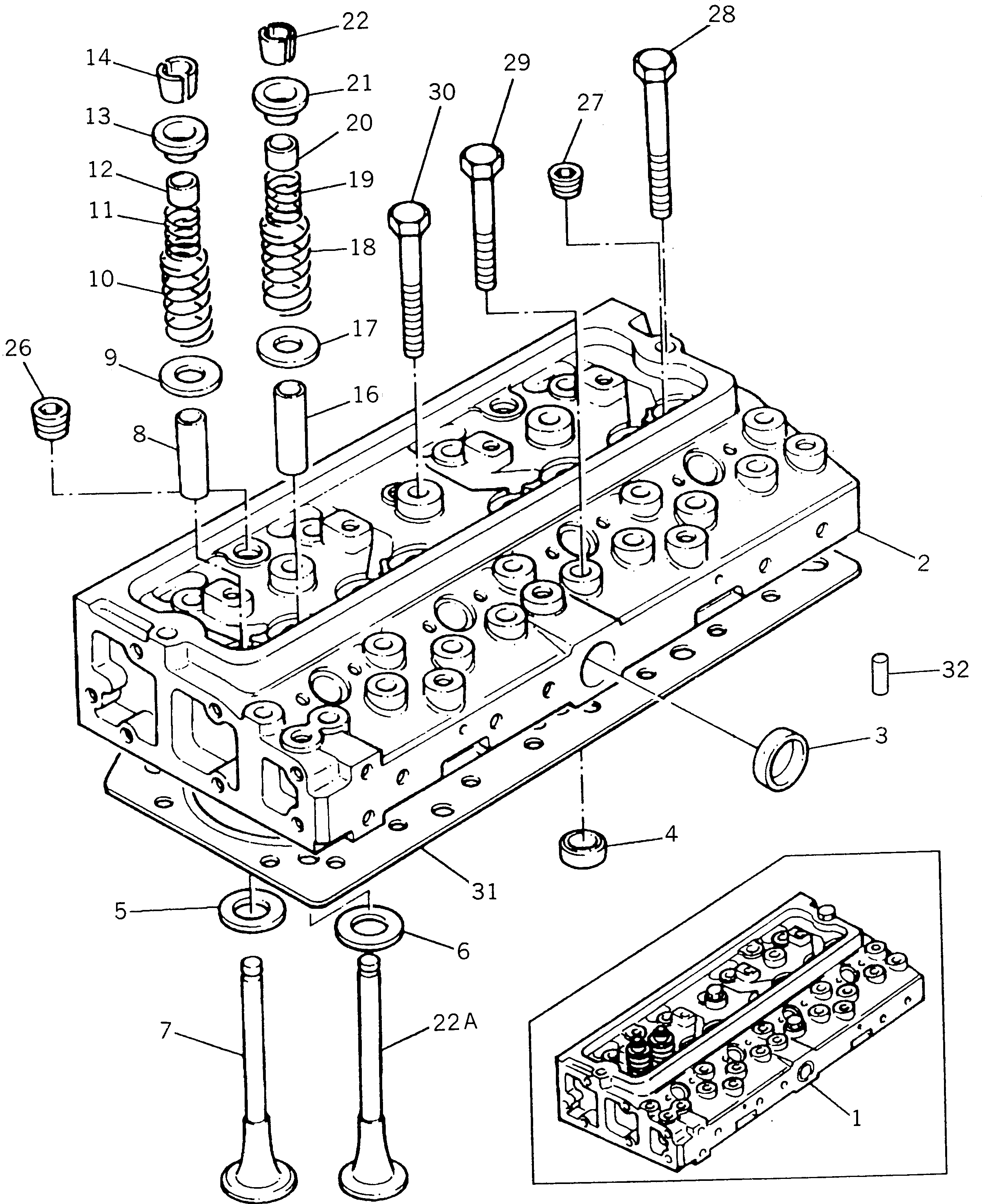
| Номер на схеме | Каталожный номер | Название | Количество | Детали | |||
|---|---|---|---|---|---|---|---|
| ? | PKZZ80199 | CYLINDER HEAD ASS'Y | 1 | SN: ..- |
|||
| ? | PKZZ80194 | CYLINDER HEAD ASS'Y | 1 | SN: ..- |
|||
| ? | PKZZ80170 | CYLINDER HEAD ASS'Y | 1 | SN: .-.. |
|||
| ? | PKZZ80084 | CYLINDER HEAD ASS'Y | 1 | SN: U604351W-. |
|||
| ? | PKZZ80169 | • HEAD,CYLINDER | 1 | SN: .- |
|||
| ? | ☆ | • HEAD,CYLINDER | 1 | SN: U604351W-. |
|||
| ? | PK0650710 | • PLUG | 1 | SN: U604351W- |
|||
| ? | PK32417121 | • PLUG | 4 | SN: U604351W- |
|||
| ? | PK3324E002 | • INSERT | 4 | SN: .- |
|||
| ? | PK3314A121 | • INSERT | 4 | SN: .- |
|||
| ? | PK3142L072 | • VALVE,INLET | 4 | SN: .- |
|||
| ? | PK3142L051 | • VALVE,INLET | 4 | SN: U604351W-. |
|||
| ? | PK3343F031 | • GUIDE | 4 | SN: .- |
|||
| ? | PK3343F002 | • GUIDE | 4 | SN: U604351W-. |
|||
| ? | PK33415118 | • WASHER | 4 | SN: U604351W- |
|||
| ? | PK31745122 | • SPRING | 4 | SN: U604351W- |
|||
| ? | PK31744133 | • SPRING | 4 | SN: U604351W- |
|||
| ? | PK33817117 | • SEAL (KIT) | 4 | SN: U604351W- |
|||
| ? | PK33424107 | • CAP | 4 | SN: U604351W- |
|||
| ? | PK33173108 | • COTTER | 8 | SN: U604351W- |
|||
| ? | PK3343J002 | • GUIDE | 4 | SN: U604351W- |
|||
| ? | PK33415118 | • WASHER | 4 | SN: U604351W- |
|||
| ? | PK31745122 | • SPRING | 4 | SN: U604351W- |
|||
| ? | PK31744133 | • SPRING | 4 | SN: U604351W- |
|||
| ? | PK33817117 | • SEAL (KIT) | 4 | SN: U604351W- |
|||
| ? | PK33424107 | • CAP | 4 | SN: U604351W- |
|||
| ? | PK33173108 | • COTTER | 8 | SN: U604351W- |
|||
| ? | PK3142A051 | VALVE,EXHAUST | 4 | SN: U604351W- |
|||
| ? | PK2431154 | PLUG | 2 | SN: U604351W- |
|||
| ? | PK2431A054 | PLUG | 4 | SN: U604351W- |
|||
| ? | PK32166222 | SCREW | 2 | SN: U604351W- |
|||
| ? | PK32166219 | SCREW | 8 | SN: U604351W- |
|||
| ? | PK32166221 | SCREW | 12 | SN: U604351W- |
|||
| ? | PK3681E025 | GASKET | 1 | SN: .- |
|||
| ? | PK3681E017 | GASKET (KIT) | 1 | SN: U604351W-. |
|||
| ? | PK2116081 | DOWEL,DOWEL | 2 | SN: .- |
