| Номер на схеме | Каталожный номер | Название | Количество | Детали | |||
|---|---|---|---|---|---|---|---|
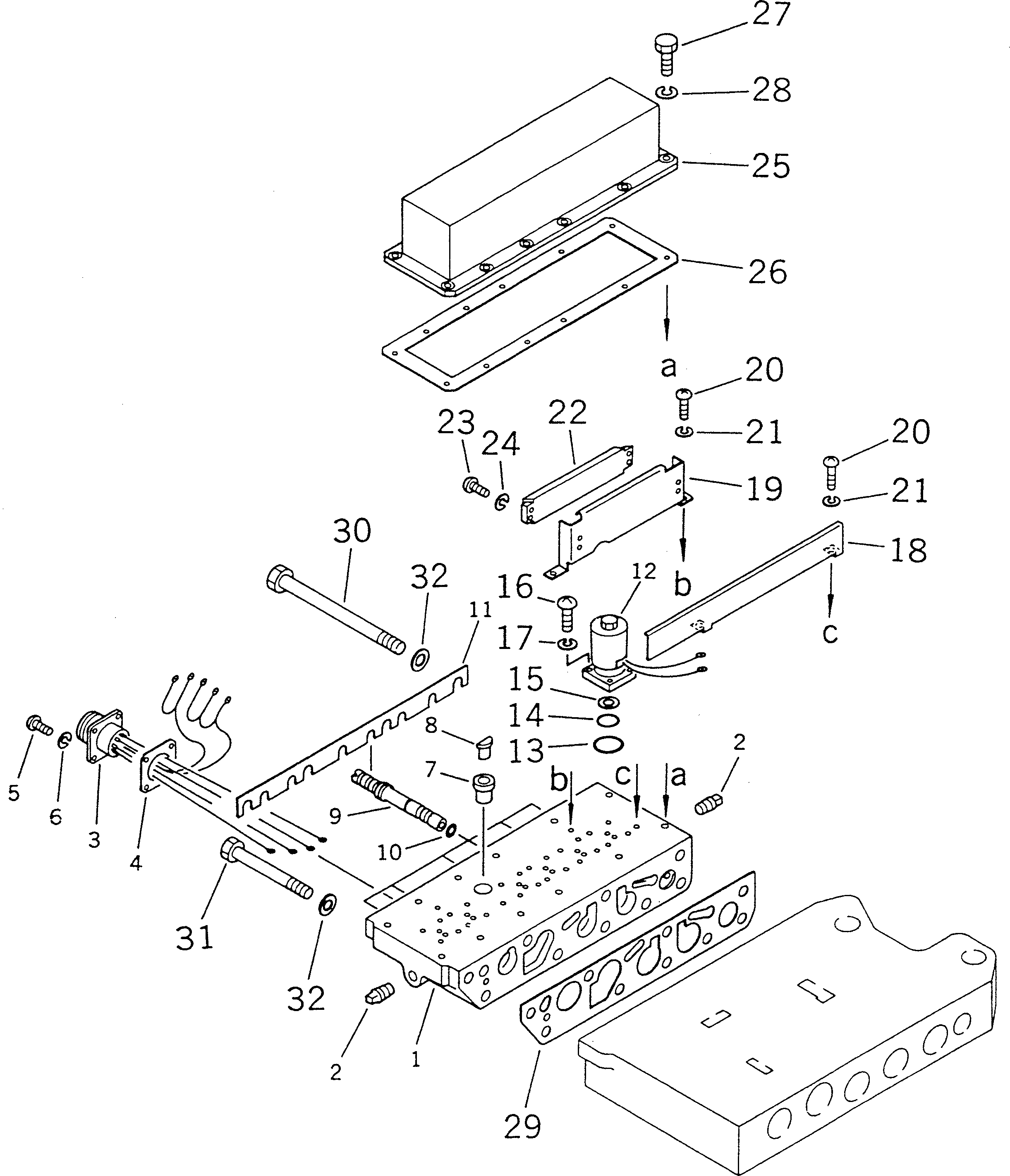
| ? | (421-15-00013) | TRANSMISSION ASS'Y | 1 | SN: 10001- |
|||
| ? | THIS ASSEMBLY CONSISTS OF ALL PARTS SHOWN IN FIGS.2501 TO 2531. | ||||||
| ? | (421-15-00304) | • CONTROL VALVE A. | 1 | SN: 10001- |
|||
| ? | THIS ASSEMBLY CONSISTS OF ALL PARTS SHOWN IN FIGS.2521 TO 2523. | ||||||
| ? | 424-15-00302 | • • VALVE ASS'Y,SOLENOID | 1 | SN: 10001- |
|||
| ? | 424-15-17111 | • • • BODY | 1 | SN: 10001- |
|||
| ? | 07043-70108 | • • • PLUG | 2 | SN: 10001- |
|||
| ? | 424-15-17212 | • • • WIRE ASS'Y | 1 | SN: 10001- |
|||
| ? | 22W-06-15690 | • • • GASKET (K3) | 1 | SN: 10001- |
|||
| ? | 01220-40310 | • • • SCREW | 4 | SN: 10001- |
|||
| ? | 01601-20307 | • • • WASHER,SPRING | 4 | SN: 10001- |
|||
| ? | 568-15-15960 | • • • BUSHING | 1 | SN: 10001- |
|||
| ? | 568-15-15970 | • • • PAD | 1 | SN: 10001- |
|||
| ? | 424-15-17310 | • • • SPOOL | 6 | SN: 10001- |
|||
| ? | 07000-71009 | • • • O-RING (K3) | 6 | SN: 10001- |
|||
| ? | 424-15-17340 | • • • PLATE | 1 | SN: 10001- |
|||
| ? | 561-15-47210 | • • • VALVE,SOLENOID | 6 | SN: (4288)- |
|||
| ? | □568-15-17210 | • • • VALVE,SOLENOID | 6 | SN: 10001-(4287) |
|||
| ? | 568-15-17260 | • • • • O-RING (K3) | 1 | SN: 10001- |
|||
| ? | 07000-31006 | • • • • O-RING (K3) | 1 | SN: 10001- |
|||
| ? | 561-15-47230 | • • • • SCREEN | 1 | SN: (4288)- |
|||
| ? | 01220-40416 | • • • SCREW | 24 | SN: 10001- |
|||
| ? | 01601-20410 | • • • WASHER,SPRING | 24 | SN: 10001- |
|||
| ? | 424-15-17160 | • • • PROTECTOR | 1 | SN: 10001- |
|||
| ? | 424-15-17150 | • • • STAND | 1 | SN: 10001- |
|||
| ? | 01220-40412 | • • • SCREW | 4 | SN: 10001- |
|||
| ? | 01601-20410 | • • • WASHER,SPRING | 4 | SN: 10001- |
|||
| ? | 568-15-17220 | • • • TERMINAL | 1 | SN: 10001- |
|||
| ? | 01220-40310 | • • • SCREW | 4 | SN: 10001- |
|||
| ? | 01601-20307 | • • • WASHER,SPRING | 4 | SN: 10001- |
|||
| ? | 424-15-17130 | • • • COVER | 1 | SN: 10001- |
|||
| ? | 424-15-17140 | • • • GASKET (K3) | 1 | SN: 10001- |
|||
| ? | 01252-40616 | • • • BOLT | 12 | SN: 10001- |
|||
| ? | 01602-20619 | • • • WASHER,SPRING | 12 | SN: 10001- |
|||
| ? | 424-15-17121 | • • GASKET (K3) | 1 | SN: 10001- |
|||
| ? | 01011-51040 | • • BOLT | 5 | SN: 10001- |
|||
| ? | 01010-51085 | • • BOLT | 4 | SN: 10001- |
|||
| ? | 01643-31032 | • • WASHER | 9 | SN: 10001- |
