| Номер на схеме | Каталожный номер | Название | Количество | Детали | |||
|---|---|---|---|---|---|---|---|
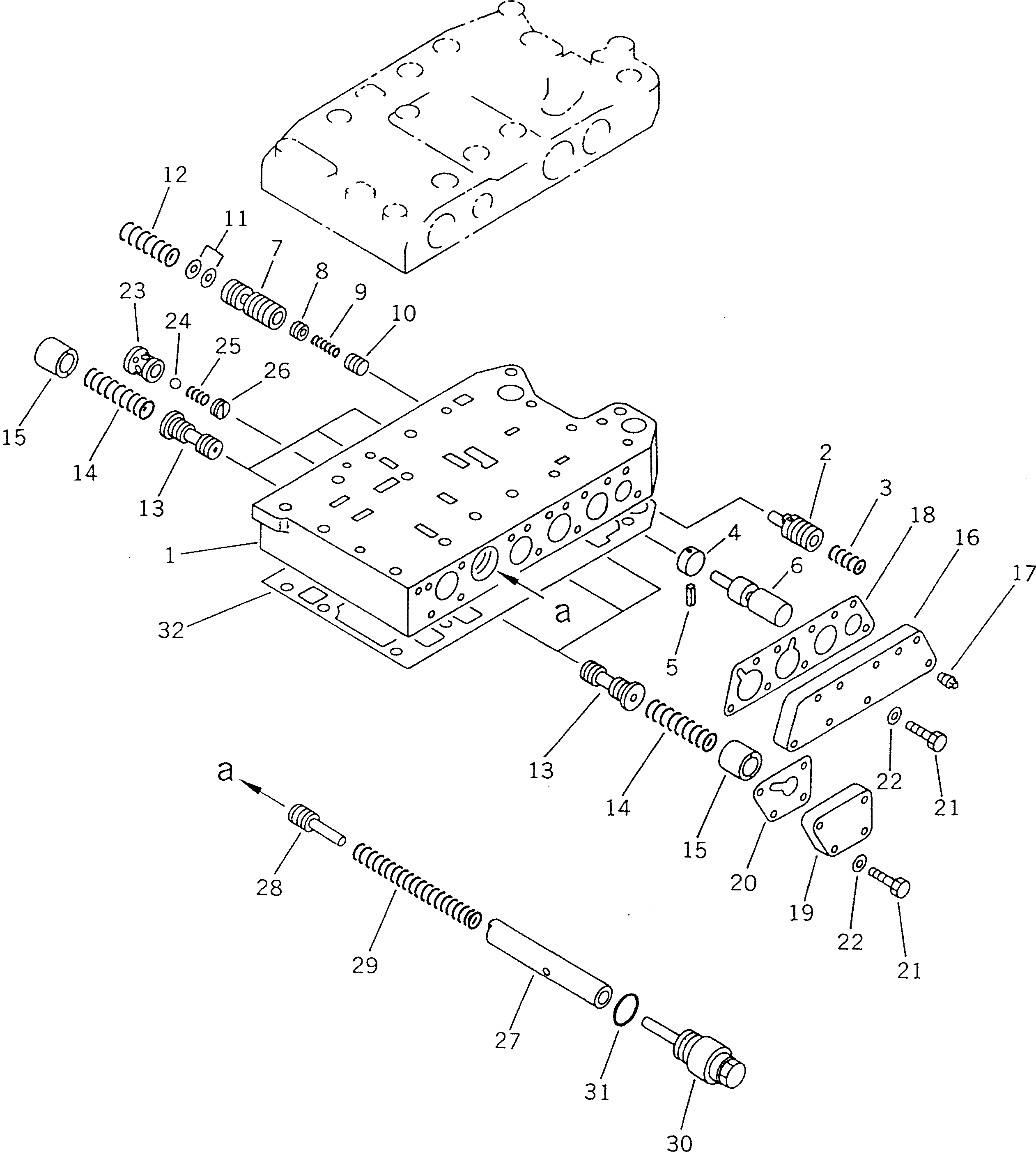
| ? | (421-15-00013) | TRANSMISSION ASS'Y | 1 | SN: 10001- |
|||
| ? | THIS ASSEMBLY CONSISTS OF ALL PARTS SHOWN IN FIGS.2501 TO 2531. | ||||||
| ? | (421-15-00304) | • CONTROL VALVE A. | 1 | SN: 10001- |
|||
| ? | THIS ASSEMBLY CONSISTS OF ALL PARTS SHOWN IN FIGS.2521 TO 2523. | ||||||
| ? | 424-15-15210 | • • BODY | 1 | SN: 10001- |
|||
| ? | 232-15-14230 | • • VALVE | 1 | SN: 10001- |
|||
| ? | 232-15-14260 | • • SPRING¤ (L= 39.4) | 1 | SN: 10001- |
|||
| ? | 424-15-15670 | • • STOPPER | 1 | SN: 10001- |
|||
| ? | 04025-00640 | • • PIN,SPRING | 1 | SN: 10001- |
|||
| ? | 424-15-15391 | • • VALVE | 1 | SN: 10001- |
|||
| ? | 424-15-15340 | • • VALVE | 1 | SN: 10001- |
|||
| ? | 104-15-25480 | • • VALVE | 1 | SN: 10001- |
|||
| ? | 125-15-15290 | • • SPRING | 1 | SN: 10001- |
|||
| ? | 104-15-25490 | • • VALVE | 1 | SN: 10001- |
|||
| ? | 113-15-25260 | • • SHIM¤ 0.5MM | 6 | SN: 10001- |
|||
| ? | 104-15-25290 | • • SPRING¤ (L= 62.0) | 1 | SN: 10001- |
|||
| ? | 424-15-15321 | • • VALVE | 6 | SN: 10001- |
|||
| ? | 568-15-15330 | • • SPRING¤ (L= 78.0) | 6 | SN: 10001- |
|||
| ? | 424-15-15371 | • • STOPPER | 6 | SN: 10001- |
|||
| ? | 424-15-15950 | • • COVER | 1 | SN: 10001- |
|||
| ? | 07042-20108 | • • PLUG | 1 | SN: 10001- |
|||
| ? | 424-15-15961 | • • GASKET (K3) | 1 | SN: (5622)- |
|||
| ? | □424-15-15960 | • • GASKET (K3) | 1 | SN: 10001-(5621) |
|||
| ? | 424-15-15910 | • • COVER | 1 | SN: 10001- |
|||
| ? | 424-15-15921 | • • GASKET (K3) | 1 | SN: (5622)- |
|||
| ? | □424-15-15920 | • • GASKET (K3) | 1 | SN: 10001-(5621) |
|||
| ? | 01010-50830 | • • BOLT | 12 | SN: 10001- |
|||
| ? | 01643-30823 | • • WASHER | 12 | SN: 10001- |
|||
| ? | 424-15-15460 | • • VALVE | 1 | SN: 10001- |
|||
| ? | 04260-01270 | • • BALL | 1 | SN: 10001- |
|||
| ? | 700-80-63230 | • • SPRING | 1 | SN: 10001- |
|||
| ? | 424-15-15470 | • • STOPPER | 1 | SN: 10001- |
|||
| ? | 424-15-15441 | • • COLLAR | 1 | SN: 10001- |
|||
| ? | 424-15-15421 | • • VALVE | 1 | SN: 10001- |
|||
| ? | 424-15-16230 | • • SPRING¤ (L=135.9) | 1 | SN: 10001- |
|||
| ? | 424-15-15760 | • • PLUG | 1 | SN: 10001- |
|||
| ? | 07002-03034 | • • O-RING (K3) | 1 | SN: 10001- |
|||
| ? | 424-15-15993 | • GASKET (K3) | 1 | SN: (5622)- |
|||
| ? | □424-15-15992 | • GASKET (K3) | 1 | SN: 10001-(5621) |
