k-part
Номер на схеме Каталожный номер Название Количество Детали
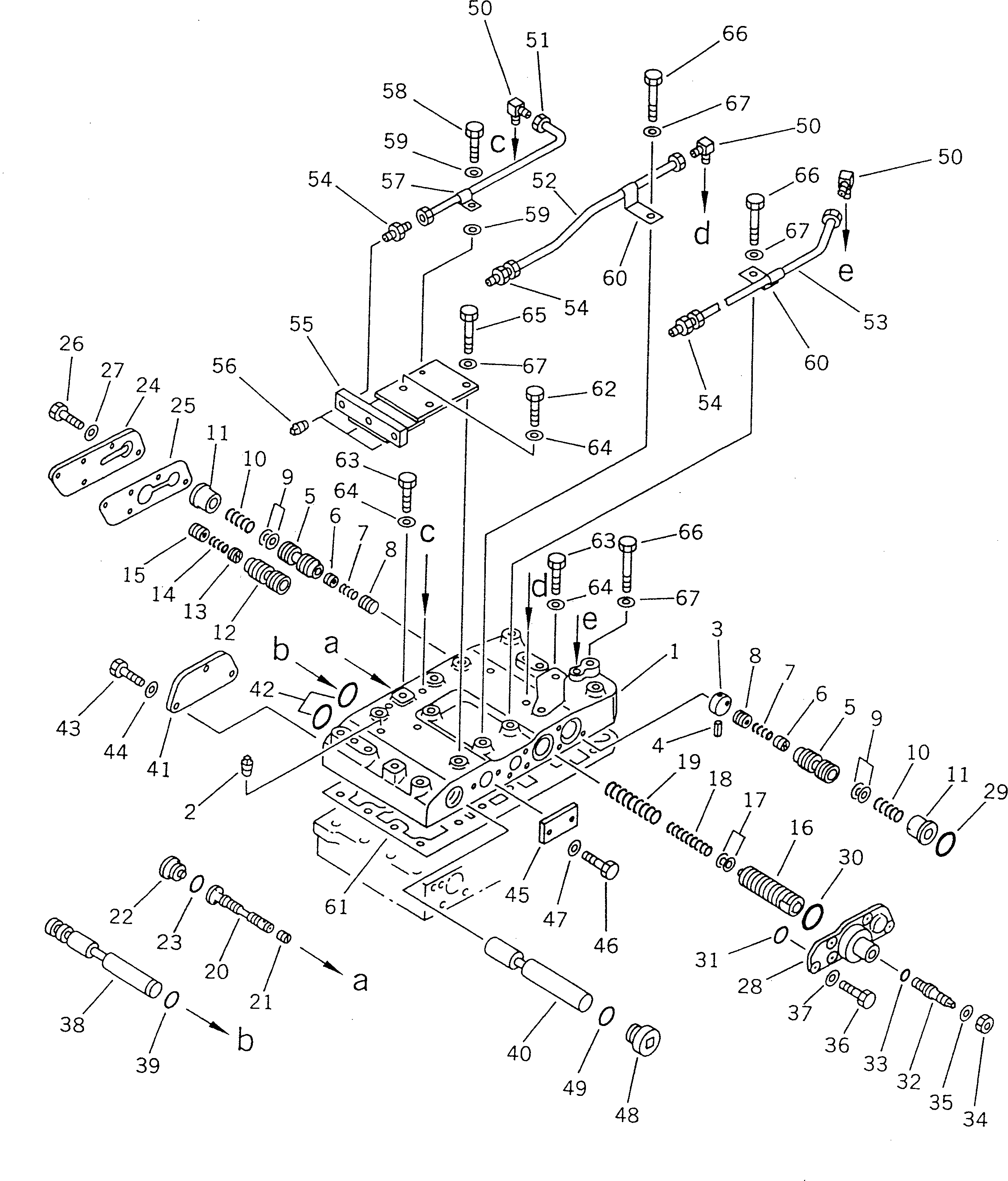
? (421-15-00013) TRANSMISSION ASS'Y 1
SN: 10001-
? THIS ASSEMBLY CONSISTS OF ALL PARTS SHOWN IN FIGS.2501 TO 2531.
? 421-15-00304 • CONTROL VALVE A. 1
SN: 10001-
? THIS ASSEMBLY CONSISTS OF ALL PARTS SHOWN IN FIGS.2521 TO 2523.
? 424-15-15110 • • BODY 1
SN: 10001-
? 07042-20108 • • PLUG 4
SN: 10001-
? 424-15-15650 • • STOPPER 1
SN: 10001-
? 04025-00640 • • PIN,SPRING 1
SN: 10001-
? 424-15-15230 • • VALVE 2
SN: 10001-
? 104-15-25490 • • VALVE 2
SN: 10001-
? 125-15-15290 • • SPRING 2
SN: 10001-
? 104-15-25480 • • VALVE 2
SN: 10001-
? 113-15-25260 • • SHIM¤ 0.5MM 14
SN: 10001-
? 104-15-25290 • • SPRING¤ (L= 62.0) 2
SN: 10001-
? 424-15-15490 • • GUIDE 2
SN: 10001-
? 424-15-15240 • • VALVE 1
SN: 10001-
? 104-15-25490 • • VALVE 1
SN: 10001-
? 125-15-15290 • • SPRING 1
SN: 10001-
? 104-15-25480 • • VALVE 1
SN: 10001-
? 424-15-15561 • • VALVE 1
SN: 10001-
? 424-15-16410 • • SHIM¤ 0.5MM 6
SN: 10001-
? 424-15-16170 • • SPRING¤ (L=118.0) 1
SN: 10001-
? 424-15-16161 • • SPRING¤ (L=145.66) 1
SN: 10001-
? 423-15-00210 • • VALVE ASS'Y 1
SN: 10001-
? • • • VALVE 1
SN: 10001-
? 125-15-11230 • • • PLUG 1
SN: 10001-
? 424-15-15290 • • STOPPER 1
SN: 10001-
? 07000-72021 • • O-RING (K3) 1
SN: 10001-
? 424-15-15860 • • COVER 1
SN: 10001-
? 424-15-15931 • • GASKET (K3) 1
SN: (5622)-
? □424-15-15930 • • GASKET (K3) 1
SN: 10001-(5621)
? 01010-50820 • • BOLT 5
SN: 10001-
? 01643-30823 • • WASHER 5
SN: 10001-
? 424-15-15850 • • COVER 1
SN: 10001-
? 07000-73030 • • O-RING (K3) 1
SN: 10001-
? 07000-73035 • • O-RING (K3) 1
SN: 10001-
? 07000-72015 • • O-RING (K3) 1
SN: 10001-
? 424-15-15840 • • PLUG 1
SN: 10001-
? 07000-71009 • • O-RING (K3) 1
SN: 10001-
? 01580-11008 • • NUT 1
SN: 10001-
? 01643-31032 • • WASHER 1
SN: 10001-
? 01010-50825 • • BOLT 6
SN: 10001-
? 01643-30823 • • WASHER 6
SN: 10001-
? 424-15-15711 • • SPACER 1
SN: 10001-
? 07000-72021 • • O-RING (K3) 1
SN: 10001-
? 424-15-15720 • • SPACER 1
SN: 10001-
? 424-15-15880 • • COVER 1
SN: 10001-
? 07000-73030 • • O-RING (K3) 2
SN: 10001-
? 01010-50820 • • BOLT 3
SN: 10001-
? 01643-30823 • • WASHER 3
SN: 10001-
? 424-15-15870 • • PLATE 1
SN: 10001-
? 01010-50820 • • BOLT 2
SN: 10001-
? 01643-30823 • • WASHER 2
SN: 10001-
? 07040-13016 • • PLUG 1
SN: 10001-
? 07002-03034 • • O-RING (K3) 1
SN: 10001-
? 176-43-41350 • • ELBOW 3
SN: 10001-
? 421-15-15761 • • TUBE 1
SN: 10001-
? 421-15-15771 • • TUBE 1
SN: 10001-
? 421-15-15781 • • TUBE 1
SN: 10001-
? 07213-50710 • • CONNECTOR 3
SN: 10001-
? 421-15-15751 • • BRACKET 1
SN: 10001-
? 07042-20108 • • PLUG 3
SN: 10001-
? 04434-00608 • • CLIP 1
SN: 10001-
? 01010-50812 • • BOLT 1
SN: 10001-
? 01643-30823 • • WASHER 2
SN: 10001-
? 421-15-15790 • • CLIP 2
SN: 10001-
? 424-15-15982 • • GASKET (K3) 1
SN: 10001-
? 01010-51075 • • BOLT 1
SN: 10001-
? 01010-51070 • • BOLT 2
SN: 10001-
? 01643-31032 • • WASHER 3
SN: 10001-
? 01011-51030 • BOLT 2
SN: 10001-
? 01011-51025 • BOLT 13
SN: 10001-
? 01643-31032 • WASHER 15
SN: 10001-

Compactors Komatsu / WF450T-1 S/N 10001-UP(wf450t-r) / TRANSMISSION CONTROL VALVE (1/3)(060160 : 2521)