| Номер на схеме | Каталожный номер | Название | Количество | Детали | |||
|---|---|---|---|---|---|---|---|
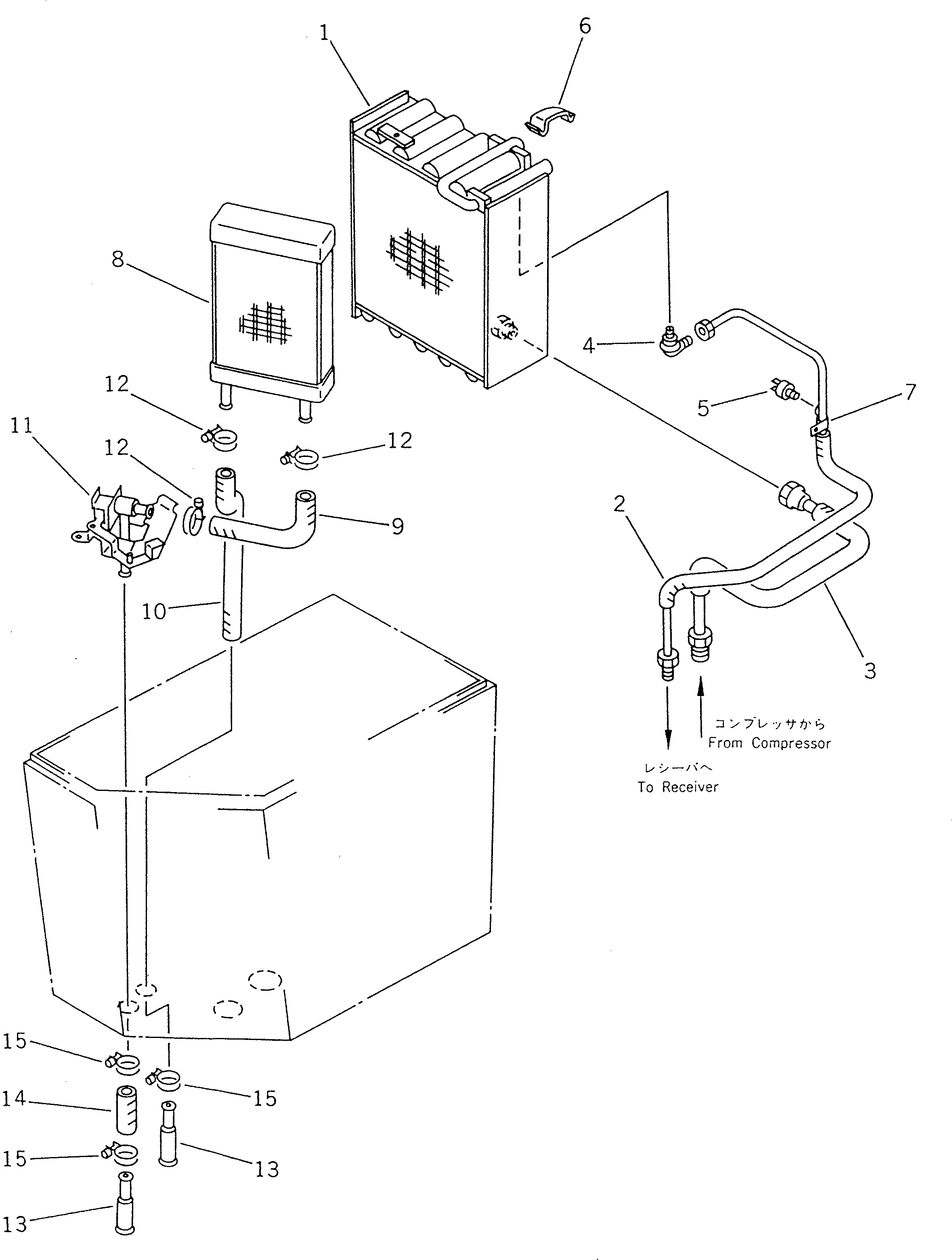
| ? | (423-T43-1111) | AIR CONDITIONER A. | 1 | SN: 10001- |
|||
| ? | THIS ASSEMBLY CONSISTS OF ALL PARTS SHOWN IN FIGS.5511 AND 5512. | ||||||
| ? | 425-963-1650 | • EVAPORATOR | 1 | SN: 10001- |
|||
| ? | 423-T43-1130 | • TUBE,LIQUID | 1 | SN: 10001- |
|||
| ? | 425-963-1720 | • TUBE,SUCTION | 1 | SN: 10001- |
|||
| ? | 425-963-2180 | • VALVE,EXPANSION | 1 | SN: 10001- |
|||
| ? | 423-T43-1140 | • SWITCH,LOW PRESSURE | 1 | SN: 10001- |
|||
| ? | 425-963-2230 | • CLIP | 1 | SN: 10001- |
|||
| ? | 425-963-2240 | • CLAMP | 1 | SN: 10001- |
|||
| ? | 425-963-1660 | • HEATER COIL ASS'Y | 1 | SN: 10001- |
|||
| ? | 425-963-1730 | • HOSE,WATER | 1 | SN: 10001- |
|||
| ? | 425-963-1740 | • HOSE,WATER | 1 | SN: 10001- |
|||
| ? | 425-963-1840 | • VALVE,WATER | 1 | SN: 10001- |
|||
| ? | 425-963-1950 | • CLAMP | 3 | SN: 10001- |
|||
| ? | 425-963-2290 | • PIPE | 2 | SN: 10001- |
|||
| ? | 425-963-2310 | • HOSE | 1 | SN: 10001- |
|||
| ? | 425-963-2320 | • CLAMP | 3 | SN: 10001- |
