k-part
Номер на схеме Каталожный номер Название Количество Детали
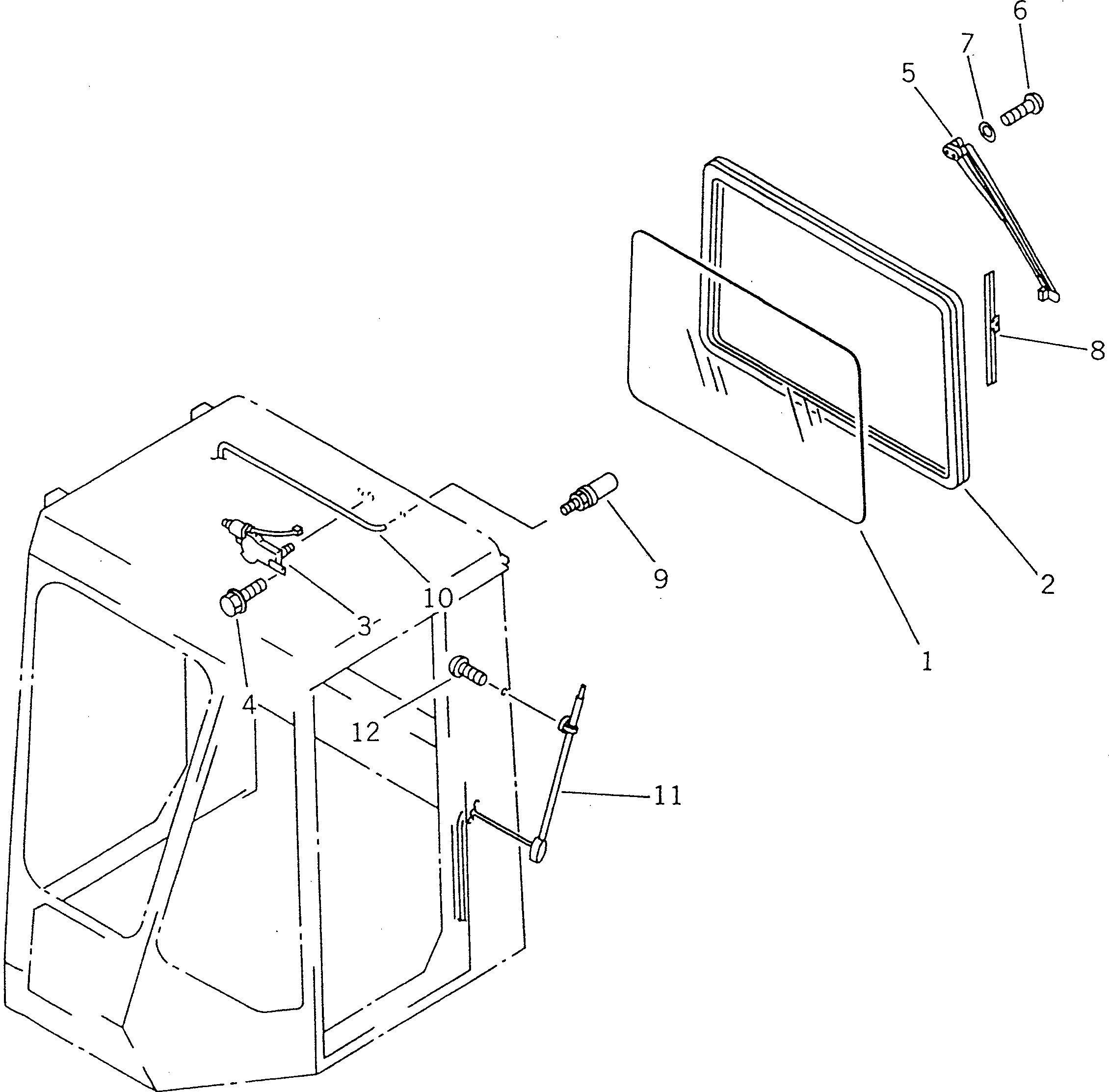
? (41K-56-11000) OPERATOR'S CAB ASS'Y 1
SN: 10001-
? THIS ASSEMBLY CONSISTS OF ALL PARTS SHOWN IN FIGS.5431 TO 5436.
? 421-56-11150 • GLASS 1
SN: 10001-
? 421-56-11160 • STRIP,WEATHER 1
SN: 10001-
? 417-54-15142 • MOTOR,WIPER 1
SN: 10001-
? 01435-00812 • BOLT 2
SN: 10001-
? 425-54-15321 • ARM,WIPER 1
SN: 10001-
? 01220-40516 • SCREW 1
SN: 10001-
? 01641-20508 • WASHER 1
SN: 10001-
? 425-54-15330 • BLADE,WIPER 1
SN: 10001-
? 419-923-1260 • NOZZLE 1
SN: 10001-
? 421-54-15440 • HOSE 1
SN: 10001-
? 201-06-21420 • ANTENNA 1
SN: 10001-
? 01220-40425 • SCREW 3
SN: 10001-

Compactors Komatsu / WF450T-1 S/N 10001-UP(wf450t-r) / OPERATOR