| Номер на схеме | Каталожный номер | Название | Количество | Детали | |||
|---|---|---|---|---|---|---|---|
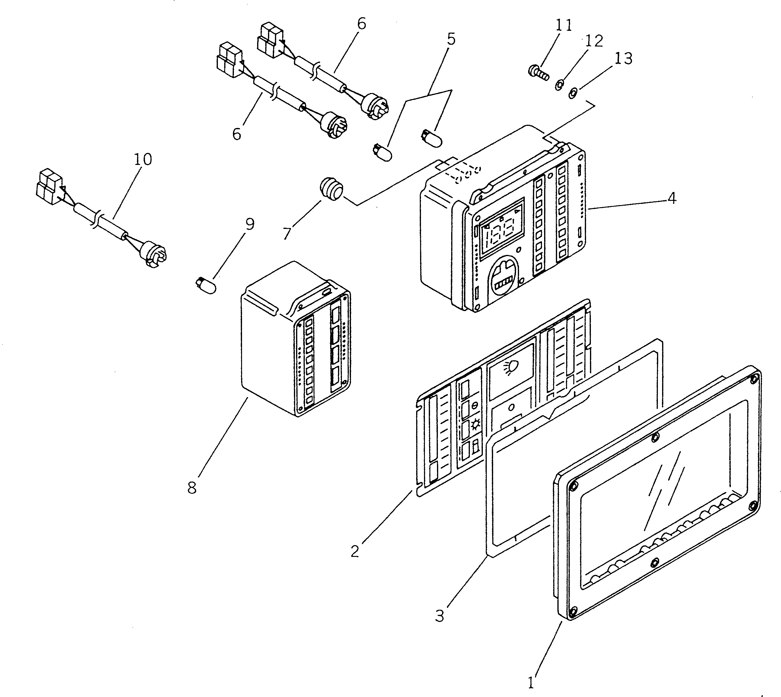
| ? | 7831-51-3000 | PANEL | 1 | SN: 10001- KIT-FLAG: _- SERIALNO: 10001- |
|||
| ? | 7831-52-4000 | PLATE,(WITHOUT EMERGENCY STEERING) | 1 | SN: 10001- KIT-FLAG: _- SERIALNO: 10001- |
|||
| ? | 7831-52-4020 | PLATE,(WITH EMERGENCY STEERING) | 1 | SN: 10001- KIT-FLAG: _- SERIALNO: 10001- |
|||
| ? | 7831-51-1910 | GASKET | 1 | SN: 10001- KIT-FLAG: _- SERIALNO: 10001- |
|||
| ? | 7831-51-5100 | MODULE ASS'Y | 1 | SN: 10001- KIT-FLAG: _- SERIALNO: 10001- |
|||
| ? | 08102-12403 | BULB, 3W | 2 | SN: 10001- KIT-FLAG: _- SERIALNO: 10001- |
|||
| ? | 7831-61-9110 | HOLDER | 2 | SN: 10001- KIT-FLAG: _- SERIALNO: 10001- |
|||
| ? | 7861-51-1630 | GROMMET | 3 | SN: 10001- KIT-FLAG: _- SERIALNO: 10001- |
|||
| ? | 7831-51-6100 | MODULE ASS'Y | 1 | SN: 10001- KIT-FLAG: _- SERIALNO: 10001- |
|||
| ? | 08102-12403 | BULB, 3W | 1 | SN: 10001- KIT-FLAG: _- SERIALNO: 10001- |
|||
| ? | 7831-61-9110 | HOLDER | 1 | SN: 10001- KIT-FLAG: _- SERIALNO: 10001- |
|||
| ? | 7861-86-1330 | SCREW | 10 | SN: 10001- KIT-FLAG: _- SERIALNO: 10001- |
|||
| ? | 01601-00410 | WASHER,SPRING | 10 | SN: 10001- KIT-FLAG: _- SERIALNO: 10001- |
|||
| ? | 01641-00405 | WASHER | 10 | SN: 10001- KIT-FLAG: _- SERIALNO: 10001- |
