k-part
Номер на схеме Каталожный номер Название Количество Детали
? 600-181-1100 AIR CLEANER ASS'Y 1
SN: 1008-
? 01602-21236 WASHER 6
SN: 1008-
? 01582-11210 NUT 6
SN: 1008-
? 6121-11-4820 GASKET 1
SN: 1008-
? 281-02-13511 BRACKET 1
SN: 1287-
? 281-02-13510 BRACKET 1
SN: 1008-1286
? 01010-51240 BOLT 3
SN: 1008-
? 01602-21236 WASHER,SPRING 3
SN: 1008-
? 01580-11210 NUT 3
SN: 1008-
? 01010-51220 BOLT 3
SN: 1008-
? 01602-21236 WASHER,SPRING 3
SN: 1008-
? 01580-11210 NUT 3
SN: 1008-
? 01642-21236 WASHER 3
SN: 1008-
? 281-02-13531 BRACKET 1
SN: 1287-
? 281-02-13530 BRACKET 1
SN: 1008-1286
? 01010-51230 BOLT 2
SN: 1287-
? 01010-31016 BOLT 2
SN: 1008-1286
? 01602-21236 WASHER,SPRING 2
SN: 1287-
? 01602-01030 WASHER,SPRING 2
SN: 1008-1286
? 01580-11210 NUT 2
SN: 1287-
? 01580-01008 NUT 2
SN: 1008-1286
? 281-02-13610 HOSE 1
SN: 1008-
? 07281-11789 CLAMP 2
SN: 1245-
? □281-02-13500 CLAMP 1
SN: 1008-1244
? 07281-11279 CLAMP 2
SN: 1245-
? □07280-02232 CLAMP 1
SN: 1008-1244
? 281-02-13460 TUBE 1
SN: 1008-
? 281-02-13620 HOSE 2
SN: 1008-
? 07281-11659 CLAMP 4
SN: 1287-
? 281-02-13630 CLAMP 4
SN: 1008-1286
? 281-02-13450 PIPE 3
SN: 1008-
? 567-02-11170 CLIP 3
SN: 1287-
? □281-02-13570 U-BOLT 3
SN: 1008-1286
? 01643-31032 WASHER 6
SN: 1008-
? 01598-11011 NUT 6
SN: 1287-
? 01599-01011 NUT 6
SN: 1008-1286
? 281-02-13550 U-BOLT 2
SN: 1008-
? 01643-31032 WASHER 4
SN: 1008-
? 01599-01011 NUT 4
SN: 1008-
? 281-02-13440 TUBE 1
SN: 1008-
? 01010-51030 BOLT 2
SN: 1287-
? 01010-51035 BOLT 2
SN: 1008-1286
? 01602-21030 WASHER,SPRING 2
SN: 1008-
? 281-02-11420 GASKET 1
SN: 1008-
? 281-02-13430 PIPE 1
SN: 1008-
? 281-02-11540 HOSE 2
SN: 1008-
? 07281-10609 CLAMP 4
SN: 1287-
? 07280-05729 CLAMP 4
SN: 1008-1286
? 01643-31232 WASHER 9
SN: 1121-
? 01643-01032 WASHER 2
SN: 1121-1286
? 281-02-13330 BRACKET 1
SN: 1287-
? 08670-50635 INDICATOR,DUST 1
SN: 1282-
? 01010-51230 BOLT 2
SN: 1287-
? 01580-11210 NUT 2
SN: 1287-
? 01602-21236 WASHER,SPRING 2
SN: 1287-
? 07834-00817 ELBOW 1
SN: 1282-1286
? 07831-00411 SLEEVE 1
SN: 1282-1286
? 07832-00410 NUT 1
SN: 1282-1286
? 07822-00403 TUBE 1
SN: 1282-1286
? 07836-00410 CONNECTOR 1
SN: 1282-1286
? 07831-00411 SLEEVE 1
SN: 1282-1286
? 07832-00410 NUT 1
SN: 1282-1286
? 08671-40010 HOSE 1
SN: 1289-

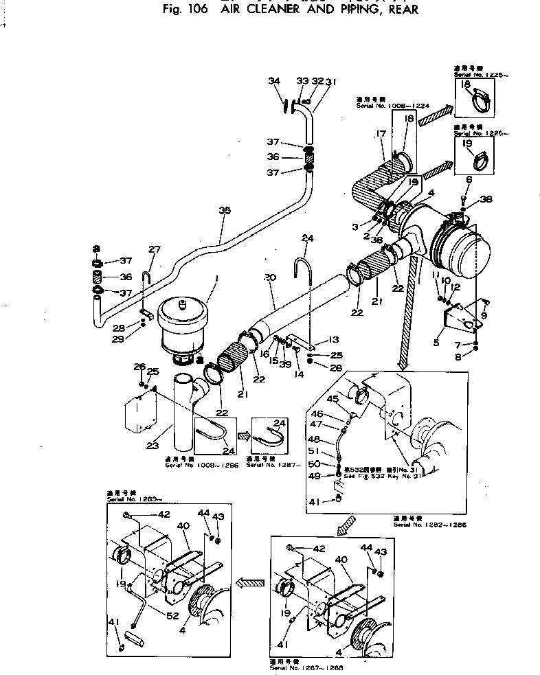
Scrappers Komatsu / WS16-2 S/N 1008-UP(ws16-2r) / AIR CLEANER AND PIPING (REAR)(030070 : 106)