k-part
Номер на схеме Каталожный номер Название Количество Детали
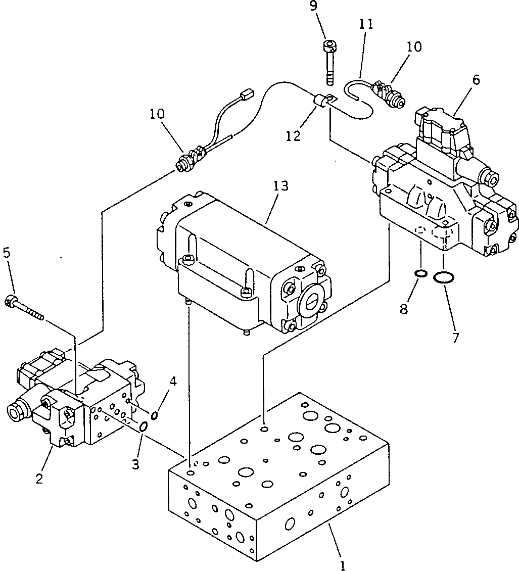
? 41D-62-13950 VALVE ASS'Y 1
SN: 10001-
KIT-FLAG: _-
SERIALNO: 10001-
? THIS ASSEMBLY CONSISTS OF ALL PARTS SHOWN IN FIGS.6251 TO 6252.
SERIALNO:
? 41D-62-23110 • MANIFOLD 1
SN: 10001-
KIT-FLAG: _-
SERIALNO: 10001-
? 41D-62-23210 • SOLENOID VALVE ASS'Y 1
SN: 10001-
KIT-FLAG: _-
SERIALNO: 10001-
? 07000-52012 • • O-RING 5
SN: 10001-
KIT-FLAG: _-
SERIALNO: 10001-
? 07000-51009 • • O-RING 2
SN: 10001-
KIT-FLAG: _-
SERIALNO: 10001-
? 01252-30635 • • BOLT 4
SN: 10001-
KIT-FLAG: _-
SERIALNO: 10001-
? 41D-62-23310 • SOLENOID VALVE ASS'Y 1
SN: 10001-
KIT-FLAG: _-
SERIALNO: 10001-
? 07000-53028 • • O-RING 4
SN: 10001-
KIT-FLAG: _-
SERIALNO: 10001-
? 07000-52020 • • O-RING 2
SN: 10001-
KIT-FLAG: _-
SERIALNO: 10001-
? 01252-31260 • • BOLT 4
SN: 10001-
KIT-FLAG: _-
SERIALNO: 10001-
? 41D-62-23120 • CAP 2
SN: 10001-
KIT-FLAG: _-
SERIALNO: 10001-
? 41E-06-12740 • WIRING HARNESS 1
SN: 10001-
KIT-FLAG: _-
SERIALNO: 10001-
? 08036-21014 • CLIP 1
SN: 10001-
KIT-FLAG: _-
SERIALNO: 10001-
? (41D-62-23410) • VALVE ASS'Y 1
SN: 10001-
KIT-FLAG: _-
SERIALNO: 10001-

Wheel Dozers Komatsu / WD600-1H S/N 10001-UP (-50cent. Spec.)(wd600-0c) / HYDRAULIC CONTROL VALVE(FOR PITCH)(1/2)(180060 : 6251)