| Номер на схеме | Каталожный номер | Название | Количество | Детали | |||
|---|---|---|---|---|---|---|---|
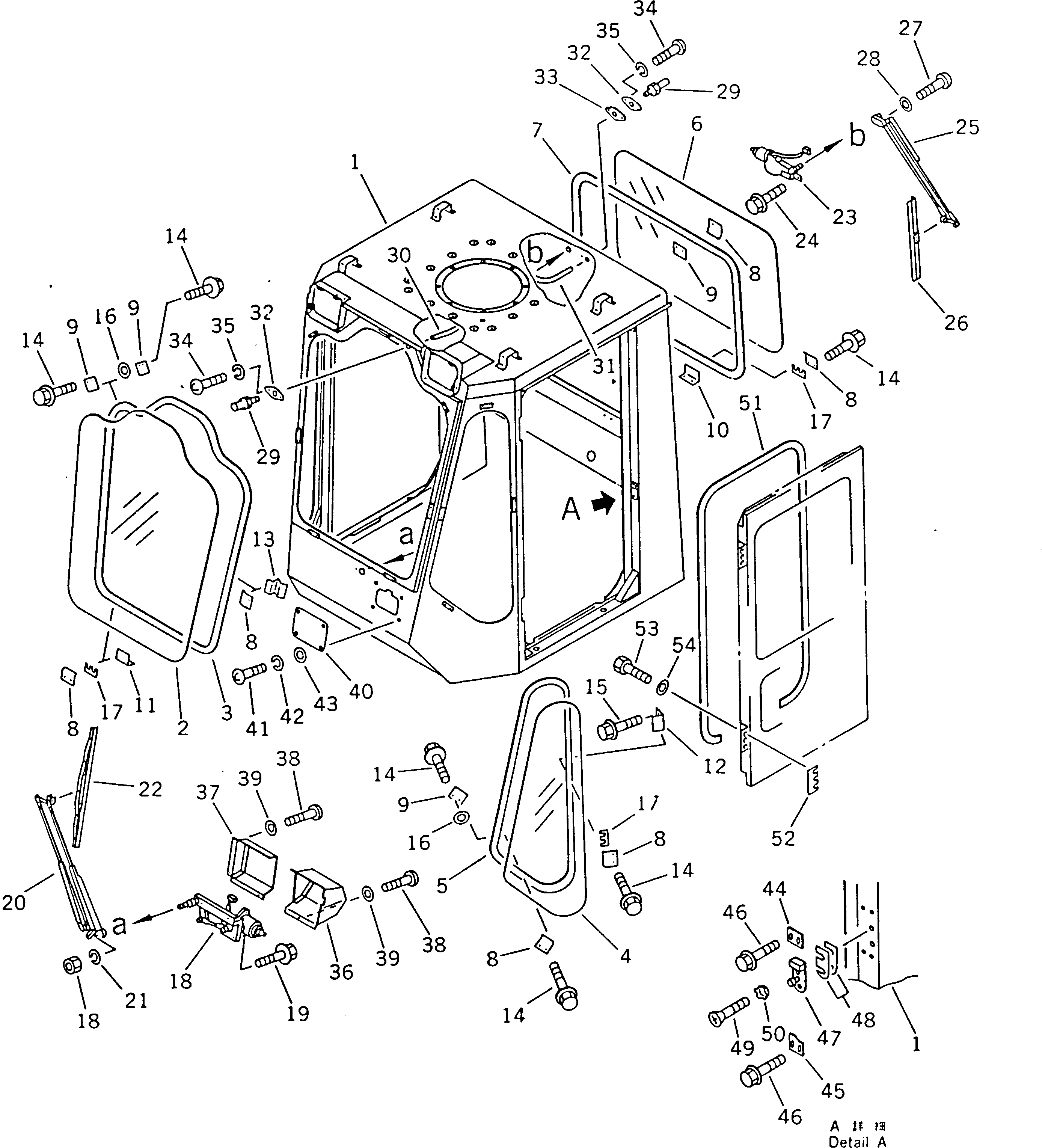
| ? | (41E-56-11001) | OPERATOR'S CAB ASS'Y | 1 | SN: 10001- KIT-FLAG: _- SERIALNO: 10001- |
|||
| ? | THIS ASSEMBLY CONSISTS OF ALL PARTS SHOWN IN FIGS.5441 TO 5445. | SERIALNO: |
|||||
| ? | (41E-56-11510) | • CAB ASS'Y | 1 | SN: 10001- KIT-FLAG: _- SERIALNO: 10001- |
|||
| ? | THIS ASSEMBLY CONSISTS OF ALL PARTS SHOWN IN FIGS.5442 TO 5445. | SERIALNO: |
|||||
| ? | ☆ | • • CAB | 1 | SN: 10001- KIT-FLAG: _- SERIALNO: 10001- |
|||
| ? | 41E-56-11460 | • • GLASS,FRONT | 1 | SN: 10001- KIT-FLAG: _- SERIALNO: 10001- |
|||
| ? | 09413-00390 | • • STRIP,WEATHER | 1 | SN: 10001- KIT-FLAG: _- SERIALNO: 10001- |
|||
| ? | 41E-56-11470 | • • GLASS,SIDE | 2 | SN: 10001- KIT-FLAG: _- SERIALNO: 10001- |
|||
| ? | 09413-00300 | • • STRIP,WEATHER | 2 | SN: 10001- KIT-FLAG: _- SERIALNO: 10001- |
|||
| ? | 41E-56-11430 | • • GLASS,BACK | 1 | SN: 10001- KIT-FLAG: _- SERIALNO: 10001- |
|||
| ? | 09413-00370 | • • STRIP,WEATHER | 1 | SN: 10001- KIT-FLAG: _- SERIALNO: 10001- |
|||
| ? | 41E-56-11540 | • • PLATE | 17 | SN: 10001- KIT-FLAG: _- SERIALNO: 10001- |
|||
| ? | 41E-56-11550 | • • PLATE | 13 | SN: 10001- KIT-FLAG: _- SERIALNO: 10001- |
|||
| ? | 41E-56-11730 | • • PLATE | 4 | SN: 10001- KIT-FLAG: _- SERIALNO: 10001- |
|||
| ? | 41E-56-11740 | • • PLATE | 2 | SN: 10001- KIT-FLAG: _- SERIALNO: 10001- |
|||
| ? | 41E-56-11750 | • • PLATE | 2 | SN: 10001- KIT-FLAG: _- SERIALNO: 10001- |
|||
| ? | 41E-56-11760 | • • PLATE | 2 | SN: 10001- KIT-FLAG: _- SERIALNO: 10001- |
|||
| ? | 01435-00816 | • • BOLT | 72 | SN: 10001- KIT-FLAG: _- SERIALNO: 10001- |
|||
| ? | 01435-00812 | • • BOLT | 4 | SN: 10001- KIT-FLAG: _- SERIALNO: 10001- |
|||
| ? | 01640-20816 | • • WASHER | 18 | SN: 10001- KIT-FLAG: _- SERIALNO: 10001- |
|||
| ? | 41E-56-11790 | • • SHIM | 30 | SN: 10001- KIT-FLAG: _- SERIALNO: 10001- |
|||
| ? | 41E-56-11150 | • • MOTOR,WIPER, FRONT | 1 | SN: 10001- KIT-FLAG: _- SERIALNO: 10001- |
|||
| ? | 01435-00616 | • • BOLT | 4 | SN: 10001- KIT-FLAG: _- SERIALNO: 10001- |
|||
| ? | 426-54-15232 | • • ARM,WIPER | 1 | SN: 10001- KIT-FLAG: _- SERIALNO: 10001- |
|||
| ? | 01602-21030 | • • WASHER,SPRING | 1 | SN: 10001- KIT-FLAG: _- SERIALNO: 10001- |
|||
| ? | 425-54-15250 | • • BLADE,WIPER | 1 | SN: 10001- KIT-FLAG: _- SERIALNO: 10001- |
|||
| ? | 427-56-11640 | • • MOTOR,WIPER, REAR | 1 | SN: 10001- KIT-FLAG: _- SERIALNO: 10001- |
|||
| ? | 01435-00812 | • • BOLT | 2 | SN: 10001- KIT-FLAG: _- SERIALNO: 10001- |
|||
| ? | 425-54-15320 | • • ARM,WIPER | 1 | SN: 10001- KIT-FLAG: _- SERIALNO: 10001- |
|||
| ? | 425-54-15330 | • • BLADE,WIPER | 1 | SN: 10001- KIT-FLAG: _- SERIALNO: 10001- |
|||
| ? | 01220-40516 | • • SCREW | 1 | SN: 10001- KIT-FLAG: _- SERIALNO: 10001- |
|||
| ? | 01641-20508 | • • WASHER | 1 | SN: 10001- KIT-FLAG: _- SERIALNO: 10001- |
|||
| ? | 419-923-1260 | • • NOZZLE | 2 | SN: 10001- KIT-FLAG: _- SERIALNO: 10001- |
|||
| ? | 07270-50437 | • • TUBE | A/R | SN: 10001- KIT-FLAG: _- SERIALNO: 10001- |
|||
| ? | 07270-50427 | • • TUBE | A/R | SN: 10001- KIT-FLAG: _- SERIALNO: 10001- |
|||
| ? | 421-54-15421 | • • PLATE | 2 | SN: 10001- KIT-FLAG: _- SERIALNO: 10001- |
|||
| ? | 425-54-15790 | • • PLATE | 1 | SN: 10001- KIT-FLAG: _- SERIALNO: 10001- |
|||
| ? | 01220-40516 | • • SCREW | 4 | SN: 10001- KIT-FLAG: _- SERIALNO: 10001- |
|||
| ? | 01601-20513 | • • WASHER,SPRING | 4 | SN: 10001- KIT-FLAG: _- SERIALNO: 10001- |
|||
| ? | 427-56-11170 | • • COVER,L.H. | 1 | SN: 10001- KIT-FLAG: _- SERIALNO: 10001- |
|||
| ? | 427-56-11180 | • • COVER,R.H. | 1 | SN: 10001- KIT-FLAG: _- SERIALNO: 10001- |
|||
| ? | 01220-40512 | • • SCREW | 7 | SN: 10001- KIT-FLAG: _- SERIALNO: 10001- |
|||
| ? | 01642-20508 | • • WASHER | 7 | SN: 10001- KIT-FLAG: _- SERIALNO: 10001- |
|||
| ? | 425-54-15950 | • • PLATE | 1 | SN: 10001- KIT-FLAG: _- SERIALNO: 10001- |
|||
| ? | 01220-40616 | • • SCREW | 4 | SN: 10001- KIT-FLAG: _- SERIALNO: 10001- |
|||
| ? | 01602-20619 | • • WASHER,SPRING | 4 | SN: 10001- KIT-FLAG: _- SERIALNO: 10001- |
|||
| ? | 01641-20608 | • • WASHER | 4 | SN: 10001- KIT-FLAG: _- SERIALNO: 10001- |
|||
| ? | 425-54-15680 | • • PLATE | 2 | SN: 10001- KIT-FLAG: _- SERIALNO: 10001- |
|||
| ? | 425-54-15690 | • • PLATE | 2 | SN: 10001- KIT-FLAG: _- SERIALNO: 10001- |
|||
| ? | 01435-00816 | • • BOLT | 8 | SN: 10001- KIT-FLAG: _- SERIALNO: 10001- |
|||
| ? | 421-54-15740 | • • STRIKER,L.H. | 1 | SN: 10001- KIT-FLAG: _- SERIALNO: 10001- |
|||
| ? | 421-54-15750 | • • STRIKER,R.H. | 1 | SN: 10001- KIT-FLAG: _- SERIALNO: 10001- |
|||
| ? | 419-54-15690 | • • PLATE,ADJUSTMENT | 4 | SN: 10001- KIT-FLAG: _- SERIALNO: 10001- |
|||
| ? | 01224-40820 | • • SCREW | 4 | SN: 10001- KIT-FLAG: _- SERIALNO: 10001- |
|||
| ? | 421-54-15760 | • • WASHER | 4 | SN: 10001- KIT-FLAG: _- SERIALNO: 10001- |
|||
| ? | 421-54-15730 | • • SEAL,DOOR | 2 | SN: 10001- KIT-FLAG: _- SERIALNO: 10001- |
|||
| ? | 423-54-15750 | • • SHIM, 0.5MM | 16 | SN: 10001- KIT-FLAG: _- SERIALNO: 10001- |
|||
| ? | 01010-50820 | • • BOLT | 12 | SN: 10001- KIT-FLAG: _- SERIALNO: 10001- |
|||
| ? | 01643-30823 | • • WASHER | 12 | SN: 10001- KIT-FLAG: _- SERIALNO: 10001- |
