| Номер на схеме | Каталожный номер | Название | Количество | Детали | |||
|---|---|---|---|---|---|---|---|
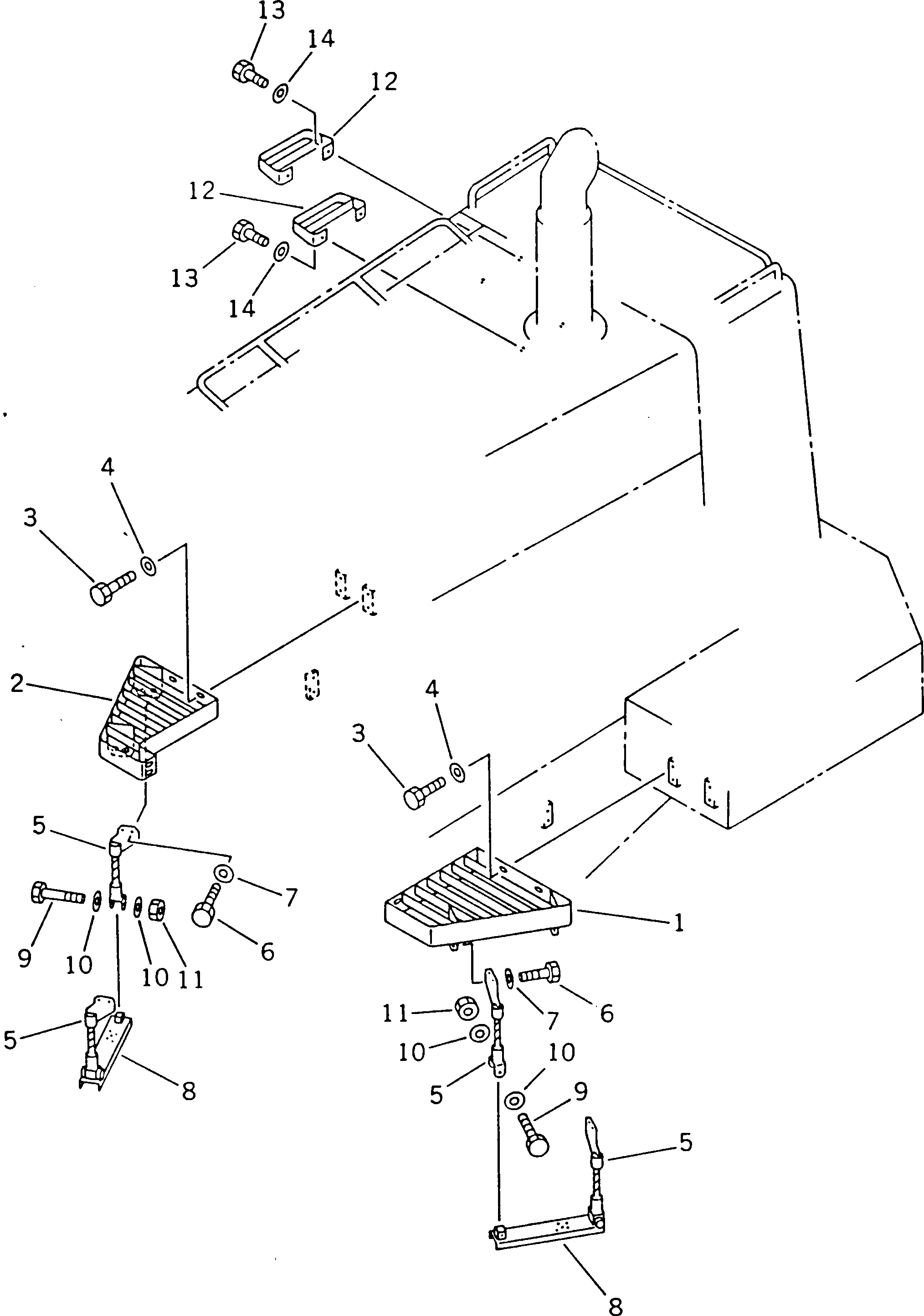
| ? | 41E-54-14260 | STEP,L.H. | 1 | SN: 10001- KIT-FLAG: _- SERIALNO: 10001- |
|||
| ? | 41E-54-14270 | STEP,R.H. | 1 | SN: 10001- KIT-FLAG: _- SERIALNO: 10001- |
|||
| ? | 01010-51225 | BOLT | 12 | SN: 10001- KIT-FLAG: _- SERIALNO: 10001- |
|||
| ? | 01643-31232 | WASHER | 12 | SN: 10001- KIT-FLAG: _- SERIALNO: 10001- |
|||
| ? | 423-54-14260 | ROPE | 4 | SN: 10001- KIT-FLAG: _- SERIALNO: 10001- |
|||
| ? | 01010-81030 | BOLT | 8 | SN: .- KIT-FLAG: _- SERIALNO: .- |
|||
| ? | ♦01010-51030 | BOLT | 8 | SN: 10001-. KIT-FLAG: _- SERIALNO: 10001-. |
|||
| ? | 01643-31032 | WASHER | 8 | SN: 10001- KIT-FLAG: _- SERIALNO: 10001- |
|||
| ? | 427-54-12151 | STEP | 2 | SN: 10169- KIT-FLAG: _- SERIALNO: 10169- |
|||
| ? | 427-54-12150 | STEP | 2 | SN: 10001-10168 KIT-FLAG: _- SERIALNO: 10001-10168 |
|||
| ? | 01010-81265 | BOLT | 4 | SN: .- KIT-FLAG: _- SERIALNO: .- |
|||
| ? | ♦01010-51265 | BOLT | 4 | SN: 10001-. KIT-FLAG: _- SERIALNO: 10001-. |
|||
| ? | 01643-31232 | WASHER | 8 | SN: 10001- KIT-FLAG: _- SERIALNO: 10001- |
|||
| ? | 01596-01211 | NUT | 4 | SN: .- KIT-FLAG: _- SERIALNO: .- |
|||
| ? | ♦426-43-19150 | NUT,LOCK | 4 | SN: 10001-. KIT-FLAG: _- SERIALNO: 10001-. |
|||
| ? | 427-54-12160 | STEP | 2 | SN: 10001- KIT-FLAG: _- SERIALNO: 10001- |
|||
| ? | 01010-81230 | BOLT | 4 | SN: .- KIT-FLAG: _- SERIALNO: .- |
|||
| ? | ♦01010-51230 | BOLT | 4 | SN: 10001-. KIT-FLAG: _- SERIALNO: 10001-. |
|||
| ? | 01643-31232 | WASHER | 4 | SN: 10001- KIT-FLAG: _- SERIALNO: 10001- |
