k-part
Номер на схеме Каталожный номер Название Количество Детали
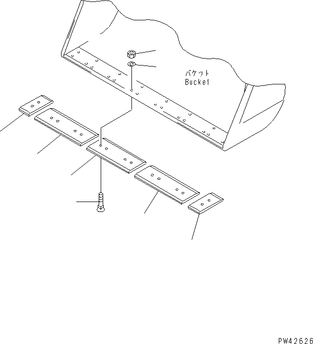
? CUTTING EDGE
SERIALNO:
? 426-815-1110 EDGE,CENTER 1
SN: 50001-
KIT-FLAG: _-
SERIALNO: 50001-
? 426-815-1120 EDGE,SIDE 2
SN: 50001-
KIT-FLAG: _-
SERIALNO: 50001-
? 426-815-1130 EDGE,END 2
SN: 50001-
KIT-FLAG: _-
SERIALNO: 50001-
? 02091-12030 BOLT 16
SN: 50001-
KIT-FLAG: _-
SERIALNO: 50001-
? 01643-33380 WASHER 16
SN: 50001-
KIT-FLAG: _-
SERIALNO: 50001-
? 02290-12031 NUT 16
SN: 50001-
KIT-FLAG: _-
SERIALNO: 50001-

Wheel Loaders Komatsu / WA600-3 S/N 50001-UP(wa600-6c) / BOLT ON CUTTING EDGE(360610 : T4122-01A0)
?
?
?
?
?
?
?
?