k-part
Номер на схеме Каталожный номер Название Количество Детали
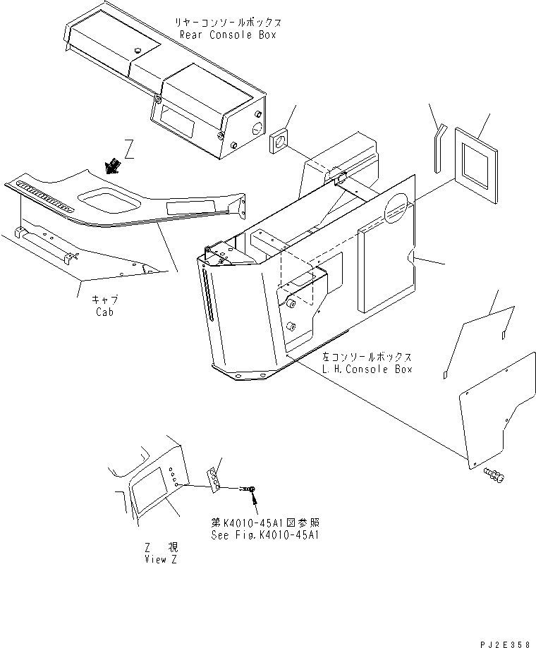
? 421-07-23530 SHEET 1
SN: 51001-
KIT-FLAG: _-
SERIALNO: 51001-
? 421-07-28310 SHEET 1
SN: 51001-
KIT-FLAG: _-
SERIALNO: 51001-
? 421-07-21330 FINISHER 1
SN: 51001-
KIT-FLAG: _-
SERIALNO: 51001-
? 419-Z90-2940 SHEET 1
SN: 51001-
KIT-FLAG: _-
SERIALNO: 51001-
? 421-09-21420 SHEET 2
SN: 51001-
KIT-FLAG: _-
SERIALNO: 51001-
? 428-54-22950 COVER,L.H. 1
SN: 51001-
KIT-FLAG: _-
SERIALNO: 51001-
? 428-93-21270 PLATE 1
SN: 51001-
KIT-FLAG: _-
SERIALNO: 51001-

Wheel Loaders Komatsu / WA700-3 S/N 50001-UP (KA Spec.)(wa700-4c) / FLOOR (CONSOLE BOX RELATED PARTS) (WITH ADVANCED JOY STICK STEERING)(#51001-51074)(241280 : K4010-25A1)
?
?
?
?
?
?
?
?