| Номер на схеме | Каталожный номер | Название | Количество | Детали | |||
|---|---|---|---|---|---|---|---|
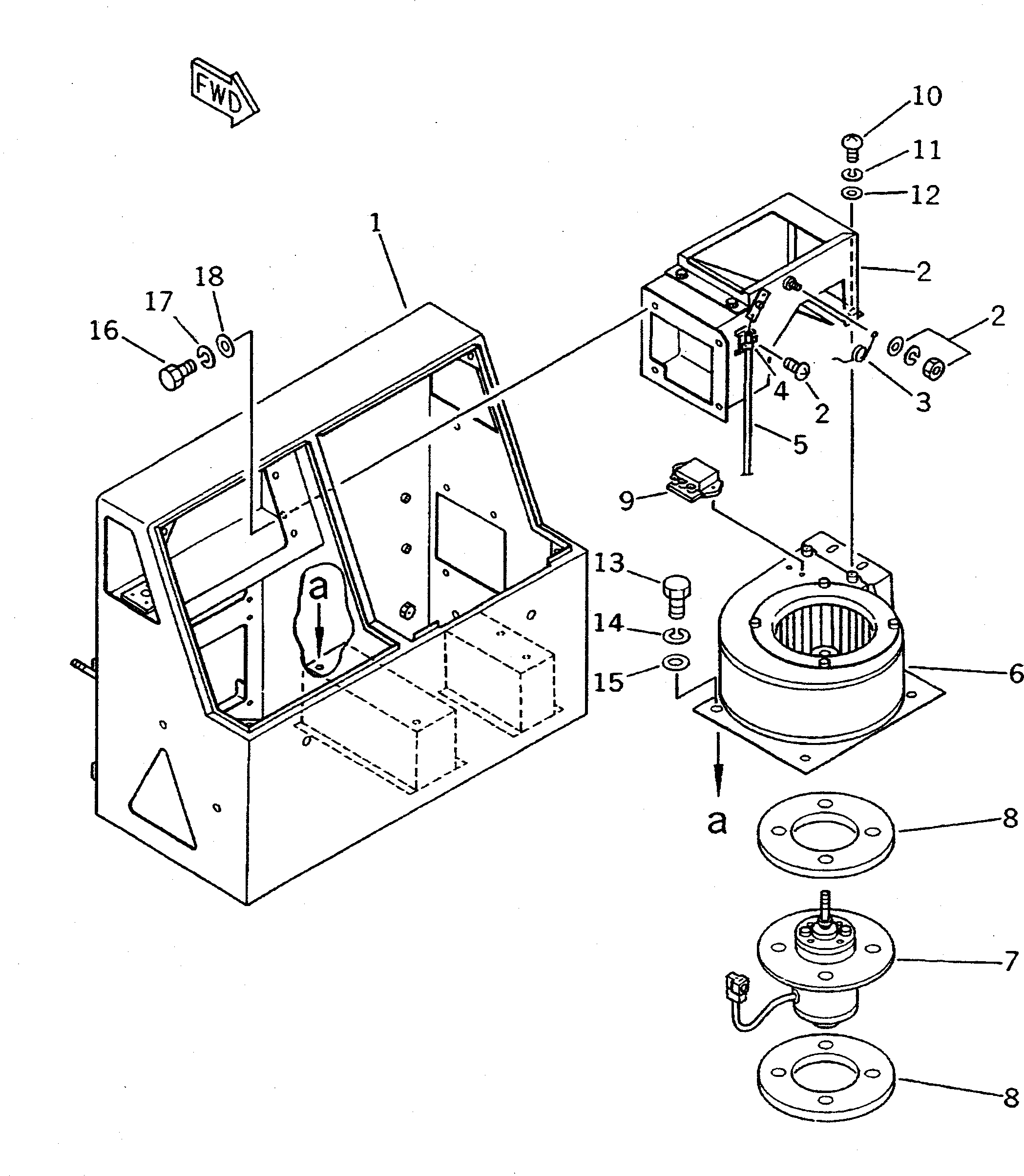
| ? | (426-07-13100) | CAR HEATER ASS'Y | 1 | SN: 10001- KIT-FLAG: _- SERIALNO: 10001- |
|||
| ? | SERIALNO: |
||||||
| ? | ☆ | • BOX | 1 | SN: 10001- KIT-FLAG: _- SERIALNO: 10001- |
|||
| ? | 425-07-11330 | • DAMPER ASS'Y | 1 | SN: 10001- KIT-FLAG: _- SERIALNO: 10001- |
|||
| ? | 425-07-11750 | • • SPRING | 1 | SN: 10001- KIT-FLAG: _- SERIALNO: 10001- |
|||
| ? | 425-07-11760 | • • CLIP | 1 | SN: 10001- KIT-FLAG: _- SERIALNO: 10001- |
|||
| ? | 425-07-11510 | • WIRE | 1 | SN: 10001- KIT-FLAG: _- SERIALNO: 10001- |
|||
| ? | 425-07-11390 | • BLOWER ASS'Y | 1 | SN: 10001- KIT-FLAG: _- SERIALNO: 10001- |
|||
| ? | 425-07-11810 | • • MOTOR ASS'Y | 1 | SN: 10001- KIT-FLAG: _- SERIALNO: 10001- |
|||
| ? | 425-07-11820 | • • RUBBER | 2 | SN: 10001- KIT-FLAG: _- SERIALNO: 10001- |
|||
| ? | 425-07-11830 | • • RESISTOR ASS'Y | 1 | SN: 10001- KIT-FLAG: _- SERIALNO: 10001- |
|||
| ? | 01220-40508 | • SCREW | 2 | SN: 10001- KIT-FLAG: _- SERIALNO: 10001- |
|||
| ? | 01601-20513 | • WASHER,SPRING | 2 | SN: 10001- KIT-FLAG: _- SERIALNO: 10001- |
|||
| ? | 01642-20508 | • WASHER | 2 | SN: 10001- KIT-FLAG: _- SERIALNO: 10001- |
|||
| ? | 01010-51225 | • BOLT | 4 | SN: 10001- KIT-FLAG: _- SERIALNO: 10001- |
|||
| ? | 01602-21236 | • WASHER,SPRING | 4 | SN: 10001- KIT-FLAG: _- SERIALNO: 10001- |
|||
| ? | 01642-21216 | • WASHER | 4 | SN: 10001- KIT-FLAG: _- SERIALNO: 10001- |
|||
| ? | 01010-50816 | • BOLT | 4 | SN: 10001- KIT-FLAG: _- SERIALNO: 10001- |
|||
| ? | 01602-20825 | • WASHER,SPRING | 4 | SN: 10001- KIT-FLAG: _- SERIALNO: 10001- |
|||
| ? | 01642-20810 | • WASHER | 4 | SN: 10001- KIT-FLAG: _- SERIALNO: 10001- |
