| Номер на схеме | Каталожный номер | Название | Количество | Детали | |||
|---|---|---|---|---|---|---|---|
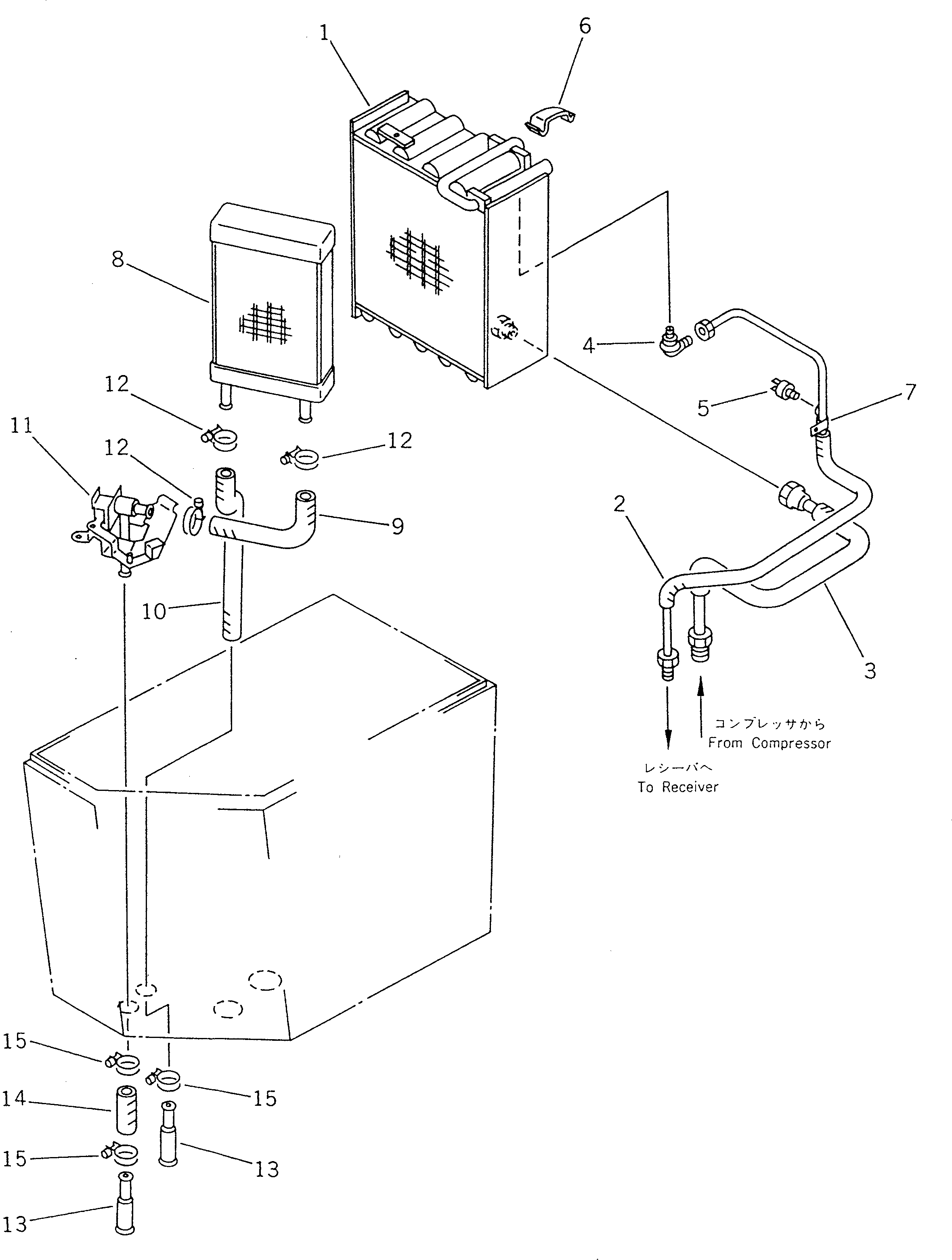
| ? | (425-S61-1110) | AIR CONDITIONER A.,(R134A) | 1 | SN: 11342- KIT-FLAG: _- SERIALNO: 11342- |
|||
| ? | THIS ASSEMBLY CONSISTS OF ALL PARTS SHOWN IN FIGS.5631A AND 5632A. | SERIALNO: |
|||||
| ? | 425-S61-1220 | • EVAPORATOR,(R134A) | 1 | SN: 11342- KIT-FLAG: _- SERIALNO: 11342- |
|||
| ? | 425-S61-1230 | • TUBE,LIQUID (R134A) | 1 | SN: 11342- KIT-FLAG: _- SERIALNO: 11342- |
|||
| ? | 425-S61-1240 | • TUBE,SUCTION (R134A) | 1 | SN: 11342- KIT-FLAG: _- SERIALNO: 11342- |
|||
| ? | 425-S61-1250 | • VALVE,EXPANSION (R134A) | 1 | SN: 11342- KIT-FLAG: _- SERIALNO: 11342- |
|||
| ? | 421-07-21810 | • SWITCH,PRESSURE (R134A) | 1 | SN: 11342- KIT-FLAG: _- SERIALNO: 11342- |
|||
| ? | 425-963-2230 | • CLIP,HOLDING | 1 | SN: 10001- KIT-FLAG: _- SERIALNO: 10001- |
|||
| ? | 425-963-2240 | • CLAMP | 1 | SN: 10001- KIT-FLAG: _- SERIALNO: 10001- |
|||
| ? | 425-963-1660 | • HEATER COIL ASS'Y | 1 | SN: 10001- KIT-FLAG: _- SERIALNO: 10001- |
|||
| ? | 425-963-1730 | • HOSE,WATER | 1 | SN: 10001- KIT-FLAG: _- SERIALNO: 10001- |
|||
| ? | 425-963-1740 | • HOSE,WATER | 1 | SN: 10001- KIT-FLAG: _- SERIALNO: 10001- |
|||
| ? | 425-963-1840 | • VALVE,WATER | 1 | SN: 10001- KIT-FLAG: _- SERIALNO: 10001- |
|||
| ? | 425-963-1950 | • CLAMP | 3 | SN: 10001- KIT-FLAG: _- SERIALNO: 10001- |
|||
| ? | 425-963-2290 | • PIPE | 2 | SN: 10001- KIT-FLAG: _- SERIALNO: 10001- |
|||
| ? | 425-963-2310 | • HOSE | 1 | SN: 10001- KIT-FLAG: _- SERIALNO: 10001- |
|||
| ? | 425-963-2320 | • CLAMP | 3 | SN: 11342- KIT-FLAG: _- SERIALNO: 11342- |
